Application Level Tracing Library

[中文]

Overview

ESP-IDF provides a useful feature for program behavior analysis: application level tracing. It is implemented in the corresponding library and can be enabled in menuconfig. This feature allows to transfer arbitrary data between host and ESP32-P4 via JTAG, UART, or USB interfaces with small overhead on program execution. It is possible to use JTAG and UART interfaces simultaneously. The UART interface is mostly used for connection with SEGGER SystemView tool (see SystemView).

Developers can use this library to send application-specific state of execution to the host and receive commands or other types of information from the opposite direction at runtime. The main use cases of this library are:

  1. Collecting application-specific data. See Application Specific Tracing.

  2. Lightweight logging to the host. See Logging to Host.

  3. System behavior analysis. See System Behavior Analysis with SEGGER SystemView.

  4. Source code coverage. See Gcov (Source Code Coverage).

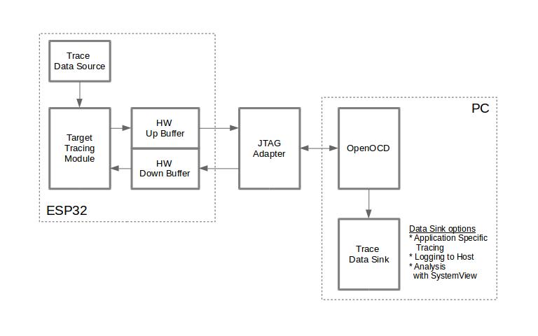
Tracing components used when working over JTAG interface are shown in the figure below.

Tracing Components When Working Over JTAG

Tracing Components Used When Working Over JTAG

Modes of Operation

The library supports two modes of operation:

Post-mortem mode: This is the default mode. The mode does not need interaction with the host side. In this mode, tracing module does not check whether the host has read all the data from HW UP BUFFER, but directly overwrites old data with the new ones. This mode is useful when only the latest trace data is interesting to the user, e.g., for analyzing program's behavior just before the crash. The host can read the data later on upon user request, e.g., via special OpenOCD command in case of working via JTAG interface.

Streaming mode: Tracing module enters this mode when the host connects to ESP32-P4. In this mode, before writing new data to HW UP BUFFER, the tracing module checks that whether there is enough space in it and if necessary, waits for the host to read data and free enough memory. Maximum waiting time is controlled via timeout values passed by users to corresponding API routines. So when application tries to write data to the trace buffer using the finite value of the maximum waiting time, it is possible that this data will be dropped. This is especially true for tracing from time critical code (ISRs, OS scheduler code, etc.) where infinite timeouts can lead to system malfunction.

Configuration Options and Dependencies

Using of this feature depends on two components:

  1. Host side: Application tracing is done over JTAG, so it needs OpenOCD to be set up and running on host machine. For instructions on how to set it up, please see JTAG Debugging for details.

  2. Target side: Application tracing functionality can be enabled in menuconfig. Important: You must first enable application tracing by going to Component config > Application Level Tracing > Enable Application Level Tracing (CONFIG_APPTRACE_ENABLE). After enabling this option, you can configure the destination for the trace data. For UART interfaces, users have to define port number, baud rate, TX and RX pins numbers, and additional UART-related parameters. When FreeRTOS SystemView Tracing is enabled, selected destination will be used for systemview tracing as well.

Note

In order to achieve higher data rates and minimize the number of dropped packets, it is recommended to optimize the setting of JTAG clock frequency, so that it is at maximum and still provides stable operation of JTAG. See Optimize JTAG Speed.

There are some additional menuconfig options not mentioned above:

  1. Threshold for flushing last trace data to host on panic (CONFIG_APPTRACE_POSTMORTEM_FLUSH_THRESH). This option is necessary due to the nature of working over JTAG. In this mode, trace data is exposed to the host in 16 KB blocks. In post-mortem mode, when one block is filled, it is exposed to the host and the previous one becomes unavailable. In other words, the trace data is overwritten in 16 KB granularity. On panic, the latest data from the current input block is exposed to the host and the host can read them for post-analysis. System panic may occur when a very small amount of data are not exposed to the host yet. In this case, the previous 16 KB of collected data will be lost and the host will see the latest, but very small piece of the trace. It can be insufficient to diagnose the problem. This menuconfig option allows avoiding such situations. It controls the threshold for flushing data in case of apanic. For example, users can decide that it needs no less than 512 bytes of the recent trace data, so if there is less then 512 bytes of pending data at the moment of panic, they will not be flushed and will not overwrite the previous 16 KB. The option is only meaningful in post-mortem mode and when working over JTAG.

  2. Timeout for flushing last trace data to host on panic (CONFIG_APPTRACE_ONPANIC_HOST_FLUSH_TMO). The option is only meaningful in streaming mode and it controls the maximum time that the tracing module will wait for the host to read the last data in case of panic.

  3. Internal Sync Lock (CONFIG_APPTRACE_LOCK_ENABLE). Enable this option to protect trace buffer writes with locks, preventing data corruption when multiple tasks generate trace data concurrently.

  4. UART RX/TX ring buffer size (CONFIG_APPTRACE_UART_TX_BUFF_SIZE). The size of the buffer depends on the amount of data transferred through the UART.

  5. UART TX message size (CONFIG_APPTRACE_UART_TX_MSG_SIZE). The maximum size of the single message to transfer.

How to Use This Library

This library provides APIs for transferring arbitrary data between the host and ESP32-P4. When enabled in menuconfig, the application tracing module is automatically initialized during system startup using configuration from menuconfig. Users can then call corresponding APIs to send, receive, or flush the data.

Optionally, users can override the default configuration by implementing the weak callback function esp_apptrace_get_user_params().

Application Specific Tracing

In general, users should decide what type of data should be transferred in every direction and how these data must be interpreted (processed). The following steps must be performed to transfer data between the target and the host:

  1. Configuration: Application tracing is automatically initialized during system startup using configuration from menuconfig. If you need to override the default configuration at runtime (e.g., to use custom UART pins), implement the esp_apptrace_get_user_params() callback:

    #include "esp_app_trace.h"
    
    esp_apptrace_config_t *esp_apptrace_get_user_params(void)
    {
        esp_apptrace_config_t config = APPTRACE_CONFIG_DEFAULT();
    
        // Customize configuration if needed
        // For example, to use different UART pins:
        config.dest_cfg.uart.tx_pin_num = GPIO_NUM_17;
        config.dest_cfg.uart.rx_pin_num = GPIO_NUM_16;
    
        return config;
    }
    

    Note

    This callback is optional. Only implement it if you need to override menuconfig settings. For most use cases, configuring through menuconfig is sufficient.

  2. On the target side, users should implement algorithms for writing trace data to the host. Piece of code below shows an example on how to do this.

    #include "esp_app_trace.h"
    ...
    char buf[] = "Hello World!";
    esp_err_t res = esp_apptrace_write(buf, strlen(buf), ESP_APPTRACE_TMO_INFINITE);
    if (res != ESP_OK) {
        ESP_LOGE(TAG, "Failed to write data to host!");
        return res;
    }
    

    esp_apptrace_write() function uses memcpy to copy user data to the internal buffer. In some cases, it can be more optimal to use esp_apptrace_buffer_get() and esp_apptrace_buffer_put() functions. They allow developers to allocate buffer and fill it themselves. The following piece of code shows how to do this.

    #include "esp_app_trace.h"
    ...
    int number = 10;
    char *ptr = (char *)esp_apptrace_buffer_get(32, 100/*tmo in us*/);
    if (ptr == NULL) {
        ESP_LOGE(TAG, "Failed to get buffer!");
        return ESP_FAIL;
    }
    sprintf(ptr, "Here is the number %d", number);
    esp_err_t res = esp_apptrace_buffer_put(ptr, 100/*tmo in us*/);
    if (res != ESP_OK) {
        /* in case of error host tracing tool (e.g., OpenOCD) will report incomplete user buffer */
        ESP_LOGE(TAG, "Failed to put buffer!");
        return res;
    }
    

    Also according to his needs, the user may want to receive data from the host. Piece of code below shows an example on how to do this.

    #include "esp_app_trace.h"
    ...
    char buf[32];
    char down_buf[32];
    size_t sz = sizeof(buf);
    
    /* config down buffer */
    esp_err_t res = esp_apptrace_down_buffer_config(down_buf, sizeof(down_buf));
    if (res != ESP_OK) {
        ESP_LOGE(TAG, "Failed to config down buffer!");
        return res;
    }
    /* check for incoming data and read them if any */
    res = esp_apptrace_read(buf, &sz, 0/*do not wait*/);
    if (res != ESP_OK) {
        ESP_LOGE(TAG, "Failed to read data from host!");
        return res;
    }
    if (sz > 0) {
        /* we have data, process them */
        ...
    }
    

    esp_apptrace_read() function uses memcpy to copy host data to user buffer. In some casesm it can be more optimal to use esp_apptrace_down_buffer_get() and esp_apptrace_down_buffer_put() functions. They allow developers to occupy chunk of read buffer and process it in-place. The following piece of code shows how to do this.

    #include "esp_app_trace.h"
    ...
    char down_buf[32];
    uint32_t *number;
    size_t sz = 32;
    
    /* config down buffer */
    esp_err_t res = esp_apptrace_down_buffer_config(down_buf, sizeof(down_buf));
    if (res != ESP_OK) {
        ESP_LOGE(TAG, "Failed to config down buffer!");
        return res;
    }
    char *ptr = (char *)esp_apptrace_down_buffer_get(&sz, 100/*tmo in us*/);
    if (ptr == NULL) {
        ESP_LOGE(TAG, "Failed to get buffer!");
        return ESP_FAIL;
    }
    if (sz > 4) {
        number = (uint32_t *)ptr;
        printf("Here is the number %d", *number);
    } else {
        printf("No data");
    }
    res = esp_apptrace_down_buffer_put(ptr, 100/*tmo in us*/);
    if (res != ESP_OK) {
        /* in case of error host tracing tool (e.g., OpenOCD) will report incomplete user buffer */
        ESP_LOGE(TAG, "Failed to put buffer!");
        return res;
    }
    
  3. The next step is to build the program image and download it to the target as described in the Getting Started Guide.

  4. Run OpenOCD (see JTAG Debugging).

  5. Connect to OpenOCD telnet server. It can be done using the following command in terminal telnet <oocd_host> 4444. If telnet session is opened on the same machine which runs OpenOCD, you can use localhost as <oocd_host> in the command above.

  6. Start trace data collection using special OpenOCD command. This command will transfer tracing data and redirect them to the specified file or socket (currently only files are supported as trace data destination). For description of the corresponding commands, see OpenOCD Application Level Tracing Commands.

  7. The final step is to process received data. Since the format of data is defined by users, the processing stage is out of the scope of this document. Good starting points for data processor are python scripts in $IDF_PATH/tools/esp_app_trace: apptrace_proc.py (used for feature tests) and logtrace_proc.py (see more details in section Logging to Host).

OpenOCD Application Level Tracing Commands

HW UP BUFFER is shared between user data blocks and the filling of the allocated memory is performed on behalf of the API caller (in task or ISR context). In multithreading environment, it can happen that the task/ISR which fills the buffer is preempted by another high priority task/ISR. So it is possible that the user data preparation process is not completed at the moment when that chunk is read by the host. To handle such conditions, the tracing module prepends all user data chunks with header which contains the allocated user buffer size (2 bytes) and the length of the actually written data (2 bytes). So the total length of the header is 4 bytes. OpenOCD command which reads trace data reports error when it reads incomplete user data chunk, but in any case, it puts the contents of the whole user chunk (including unfilled area) to the output file.

Below is the description of available OpenOCD application tracing commands.

Note

Currently, OpenOCD does not provide commands to send arbitrary user data to the target.

Command usage:

esp apptrace [start <options>] | [stop] | [status] | [dump <cores_num> <outfile>]

Sub-commands:

start

Start tracing (continuous streaming).

stop

Stop tracing.

status

Get tracing status.

dump

Dump all data from (post-mortem dump).

Start command syntax:

start <outfile> [poll_period [trace_size [stop_tmo [wait4halt [skip_size]]]]

outfile

Path to file to save data from both CPUs. This argument should have the following format: file://path/to/file.

poll_period

Data polling period (in ms) for available trace data. If greater than 0, then command runs in non-blocking mode. By default, 1 ms.

trace_size

Maximum size of data to collect (in bytes). Tracing is stopped after specified amount of data is received. By default, -1 (trace size stop trigger is disabled).

stop_tmo

Idle timeout (in sec). Tracing is stopped if there is no data for specified period of time. By default, -1 (disable this stop trigger). Optionally set it to value longer than longest pause between tracing commands from target.

wait4halt

If 0, start tracing immediately, otherwise command waits for the target to be halted (after reset, by breakpoint etc.) and then automatically resumes it and starts tracing. By default, 0.

skip_size

Number of bytes to skip at the start. By default, 0.

Note

If poll_period is 0, OpenOCD telnet command line will not be available until tracing is stopped. You must stop it manually by resetting the board or pressing Ctrl+C in OpenOCD window (not one with the telnet session). Another option is to set trace_size and wait until this size of data is collected. At this point, tracing stops automatically.

Command usage examples:

  1. Collect 2048 bytes of tracing data to the file trace.log. The file will be saved in the openocd-esp32 directory.

    esp apptrace start file://trace.log 1 2048 5 0 0
    

    The tracing data will be retrieved and saved in non-blocking mode. This process will stop automatically after 2048 bytes are collected, or if no data are available for more than 5 seconds.

    Note

    Tracing data is buffered before it is made available to OpenOCD. If you see "Data timeout!" message, then it is likely that the target is not sending enough data to empty the buffer to OpenOCD before the timeout. Either increase the timeout or use the function esp_apptrace_flush() to flush the data on specific intervals.

  2. Retrieve tracing data indefinitely in non-blocking mode.

    esp apptrace start file://trace.log 1 -1 -1 0 0
    

    There is no limitation on the size of collected data and there is no data timeout set. This process may be stopped by issuing esp apptrace stop command on OpenOCD telnet prompt, or by pressing Ctrl+C in OpenOCD window.

  3. Retrieve tracing data and save them indefinitely.

    esp apptrace start file://trace.log 0 -1 -1 0 0
    

    OpenOCD telnet command line prompt will not be available until tracing is stopped. To stop tracing, press Ctrl+C in the OpenOCD window.

  4. Wait for the target to be halted. Then resume the target's operation and start data retrieval. Stop after collecting 2048 bytes of data:

    esp apptrace start file://trace.log 0 2048 -1 1 0
    

    To configure tracing immediately after reset, use the OpenOCD reset halt command.

Logging to Host

ESP-IDF implements a useful feature: logging to the host via application level tracing library. This is a kind of semihosting when all ESP_LOGx calls send strings to be printed to the host instead of UART. This can be useful because "printing to host" eliminates some steps performed when logging to UART. Most part of the work is done on the host.

By default, ESP-IDF's logging library uses vprintf-like function to write formatted output to dedicated UART. In general, it involves the following steps:

  1. Format string is parsed to obtain type of each argument.

  2. According to its type, every argument is converted to string representation.

  3. Format string combined with converted arguments is sent to UART.

Though the implementation of the vprintf-like function can be optimized to a certain level, all steps above have to be performed in any case and every step takes some time (especially item 3). So it frequently occurs that with additional log added to the program to identify the problem, the program behavior is changed and the problem cannot be reproduced. And in the worst cases, the program cannot work normally at all and ends up with an error or even hangs.

Possible ways to overcome this problem are to use higher UART bitrates (or another faster interface) and/or to move string formatting procedure to the host.

The application level tracing feature can be used to transfer log information to the host using esp_apptrace_vprintf function. This function does not perform full parsing of the format string and arguments. Instead, it just calculates the number of arguments passed and sends them along with the format string address to the host. On the host, log data is processed and printed out by a special Python script.

Limitations

Current implementation of logging over JTAG has some limitations:

  1. No support for tracing from ESP_EARLY_LOGx macros.

  2. No support for printf arguments whose size exceeds 4 bytes (e.g., double and uint64_t).

  3. Only strings from the .rodata section are supported as format strings and arguments.

  4. The maximum number of printf arguments is 256.

How To Use It

In order to use logging via trace module, users need to perform the following steps:

  1. Enable application tracing in menuconfig (Component config > Application Level Tracing > Enable Application Level Tracing).

  2. On the target side, the special vprintf-like function esp_apptrace_vprintf() needs to be installed. It sends log data to the host. An example is esp_log_set_vprintf(esp_apptrace_vprintf);. To send log data to UART again, use esp_log_set_vprintf(vprintf);.

  3. Follow instructions in items 4-6 in Application Specific Tracing (OpenOCD setup and trace collection).

  4. To print out collected log records, run the following command in terminal: $IDF_PATH/tools/esp_app_trace/logtrace_proc.py /path/to/trace/file /path/to/program/elf/file.

Log Trace Processor Command Options

Command usage:

logtrace_proc.py [-h] [--no-errors] <trace_file> <elf_file>

Positional arguments:

trace_file

Path to log trace file.

elf_file

Path to program ELF file.

Optional arguments:

-h, --help

Show this help message and exit.

--no-errors, -n

Do not print errors.

System Behavior Analysis with SEGGER SystemView

Another useful ESP-IDF feature built on top of application tracing library is the system level tracing which produces traces compatible with SEGGER SystemView tool (see SystemView). SEGGER SystemView is a real-time recording and visualization tool that allows to analyze runtime behavior of an application. It is possible to view events in real-time through the UART interface.

How To Use It

Support for this feature is enabled by Component config > Application Level Tracing > FreeRTOS SystemView Tracing (CONFIG_APPTRACE_SV_ENABLE) menuconfig option. There are several other options enabled under the same menu:

  1. ESP32-P4 timer to use as SystemView timestamp source: (CONFIG_APPTRACE_SV_TS_SOURCE) selects the source of timestamps for SystemView events. In the single core mode, timestamps are generated using ESP32-P4 internal cycle counter running at maximum frequency. (CONFIG_ESP_DEFAULT_CPU_FREQ_MHZ) In the dual-core mode, external timer is used to generate timestamps. It's frequency is 1/2 of the CPU frequency.

  2. Individually enabled or disabled collection of SystemView events (CONFIG_APPTRACE_SV_EVT_XXX):

    • Trace Buffer Overflow Event

    • ISR Enter Event

    • ISR Exit Event

    • ISR Exit to Scheduler Event

    • Task Start Execution Event

    • Task Stop Execution Event

    • Task Start Ready State Event

    • Task Stop Ready State Event

    • Task Create Event

    • Task Terminate Event

    • System Idle Event

    • Timer Enter Event

    • Timer Exit Event

ESP-IDF has all the code required to produce SystemView compatible traces.

  1. Select Pro or App CPU in menuconfig options Component config > Application Level Tracing > FreeRTOS SystemView Tracing to trace over the UART interface in real-time.

OpenOCD SystemView Tracing Command Options

Command usage:

esp sysview [start <options>] | [stop] | [status]

Sub-commands:

start

Start tracing (continuous streaming).

stop

Stop tracing.

status

Get tracing status.

Start command syntax:

start <outfile1> [outfile2] [poll_period [trace_size [stop_tmo]]]

outfile1

Path to file to save data from PRO CPU. This argument should have the following format: file://path/to/file.

outfile2

Path to file to save data from APP CPU. This argument should have the following format: file://path/to/file.

poll_period

Data polling period (in ms) for available trace data. If greater than 0, then command runs in non-blocking mode. By default, 1 ms.

trace_size

Maximum size of data to collect (in bytes). Tracing is stopped after specified amount of data is received. By default, -1 (trace size stop trigger is disabled).

stop_tmo

Idle timeout (in sec). Tracing is stopped if there is no data for specified period of time. By default, -1 (disable this stop trigger).

Note

If poll_period is 0, OpenOCD telnet command line will not be available until tracing is stopped. You must stop it manually by resetting the board or pressing Ctrl+C in the OpenOCD window (not the one with the telnet session). Another option is to set trace_size and wait until this size of data is collected. At this point, tracing stops automatically.

Command usage examples:

  1. Collect SystemView tracing data to files pro-cpu.SVDat and app-cpu.SVDat. The files will be saved in openocd-esp32 directory.

    esp sysview start file://pro-cpu.SVDat file://app-cpu.SVDat
    

    The tracing data will be retrieved and saved in non-blocking mode. To stop this process, enter esp sysview stop command on OpenOCD telnet prompt, optionally pressing Ctrl+C in the OpenOCD window.

  2. Retrieve tracing data and save them indefinitely.

    esp sysview start file://pro-cpu.SVDat file://app-cpu.SVDat 0 -1 -1
    

    OpenOCD telnet command line prompt will not be available until tracing is stopped. To stop tracing, press Ctrl+C in the OpenOCD window.

Data Visualization

After trace data are collected, users can use a special tool to visualize the results and inspect behavior of the program.

Unfortunately, SystemView does not support tracing from multiple cores. So when tracing from ESP32-P4 with JTAG interfaces in the dual-core mode, two files are generated: one for PRO CPU and another for APP CPU. Users can load each file into separate instances of the tool. For tracing over UART, users can select Component config > Application Level Tracing > FreeRTOS SystemView Tracing in menuconfig Pro or App to choose which CPU has to be traced.

It is uneasy and awkward to analyze data for every core in separate instance of the tool. Fortunately, there is an Eclipse plugin called Impulse which can load several trace files, thus making it possible to inspect events from both cores in one view. Also, this plugin has no limitation of 1,000,000 events as compared to the free version of SystemView.

Good instructions on how to install, configure, and visualize data in Impulse from one core can be found here.

Note

ESP-IDF uses its own mapping for SystemView FreeRTOS events IDs, so users need to replace the original file mapping $SYSVIEW_INSTALL_DIR/Description/SYSVIEW_FreeRTOS.txt with $IDF_PATH/tools/esp_app_trace/SYSVIEW_FreeRTOS.txt. Also, contents of that ESP-IDF-specific file should be used when configuring SystemView serializer using the above link.

Configure Impulse for Dual Core Traces

After installing Impulse and ensuring that it can successfully load trace files for each core in separate tabs, users can add special Multi Adapter port and load both files into one view. To do this, users need to do the following steps in Eclipse:

  1. Open the Signal Ports view. Go to Windows > Show View > Other menu. Find the Signal Ports view in Impulse folder and double-click it.

  2. In the Signal Ports view, right-click Ports and select Add > New Multi Adapter Port.

  3. In the open dialog box, click Add and select New Pipe/File.

  4. In the open dialog box, select SystemView Serializer as Serializer and set path to PRO CPU trace file. Click OK.

  5. Repeat the steps 3-4 for APP CPU trace file.

  6. Double-click the created port. View for this port should open.

  7. Click the Start/Stop Streaming button. Data should be loaded.

  8. Use the Zoom Out, Zoom In and Zoom Fit buttons to inspect data.

  9. For settings measurement cursors and other features, please see Impulse documentation).

Note

If you have problems with visualization (no data is shown or strange behaviors of zoom action are observed), you can try to delete current signal hierarchy and double-click on the necessary file or port. Eclipse will ask you to create a new signal hierarchy.

Gcov (Source Code Coverage)

In ESP-IDF projects, code coverage analysis using gcov can be done with the help of espressif/esp_gcov managed component.


Was this page helpful?