设备发现
本文档为低功耗蓝牙 (Bluetooth Low Energy, Bluetooth LE) 入门教程其二,旨在对 Bluetooth LE 设备发现过程进行简要介绍,包括广播与扫描相关的基本概念。随后,本教程会结合 NimBLE_Beacon 例程,基于 NimBLE 主机层协议栈,对 Bluetooth LE 广播的代码实现进行介绍。
学习目标
学习广播的基本概念
学习扫描的基本概念
学习 NimBLE_Beacon 例程的代码结构
广播 (Advertising) 与扫描 (Scanning) 是 Bluetooth LE 设备在进入连接前在设备发现 (Device Discovery) 阶段的工作状态。下面,我们先了解与广播有关的基本概念。
广播的基本概念
广播是设备通过蓝牙天线,向外发送广播数据包的过程。由于广播者在广播时并不知道环境中是否存在接收方,也不知道接收方会在什么时候启动天线,所以需要周期性地发送广播数据包,直到有设备响应。在上述过程中,对于广播者来说存在以下几个问题,让我们一起来思考一下
向哪里发送广播数据包? (Where?)
发送广播数据包的周期取多久? (When?)
广播数据包里包含哪些信息? (What?)
向哪里发送广播数据包?
蓝牙的无线电频段
第一个问题指向的是,广播数据包应发送到哪一无线电频段。这个回答由蓝牙核心规范给出,答案是 2.4 GHz ISM 频段。2.4 GHz ISM 频段是一个全球可用的免费无线电频段,不被任何国家以军事用途等理由管控,也无需向任何组织支付许可费用,因此该频段的可用性极高,且没有任何使用成本。不过,这也意味着 2.4 GHz ISM 频段非常拥挤,可能会与其他无线通信协议发生数据冲突,如 2.4 GHz WiFi。
蓝牙信道
与经典蓝牙相同,蓝牙技术联盟为了解决数据冲突的问题,在 Bluetooth LE 上也应用了自适应跳频技术 (Adaptive Frequency Hopping, AFH) ,该技术可以判断 RF 信道的拥挤程度,通过跳频避开拥挤的 RF 信道,以提高通信质量。不过 Bluetooth LE 与经典蓝牙的不同之处在于,所使用的 2.4 GHz ISM 频段被划分为 40 个 2 MHz 带宽的射频 (Radio Frequency, RF) 信道,中心频率范围为 2402 MHz - 2480 MHz ,而经典蓝牙则是将这一频段划分为 79 个 1MHz 带宽的 RF 信道。
在 Bluetooth LE 4.2 标准中, RF 信道分为两种类型,如下
类型 |
数量 |
编号 |
作用 |
---|---|---|---|
广播信道 (Advertising Channel) |
3 |
37-39 |
用于发送广播数据包和扫描响应数据包 |
数据信道 (Data Channel) |
37 |
0-36 |
用于发送数据通道数据包 |
广播者在广播时,会在 37-39 这三个广播信道中进行广播数据包的发送。在三个广播信道的广播数据包均发送完毕后,可以认为一次广播结束,广播者会在下一次广播时刻到来时重复上述过程。
扩展广播特性
Bluetooth LE 4.2 标准中,广播数据包允许搭载最多 31 字节广播数据,这无疑限制了广播的功能。为了提高广播的可用性,蓝牙 5.0 标准引入了 扩展广播 (Extended Advertising) 特性,这一特性将广播数据包分为
类型 |
简称 |
单包最大广播数据字节数 |
最大广播数据字节数 |
---|---|---|---|
主广播数据包 (Primary Advertising Packet) |
Legacy ADV |
31 |
31 |
扩展广播数据包 (Extended Advertising Packet) |
Extended ADV |
254 |
1650 |
扩展广播数据包由 ADV_EXT_IND 和 AUX_ADV_IND 组成,分别在主广播信道 (Primary Advertising Channel) 和次广播信道 (Secondary Advertising Channel) 上传输。其中,主广播信道对应于信道 37-39 ,次广播信道对应于信道 0-36 。由于接收方总是在主广播信道中接收广播数据,因此发送方在发送扩展广播数据包时,应在主广播信道中发送 ADV_EXT_IND ,在次广播信道中发送 AUX_ADV_IND ,并在 ADV_EXT_IND 中指示 AUX_ADV_IND 所在的次广播信道;通过这种机制,接收方能够在接收到主广播信道的 ADV_EXT_IND 以后,根据指示到指定的次广播信道去接收 AUX_ADV_IND ,从而得到完整的扩展广播数据包。
类型 |
信道 |
作用 |
---|---|---|
主广播信道 (Primary Advertising Channel) |
37-39 |
用于传输扩展广播数据包的 ADV_EXT_IND |
次广播信道 (Secondary Advertising Channel) |
0-36 |
用于传输扩展广播数据包的 AUX_ADV_IND |
发送广播数据包的周期取多久?
广播间隔
对于第二个问题,即发送广播数据包的周期怎么取,蓝牙标准中也给出了一个明确的参数定义,即广播间隔 (Advertising Interval)。广播间隔可取的范围为 20 ms 到 10.24 s ,取值步长为 0.625 ms。
广播间隔的取值决定了广播者的可发现性 (Discoverability) 以及设备功耗。当广播间隔取得太长时,广播数据包被接收方接收到的概率就会变得很低,此时广播者的可发现性就会变差。同时,广播间隔也不宜取得太短,因此频繁发送广播数据需要消耗更多的电量。所以,广播者需要在可发现性和能耗之间进行取舍,根据应用场景的需求选择最合适的广播间隔。
值得一提的是,如果在同一空间中存在两个广播间隔相同的广播者,那么有概率出现重复性的撞包 (Packet Collision) 现象,即两个广播者总是在同一时刻向同一信道发送广播数据。由于广播是一个只发不收的过程,广播者无法得知是否发生了广播撞包。为了降低上述问题的发生概率,广播者应在每一次广播事件后添加 0-10 ms 的随机时延。
广播数据包里包含哪些信息?
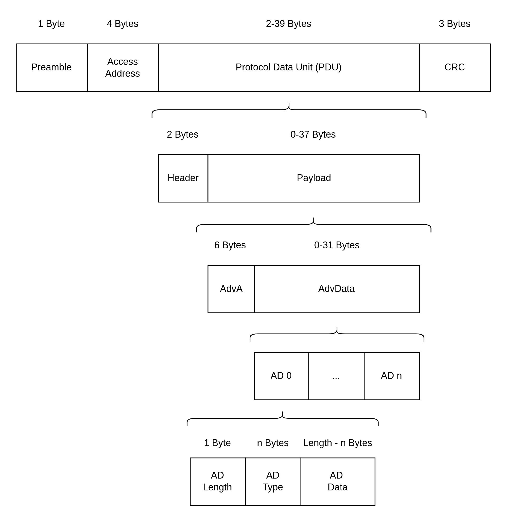
广播数据包结构
对于第三个问题,即广播数据包内含有什么信息,在 Bluetooth LE 4.2 标准给出了广播数据包的格式定义,如下图所示

Bluetooth LE 4.2 广播数据包结构
看起来非常复杂,让我们来逐层分解。广播数据包的最外层包含四个部分,分别是
序号 |
名称 |
字节数 |
功能 |
---|---|---|---|
1 |
预置码 (Preamble) |
1 |
特殊的比特序列,用于设备时钟同步 |
2 |
访问地址 (Access Address) |
4 |
标记广播数据包的地址 |
3 |
协议数据单元 (Protocol Data Unit, PDU) |
2-39 |
有效数据的存放区域 |
4 |
循环冗余校验和 (Cyclic Redundancy Check, CRC) |
3 |
用于循环冗余校验 |
广播数据包是蓝牙数据包的一种类型,由 PDU 类型决定。下面我们将对 PDU 展开详细的介绍
PDU
PDU 段为有效数据存放的区域,其结构如下
序号 |
名称 |
字节数 |
---|---|---|
1 |
头 (Header) |
2 |
2 |
有效负载 (Payload) |
0-37 |
PDU 头
PDU 头中含有较多信息,可以分为以下六个部分
序号 |
名称 |
比特位数 |
备注 |
---|---|---|---|
1 |
PDU 类型 (PDU Type) |
4 |
|
2 |
保留位 (Reserved for Future Use, RFU) |
1 |
|
3 |
通道选择位 (Channel Selection Bit, ChSel) |
1 |
标记广播者是否支持 LE Channel Selection Algorithm #2 通道选择算法 |
4 |
发送地址类型 (Tx Address, TxAdd) |
1 |
0/1 分别表示公共地址/随机地址 |
5 |
接收地址类型 (Rx Address, RxAdd) |
1 |
0/1 分别表示公共地址/随机地址 |
6 |
有效负载长度 (Payload Length) |
8 |
PDU 类型位反映了设备的广播行为。在蓝牙标准中,共有以下三对广播行为
- 可连接 (Connectable) 与 不可连接 (Non-connectable)
是否接受其他设备的连接请求
- 可扫描 (Scannable) 与 不可扫描 (Non-scannable)
是否接受其他设备的扫描请求
- 不定向 (Undirected) 与 定向 (Directed)
是否发送广播数据至指定设备
上述广播行为可以组合成以下四种常见的广播类型,对应四种不同的 PDU 类型
可连接? |
可扫描? |
不定向? |
PDU 类型 |
作用 |
---|---|---|---|---|
是 |
是 |
是 |
ADV_IND |
最常见的广播类型 |
是 |
否 |
否 |
ADV_DIRECT_IND |
常用于已知设备重连 |
否 |
否 |
是 |
ADV_NONCONN_IND |
作为信标设备,仅向外发送广播数据 |
否 |
是 |
是 |
ADV_SCAN_IND |
作为信标设备,一般用于广播数据包长度不足的情况,此时可以通过扫描响应向外发送额外的数据 |
PDU 有效负载
PDU 有效负载也分为两部分
序号 |
名称 |
字节数 |
备注 |
---|---|---|---|
1 |
广播地址 (Advertisement Address, AdvA) |
6 |
广播设备的 48 位蓝牙地址 |
2 |
广播数据 (Advertisement Data, AdvData) |
0-31 |
由若干广播数据结构 (Advertisement Data Structure) 组成 |
先看广播地址,即蓝牙地址,可以分为
类型 |
说明 |
---|---|
公共地址 (Public Address) |
全球范围内独一无二的固定设备地址,厂商必须为此到 IEEE 组织注册并缴纳一定费用 |
随机地址 (Random Address) |
随机生成的地址 |
随机地址又根据用途分为两类
类型 |
说明 |
---|---|
随机静态地址 (Random Static Address) |
可以随固件固化于设备,也可以在设备启动时随机生成,但在设备运行过程中不得变更;常作为公共地址的平替 |
随机私有地址 (Random Private Address) |
可在设备运行过程中周期性变更,避免被其他设备追踪 |
若使用随机私有地址的设备要与其他受信任的设备通信,则应使用身份解析秘钥 (Identity Resolving Key, IRK) 生成随机地址,此时其他持有相同 IRK 的设备可以解析并得到设备的真实地址。此时,随机私有地址又可以分为两类
类型 |
说明 |
---|---|
可解析随机私有地址 (Resolvable Random Private Address) |
可通过 IRK 解析得到设备真实地址 |
不可解析随机私有地址 (Non-resolvable Random Private Address) |
完全随机的地址,仅用于防止设备被追踪,非常少用 |
然后看**广播数据**。一个广播数据结构的格式定义如下
序号 |
名称 |
字节数 |
备注 |
---|---|---|---|
1 |
数据长度 (AD Length) |
1 |
|
2 |
数据类型 (AD Type) |
n |
大部分数据类型占用 1 字节 |
3 |
数据 (AD Data) |
(AD Length - n) |
扫描的基本概念
在广播章节,我们通过回答与广播过程相关的三个问题,了解了广播的相关基本概念。事实上,扫描过程中也存在类似的三个问题,让我们一起思考一下
到什么地方去扫描? (Where?)
多久扫描一次?一次扫描多久? (When?)
扫描的过程中需要做什么? (What?)
第一个问题已经在广播的介绍中说明了。对于 Bluetooth LE 4.2 设备来说,广播者只会在广播信道,即编号为 37-39 的三个信道发送广播数据;对于 Bluetooth LE 5.0 设备来说,如果广播者启用了扩展广播特性,则会在主广播信道发送 ADV_EXT_IND ,在次广播信道发送 AUX_ADV_IND ,并在 ADV_EXT_IND 指示 AUX_ADV_IND 所在的次广播信道。 所以相应的,对于 Bluetooth LE 4.2 设备来说,扫描者只需在广播信道接收广播数据包即可。对于 Bluetooth LE 5.0 设备来说,扫描者应在主广播信道接收主广播数据包和扩展广播数据包的 ADV_EXT_IND ; 若扫描者接收到了 ADV_EXT_IND ,且 ADV_EXT_IND 指示了一个次广播信道,那么还需要到对应的次广播信道去接收 AUX_ADV_IND ,以获取完整的扩展广播数据包。
扫描窗口与扫描间隔
第二个问题分别指向扫描窗口 (Scan Window) 和 扫描间隔 (Scan Interval) 概念。
扫描窗口:扫描者在同一个 RF 信道持续接收蓝牙数据包的持续时间,例如扫描窗口参数设定为 50 ms 时,扫描者在每个 RF 信道都会不间断地扫描 50 ms。
扫描间隔:相邻两个扫描窗口开始时刻之间的时间间隔,所以扫描间隔必然大于等于扫描窗口。
下图在时间轴上展示了扫描者的广播数据包接收过程,其中扫描者的扫描间隔为 100 ms ,扫描窗口为 50 ms ;广播者的广播间隔为 50 ms ,广播数据包的发送时长仅起到示意作用。可以看到,第一个扫描窗口对应 37 信道,此时扫描者恰好接收到了广播者第一次在 37 信道发送的广播数据包,以此类推。

广播与扫描时序示意图
扫描请求与扫描响应
从目前的介绍来看,似乎广播过程中广播者只发不收,扫描过程中扫描者只收不发。事实上,扫描行为分为以下两种
- 被动扫描 (Passive Scanning)
扫描者只接收广播数据包
- 主动扫描 (Active Scanning)
扫描者在接收广播数据包以后,还向可扫描广播者发送扫描请求 (Scan Request)
可扫描广播者在接收到扫描请求之后,会广播扫描响应 (Scan Response) 数据包,以向感兴趣的扫描者发送更多的广播信息。扫描响应数据包的结构与广播数据包完全一致,区别在于 PDU 头中的 PDU 类型不同。
在广播者处于可扫描广播模式、扫描者处于主动扫描模式的场景下,广播者和扫描者的数据发送时序变得更加复杂。对于扫描者来说,在扫描窗口结束后会短暂进入 TX 模式,向外发送扫描请求,随后马上进入 RX 模式以接收可能的扫描响应;对于广播者来说,每一次广播结束后都会短暂进入 RX 模式以接收可能的扫描请求,并在接收到扫描请求后进入 TX 模式,发送扫描响应。

扫描请求的接收与扫描响应的发送
例程实践
在掌握了广播与扫描的相关知识以后,接下来让我们结合 NimBLE_Beacon 例程代码,学习如何使用 NimBLE 协议栈构建一个简单的 Beacon 设备,对学到的知识进行实践。
前提条件
一块 ESP32-C2 开发板
ESP-IDF 开发环境
在手机上安装 nRF Connect for Mobile 应用程序
若你尚未完成 ESP-IDF 开发环境的配置,请参考 IDF 快速入门。
动手试试
构建与烧录
本教程对应的参考例程为 NimBLE_Beacon 。
你可以通过以下命令进入例程目录
$ cd <ESP-IDF Path>/examples/bluetooth/ble_get_started/nimble/NimBLE_Beacon
注意,请将 <ESP-IDF Path> 替换为你本地的 ESP-IDF 文件夹路径。随后,你可以通过 VSCode 或其他你常用的 IDE 打开 NimBLE_Beacon 工程。以 VSCode 为例,你可以在使用命令行进入例程目录后,通过以下命令打开工程
$ code .
随后,在命令行中进入 ESP-IDF 环境,完成芯片设定
$ idf.py set-target <chip-name>
你应该能看到以下命令行
...
-- Configuring done
-- Generating done
-- Build files have been written to ...
等提示结束,这说明芯片设定完成。接下来,连接开发板至电脑,随后运行以下命令,构建固件并烧录至开发板,同时监听 ESP32-C2 开发板的串口输出
$ idf.py flash monitor
你应该能看到以下命令行
...
main_task: Returned from app_main()
等提示结束。
查看 Beacon 设备信息
打开手机上的 nRF Connect for Mobile 程序,在 SCANNER 标签页中下拉刷新,找到 NimBLE_Beacon 设备,如下图所示

找到 NimBLE Beacon 设备
若设备列表较长,建议以 NimBLE 为关键字进行设备名过滤,快速找到 NimBLE_Beacon 设备。
观察到 NimBLE Beacon 设备下带有丰富的设备信息,甚至还带有乐鑫的网址(这就是信标广告功能的体现)。点击右下角的 RAW 按钮,可以看到广播数据包的原始信息,如下

广播数据包原始信息
Details 表格即广播数据包和扫描响应数据包中的所有广播数据结构,可以整理如下
名称 |
长度 |
类型 |
原始数据 |
解析值 |
---|---|---|---|---|
标志位 |
2 Bytes |
0x01 |
0x06 |
General Discoverable, BR/EDR Not Supported |
完整设备名称 |
14 Bytes |
0x09 |
0x4E696D424C455F426561636F6E |
NimBLE_Beacon |
发送功率等级 |
2 Bytes |
0x0A |
0x09 |
9 dBm |
设备外观 |
3 Bytes |
0x19 |
0x0002 |
通用标签 |
LE 角色 |
2 Bytes |
0x1C |
0x00 |
仅支持外设设备 |
设备地址 |
8 Bytes |
0x1B |
0x46F506BDF5F000 |
F0:F5:BD:06:F5:46 |
URI |
17 Bytes |
0x24 |
0x172F2F6573707265737369662E636F6D |
https://espressif.com |
值得一提的是,前五项广播数据结构长度之和为 28 字节,此时广播数据包仅空余 3 字节,无法继续装载后续的两项广播数据结构。所以后两项广播数据结构必须装填至扫描响应数据包。
你可能还注意到,对应于设备外观的 Raw Data 为 0x0002,而代码中对 Generic Tag 的定义是 0x0200;还有,设备地址的 Raw Data 除了最后一个字节 0x00 以外,似乎与实际地址完全颠倒。这是因为, Bluetooth LE 的空中数据包遵循小端 (Little Endian) 传输的顺序,所以低字节的数据反而会在靠前的位置。
另外,注意到 nRF Connect for Mobile 程序并没有为我们提供 CONNECT 按钮以连接至此设备。这符合我们的预期,因为 Beacon 设备本来就应该是不可连接的。下面,让我们深入代码细节,看看这样的一个 Beacon 设备是怎样实现的。
代码详解
工程结构综述
NimBLE_Beacon 的根目录大致分为以下几部分
- README*.md
工程的说明文档
- sdkconfig.defaults*
不同芯片对应开发板的默认配置
- CMakeLists.txt
用于引入 ESP-IDF 构建环境
- main
工程主文件夹,含本工程的源码、头文件以及构建配置
程序行为综述
在深入代码细节前,我们先对程序的行为有一个宏观的认识。
第一步,我们会对程序中使用到的各个模块进行初始化,主要包括 NVS Flash、NimBLE 主机层协议栈以及 GAP 服务的初始化。
第二步,在 NimBLE 主机层协议栈与蓝牙控制器完成同步时,我们先确认蓝牙地址可用,然后发起不定向、不可连接、可扫描的广播。
之后持续处于广播状态,直到设备重启。
入口函数
与其他工程一样,应用程序的入口函数为 main/main.c 文件中的 app_main 函数,我们一般在这个函数中进行各模块的初始化。本例中,我们主要做以下几件事情
初始化 NVS Flash 与 NimBLE 主机层协议栈
初始化 GAP 服务
启动 NimBLE 主机层的 FreeRTOS 线程
ESP32-C2 的蓝牙协议栈使用 NVS Flash 存储相关配置,所以在初始化蓝牙协议栈之前,必须调用 nvs_flash_init API 以初始化 NVS Flash ,某些情况下需要调用 nvs_flash_erase API 对 NVS Flash 进行擦除后再初始化。
void app_main(void) {
...
/* NVS flash initialization */
ret = nvs_flash_init();
if (ret == ESP_ERR_NVS_NO_FREE_PAGES ||
ret == ESP_ERR_NVS_NEW_VERSION_FOUND) {
ESP_ERROR_CHECK(nvs_flash_erase());
ret = nvs_flash_init();
}
if (ret != ESP_OK) {
ESP_LOGE(TAG, "failed to initialize nvs flash, error code: %d ", ret);
return;
}
...
}
随后,可以调用 nimble_port_init API 以初始化 NimBLE 主机层协议栈。
void app_main(void) {
...
/* NimBLE host stack initialization */
ret = nimble_port_init();
if (ret != ESP_OK) {
ESP_LOGE(TAG, "failed to initialize nimble stack, error code: %d ",
ret);
return;
}
...
}
然后,我们调用 gap.c 文件中定义的 gap_init 函数,初始化 GAP 服务,并设定设备名称与外观。
void app_main(void) {
...
/* GAP service initialization */
rc = gap_init();
if (rc != 0) {
ESP_LOGE(TAG, "failed to initialize GAP service, error code: %d", rc);
return;
}
...
}
接下来,设定 NimBLE 主机层协议栈的配置,这里主要涉及到一些回调函数的设定,包括协议栈重置时刻的回调、完成同步时刻的回调等,然后保存配置。
static void nimble_host_config_init(void) {
/* Set host callbacks */
ble_hs_cfg.reset_cb = on_stack_reset;
ble_hs_cfg.sync_cb = on_stack_sync;
ble_hs_cfg.store_status_cb = ble_store_util_status_rr;
/* Store host configuration */
ble_store_config_init();
}
void app_main(void) {
...
/* NimBLE host configuration initialization */
nimble_host_config_init();
...
}
最后,启动 NimBLE 主机层的 FreeRTOS 线程。
static void nimble_host_task(void *param) {
/* Task entry log */
ESP_LOGI(TAG, "nimble host task has been started!");
/* This function won't return until nimble_port_stop() is executed */
nimble_port_run();
/* Clean up at exit */
vTaskDelete(NULL);
}
void app_main(void) {
...
/* Start NimBLE host task thread and return */
xTaskCreate(nimble_host_task, "NimBLE Host", 4*1024, NULL, 5, NULL);
...
}
开始广播
使用 NimBLE 主机层协议栈进行应用开发时的编程模型为事件驱动编程 (Event-driven Programming)。
例如,在 NimBLE 主机层协议栈与蓝牙控制器完成同步以后,将会触发同步完成事件,调用 ble_hs_cfg.sync_cb 函数。在回调函数设定时,我们令该函数指针指向 on_stack_sync 函数,所以这是同步完成时实际被调用的函数。
在 on_stack_sync 函数中,我们调用 adv_init 函数,进行广播操作的初始化。在 adv_init 中,我们先调用 ble_hs_util_ensure_addr API ,确认设备存在可用的蓝牙地址;随后,调用 ble_hs_id_infer_auto API ,获取最优的蓝牙地址类型。
static void on_stack_sync(void) {
/* On stack sync, do advertising initialization */
adv_init();
}
void adv_init(void) {
...
/* Make sure we have proper BT identity address set */
rc = ble_hs_util_ensure_addr(0);
if (rc != 0) {
ESP_LOGE(TAG, "device does not have any available bt address!");
return;
}
/* Figure out BT address to use while advertising */
rc = ble_hs_id_infer_auto(0, &own_addr_type);
if (rc != 0) {
ESP_LOGE(TAG, "failed to infer address type, error code: %d", rc);
return;
}
...
}
接下来,将蓝牙地址数据从 NimBLE 协议栈的内存空间拷贝到本地的 addr_val 数组中,等待后续调用。
void adv_init(void) {
...
/* Copy device address to addr_val */
rc = ble_hs_id_copy_addr(own_addr_type, addr_val, NULL);
if (rc != 0) {
ESP_LOGE(TAG, "failed to copy device address, error code: %d", rc);
return;
}
format_addr(addr_str, addr_val);
ESP_LOGI(TAG, "device address: %s", addr_str);
...
}
最后,调用 start_advertising 函数发起广播。在 start_advertising 函数中,我们先将广播标志位、完整设备名、发射功率、设备外观和 LE 角色等广播数据结构填充到广播数据包中,如下
static void start_advertising(void) {
/* Local variables */
int rc = 0;
const char *name;
struct ble_hs_adv_fields adv_fields = {0};
...
/* Set advertising flags */
adv_fields.flags = BLE_HS_ADV_F_DISC_GEN | BLE_HS_ADV_F_BREDR_UNSUP;
/* Set device name */
name = ble_svc_gap_device_name();
adv_fields.name = (uint8_t *)name;
adv_fields.name_len = strlen(name);
adv_fields.name_is_complete = 1;
/* Set device tx power */
adv_fields.tx_pwr_lvl = BLE_HS_ADV_TX_PWR_LVL_AUTO;
adv_fields.tx_pwr_lvl_is_present = 1;
/* Set device appearance */
adv_fields.appearance = BLE_GAP_APPEARANCE_GENERIC_TAG;
adv_fields.appearance_is_present = 1;
/* Set device LE role */
adv_fields.le_role = BLE_GAP_LE_ROLE_PERIPHERAL;
adv_fields.le_role_is_present = 1;
/* Set advertiement fields */
rc = ble_gap_adv_set_fields(&adv_fields);
if (rc != 0) {
ESP_LOGE(TAG, "failed to set advertising data, error code: %d", rc);
return;
}
...
}
ble_hs_adv_fields 结构体预定义了一些常用的广播数据类型。我们可以在完成数据设置后,通过令对应的 is_present 字段为 1 ,或将对应的长度字段 len 设定为非零值,以启用对应的广播数据结构。例如在上述代码中,我们通过 adv_fields.tx_pwr_lvl = BLE_HS_ADV_TX_PWR_LVL_AUTO; 来配置设备发送功率,然后通过 adv_fields.tx_pwr_lvl_is_present = 1; 以启用该广播数据结构;若仅配置设备发送功率而不对相应的 is_present 字段置位,则该广播数据结构无效。同理,我们通过 adv_fields.name = (uint8_t *)name; 配置设备名,然后通过 adv_fields.name_len = strlen(name); 配置设备名的长度,从而将设备名这一广播数据结构添加到广播数据包中;若仅配置设备名而不配置设备名的长度,则该广播数据结构无效。
最后,调用 ble_gap_adv_set_fields API ,完成广播数据包的广播数据结构设定。
同理,我们可以将设备地址与 URI 填充到扫描响应数据包中,如下
static void start_advertising(void) {
...
struct ble_hs_adv_fields rsp_fields = {0};
...
/* Set device address */
rsp_fields.device_addr = addr_val;
rsp_fields.device_addr_type = own_addr_type;
rsp_fields.device_addr_is_present = 1;
/* Set URI */
rsp_fields.uri = esp_uri;
rsp_fields.uri_len = sizeof(esp_uri);
/* Set scan response fields */
rc = ble_gap_adv_rsp_set_fields(&rsp_fields);
if (rc != 0) {
ESP_LOGE(TAG, "failed to set scan response data, error code: %d", rc);
return;
}
...
}
最后,设置广播参数,并通过调用 ble_gap_adv_start API 发起广播。
static void start_advertising(void) {
...
struct ble_gap_adv_params adv_params = {0};
...
/* Set non-connetable and general discoverable mode to be a beacon */
adv_params.conn_mode = BLE_GAP_CONN_MODE_NON;
adv_params.disc_mode = BLE_GAP_DISC_MODE_GEN;
/* Start advertising */
rc = ble_gap_adv_start(own_addr_type, NULL, BLE_HS_FOREVER, &adv_params,
NULL, NULL);
if (rc != 0) {
ESP_LOGE(TAG, "failed to start advertising, error code: %d", rc);
return;
}
ESP_LOGI(TAG, "advertising started!");
}
总结
通过本教程,你了解了广播和扫描的基本概念,并通过 NimBLE_Beacon 例程掌握了使用 NimBLE 主机层协议栈构建 Bluetooth LE Beacon 设备的方法。
你可以尝试对例程中的数据进行修改,并在 nRF Connect for Mobile 调试工具中查看修改结果。例如,你可以尝试修改 adv_fields 或 rsp_fields 结构体,以修改被填充的广播数据结构,或者交换广播数据包和扫描响应数据包中的广播数据结构。但需要注意的一点是,广播数据包和扫描响应数据包的广播数据上限为 31 字节,若设定的广播数据结构大小超过该限值,调用 ble_gap_adv_start API 将会失败。