Wi-Fi 驱动程序
ESP32 Wi-Fi 功能列表
ESP32 支持以下 Wi-Fi 功能:
支持 4 个虚拟接口,即 STA、AP、Sniffer 和 reserved。
支持仅 station 模式、仅 AP 模式、station/AP 共存模式
支持使用 IEEE 802.11b、IEEE 802.11g、IEEE 802.11n 和 API 配置协议模式
支持 WPA/WPA2/WPA3/WPA2-企业版/WPA3-企业版/WAPI/WPS 和 DPP
支持 AMSDU、AMPDU、HT40、QoS 以及其它主要功能
支持 Modem-sleep
支持乐鑫专属协议,可实现 1 km 数据通信量
空中数据传输最高可达 20 MBit/s TCP 吞吐量和 30 MBit/s UDP 吞吐量
支持 Sniffer
支持快速扫描和全信道扫描
支持多个天线
支持获取信道状态信息
如何编写 Wi-Fi 应用程序
准备工作
一般来说,要编写自己的 Wi-Fi 应用程序,最高效的方式是先选择一个相似的应用程序示例,然后将其中可用的部分移植到自己的项目中。如果你希望编写一个强健的 Wi-Fi 应用程序,强烈建议在开始之前先阅读本文。非强制要求,请依个人情况而定。
本文将补充说明 Wi-Fi API 和 Wi-Fi 示例的相关信息,重点描述使用 Wi-Fi API 的原则、当前 Wi-Fi API 实现的限制以及使用 Wi-Fi 时的常见错误。同时,本文还介绍了 Wi-Fi 驱动程序的一些设计细节。建议选择一个示例 example 进行参考。
设置 Wi-Fi 编译时选项
请参阅 Wi-Fi menuconfig。
Wi-Fi 初始化
启动/连接 Wi-Fi
事件处理
通常,在理想环境下编写代码难度并不大,如 WIFI_EVENT_STA_START、WIFI_EVENT_STA_CONNECTED 中所述。难度在于如何在现实的困难环境下编写代码,如 WIFI_EVENT_STA_DISCONNECTED 中所述。能否在后者情况下完美地解决各类事件冲突,是编写一个强健的 Wi-Fi 应用程序的根本。请参阅 ESP32 Wi-Fi 事件描述, ESP32 Wi-Fi station 一般情况, ESP32 Wi-Fi AP 一般情况。另可参阅 ESP-IDF 中的 事件处理概述。
编写错误恢复程序
除了能在比较差的环境下工作,错误恢复能力也对一个强健的 Wi-Fi 应用程序至关重要。请参阅 ESP32 Wi-Fi API 错误代码。
ESP32 Wi-Fi API 错误代码
所有 ESP32 Wi-Fi API 都有定义好的返回值,即错误代码。这些错误代码可分类为:
无错误,例如:返回值
ESP_OK代表 API 成功返回可恢复错误,例如:
ESP_ERR_NO_MEM不可恢复的非关键性错误
不可恢复的关键性错误
一个错误是否为关键性取决于其 API 和应用场景,并且由 API 用户定义。
要使用 Wi-Fi API 编写一个强健的应用程序,根本原则便是要时刻检查错误代码并编写相应的错误处理代码。 一般来说,错误处理代码可用于解决:
可恢复错误,你可以编写一个可恢复错误处理代码解决该类错误。例如,当
esp_wifi_start()返回ESP_ERR_NO_MEM时,调用可恢复错误处理代码 vTaskDelay 可以获取几微秒的重试时间。不可恢复非关键性错误,打印错误代码可以帮助你更好地处理该类错误。
不可恢复关键性错误,可使用 "assert" 语句处理该类错误。例如,如果
esp_wifi_set_mode()返回ESP_ERR_WIFI_NOT_INITesp_wifi_init()未成功初始化 Wi-Fi 驱动程序。你可以在应用程序开发阶段非常快速地检测到此类错误。
在 esp_common/include/esp_err.h 中, ESP_ERROR_CHECK 负责检查返回值。这是一个较为常见的错误处理代码,可在应用程序开发阶段作为默认的错误处理代码。但是,我们强烈建议 API 的使用者编写自己的错误处理代码。
初始化 ESP32 Wi-Fi API 参数
初始化 API 的结构参数时,应遵循以下两种方式之一:
设置该参数的所有字段
先使用 get API 获取当前配置,然后只设置特定于应用程序的字段
初始化或获取整个结构这一步至关重要,因为大多数情况下,返回值 0 意味着程序使用了默认值。未来,我们将会在该结构中加入更多字段,并将这些字段初始化为 0,确保即使 ESP-IDF 版本升级后,你的应用程序依然能够正常运行。
ESP32 Wi-Fi 编程模型
ESP32 Wi-Fi 编程模型如下图所示:

Wi-Fi 编程模型
Wi-Fi 驱动程序可以看作是一个无法感知上层代码(如 TCP/IP 堆栈、应用程序任务、事件任务等)的黑匣子。通常,应用程序任务(代码)负责调用 Wi-Fi 驱动程序 APIs 来初始化 Wi-Fi,并在必要时处理 Wi-Fi 事件。然后,Wi-Fi 驱动程序接收并处理 API 数据,并在应用程序中插入事件。
Wi-Fi 事件处理是在 esp_event 库 的基础上进行的。Wi-Fi 驱动程序将事件发送至 默认事件循环,应用程序便可以使用 esp_event_handler_register() 中的回调函数处理这些事件。除此之外,esp_netif 组件 也负责处理 Wi-Fi 事件,并产生一系列默认行为。例如,当 Wi-Fi station 连接至一个 AP 时,esp_netif 将自动开启 DHCP 客户端服务(系统默认)。
ESP32 Wi-Fi 事件描述
WIFI_EVENT_WIFI_READY
Wi-Fi 驱动程序永远不会生成此事件,因此,应用程序的事件回调函数可忽略此事件。在未来的版本中,此事件可能会被移除。
WIFI_EVENT_SCAN_DONE
扫描完成事件,由 esp_wifi_scan_start() 函数触发,将在以下情况下产生:
扫描已完成,例如:Wi-Fi 已成功找到目标 AP 或已扫描所有信道。
当前扫描因函数
esp_wifi_scan_stop()而终止。在当前扫描完成之前调用了函数
esp_wifi_scan_start()。此时,新的扫描将覆盖当前扫描过程,并生成一个扫描完成事件。
以下情况下将不会产生扫描完成事件:
当前扫描被阻止。
当前扫描是由函数
esp_wifi_connect()触发的。
接收到此事件后,事件任务暂不做任何响应。首先,应用程序的事件回调函数需调用 esp_wifi_scan_get_ap_num() 和 esp_wifi_scan_get_ap_records() 获取已扫描的 AP 列表,然后触发 Wi-Fi 驱动程序释放在扫描过程中占用的内存空间(切记该步骤)。
更多详细信息,请参阅 ESP32 Wi-Fi 扫描。
WIFI_EVENT_STA_START
如果调用函数 esp_wifi_start() 后接收到返回值 ESP_OK,且当前 Wi-Fi 处于 station 或 station/AP 共存模式,则将产生此事件。接收到此事件后,事件任务将初始化 LwIP 网络接口 (netif)。通常,应用程序的事件回调函数需调用 esp_wifi_connect() 来连接已配置的 AP。
WIFI_EVENT_STA_STOP
如果调用函数 esp_wifi_stop() 后接收到返回值 ESP_OK,且当前 Wi-Fi 处于 station 或 station/AP 共存模式,则将产生此事件。接收到此事件后,事件任务将进行释放 station IP 地址、终止 DHCP 客户端服务、移除 TCP/UDP 相关连接并清除 LwIP station netif 等动作。此时,应用程序的事件回调函数通常不需做任何响应。
WIFI_EVENT_STA_CONNECTED
如果调用函数 esp_wifi_connect() 后接收到返回值 ESP_OK,且 station 已成功连接目标 AP,则将产生此连接事件。接收到此事件后,事件任务将启动 DHCP 客户端服务并开始获取 IP 地址。此时,Wi-Fi 驱动程序已准备就绪,可发送和接收数据。如果你的应用程序不依赖于 LwIP(即 IP 地址),则此刻便可以开始应用程序开发工作。但是,如果你的应用程序需基于 LwIP 进行,则还需等待 got ip 事件发生后才可开始。
WIFI_EVENT_STA_DISCONNECTED
此事件将在以下情况下产生:
调用了函数
esp_wifi_disconnect()或esp_wifi_stop(),且 Wi-Fi station 已成功连接至 AP。调用了函数
esp_wifi_connect(),但 Wi-Fi 驱动程序因为某些原因未能成功连接至 AP,例如:未扫描到目标 AP、验证超时等。或存在多个 SSID 相同的 AP,station 无法连接所有已找到的 AP,也将产生该事件。Wi-Fi 连接因为某些原因而中断,例如:station 连续多次丢失 N beacon、AP 踢掉 station、AP 认证模式改变等。
接收到此事件后,事件任务的默认动作为:
关闭 station 的 LwIP netif。
通知 LwIP 任务清除导致所有套接字状态错误的 UDP/TCP 连接。针对基于套接字编写的应用程序,其回调函数可以在接收到此事件时(如有必要)关闭并重新创建所有套接字。
应用程序处理此事件最常用的方法为:调用函数 esp_wifi_connect() 重新连接 Wi-Fi。但是,如果此事件是由函数 esp_wifi_disconnect() 引发的,则应用程序不应调用 esp_wifi_connect() 来重新连接。应用程序须明确区分此事件的引发原因,因为某些情况下应使用其它更好的方式进行重新连接。请参阅 Wi-Fi 重新连接 和 连接 Wi-Fi 时扫描。
需要注意的另一点是:接收到此事件后,LwIP 的默认动作是终止所有 TCP 套接字连接。大多数情况下,该动作不会造成影响。但对某些特殊应用程序可能除外。例如:
应用程序创建一个了 TCP 连接,以维护每 60 秒发送一次的应用程序级、保持活动状态的数据。
由于某些原因,Wi-Fi 连接被切断并引发了 WIFI_EVENT_STA_DISCONNECTED 事件。根据当前实现,此时所有 TCP 连接都将被移除,且保持活动的套接字将处于错误的状态中。但是,由于应用程序设计者认为网络层 不应 考虑这个 Wi-Fi 层的错误,因此应用程序不会关闭套接字。
5 秒后,因为在应用程序的事件回调函数中调用了
esp_wifi_connect(),Wi-Fi 连接恢复。同时,station 连接至同一个 AP 并获得与之前相同的 IPV4 地址。60 秒后,当应用程序发送具有保持活动状态的套接字的数据时,套接字将返回错误,应用程序将关闭套接字并在必要时重新创建。
在上述场景中,理想状态下应用程序套接字和网络层将不会受到影响,因为在此过程中 Wi-Fi 连接只是短暂地断开然后快速恢复。应用程序可通过 LwIP menuconfig 启动“IP 改变时保持 TCP 连接”的功能。
IP_EVENT_STA_GOT_IP
当 DHCP 客户端成功从 DHCP 服务器获取 IPV4 地址或 IPV4 地址发生改变时,将引发此事件。此事件意味着应用程序一切就绪,可以开始任务(如:创建套接字)。
IPV4 地址可能由于以下原因而发生改变:
DHCP 客户端无法重新获取/绑定 IPV4 地址,且 station 的 IPV4 重置为 0。
DHCP 客户端重新绑定了其它地址。
静态配置的 IPV4 地址已发生改变。
函数 ip_event_got_ip_t 中的字段 ip_change 说明了 IPV4 地址是否发生改变。
套接字的状态是基于 IPV4 地址的,这意味着,如果 IPV4 地址发生改变,则所有与此 IPV4 相关的套接字都将变为异常。接收到此事件后,应用程序需关闭所有套接字,并在 IPV4 变为有效地址时重新创建应用程序。
IP_EVENT_GOT_IP6
当 IPV6 SLAAC 支持自动为 ESP32 配置一个地址,或 ESP32 地址发生改变时,将引发此事件。此事件意味着应用程序一切就绪,可以开始任务(如:创建套接字)。
IP_EVENT_STA_LOST_IP
当 IPV4 地址失效时,将引发此事件。
此事件不会在 Wi-Fi 断连后立刻出现。Wi-Fi 连接断开后,首先将启动一个 IPV4 地址丢失计时器,如果 station 在该计时器超时之前成功获取了 IPV4 地址,则不会发生此事件。否则,此事件将在计时器超时时发生。
一般来说,应用程序可忽略此事件。这只是一个调试事件,主要使应用程序获知 IPV4 地址已丢失。
WIFI_EVENT_AP_START
与 WIFI_EVENT_STA_START 事件相似。
WIFI_EVENT_AP_STOP
与 WIFI_EVENT_STA_STOP 事件相似。
WIFI_EVENT_AP_STACONNECTED
每当有一个 station 成功连接 ESP32 AP 时,将引发此事件。接收到此事件后,事件任务将不做任何响应,应用程序的回调函数也可忽略这一事件。但是,你可以在此时进行一些操作,例如:获取已连接 station 的信息等。
WIFI_EVENT_AP_STADISCONNECTED
此事件将在以下情况下发生:
应用程序通过调用函数
esp_wifi_disconnect()或esp_wifi_deauth_sta()手动断开 station 连接。Wi-Fi 驱动程序出于某些原因断开 station 连接,例如:AP 在过去 5 分钟(可通过函数
esp_wifi_set_inactive_time()修改该时间)内未接收到任何数据包等。station 断开与 AP 之间的连接。
发生此事件时,事件任务将不做任何响应,但应用程序的事件回调函数需执行一些操作,例如:关闭与此 station 相关的套接字等。
WIFI_EVENT_AP_PROBEREQRECVED
默认情况下,此事件处于禁用状态,应用程序可以通过调用 API esp_wifi_set_event_mask() 启用。
启用后,每当 AP 接收到 probe request 时都将引发此事件。
WIFI_EVENT_STA_BEACON_TIMEOUT
如果 station 在 inactive 时间内未收到所连接 AP 的 beacon,将发生 beacon 超时,将引发此事件。inactive 时间通过调用函数 esp_wifi_set_inactive_time() 设置。
WIFI_EVENT_CONNECTIONLESS_MODULE_WAKE_INTERVAL_START
非连接模块在 Interval 开始时触发此事件。 请参考 非连接模块功耗管理 。
ESP32 Wi-Fi station 一般情况
下图为 station 模式下的宏观场景,其中包含不同阶段的具体描述:

station 模式下 Wi-Fi 事件场景示例
1. Wi-Fi/LwIP 初始化阶段
s1.1:主任务通过调用函数
esp_netif_init()创建一个 LwIP 核心任务,并初始化 LwIP 相关工作。s1.2:主任务通过调用函数
esp_event_loop_create()创建一个系统事件任务,并初始化应用程序事件的回调函数。在此情况下,该回调函数唯一的动作就是将事件中继到应用程序任务中。s1.3:主任务通过调用函数
esp_netif_create_default_wifi_ap()或esp_netif_create_default_wifi_sta()创建有 TCP/IP 堆栈的默认网络接口实例绑定 station 或 AP。s1.4:主任务通过调用函数
esp_wifi_init()创建 Wi-Fi 驱动程序任务,并初始化 Wi-Fi 驱动程序。s1.5:主任务通过调用 OS API 创建应用程序任务。
推荐按照 s1.1 ~ s1.5 的步骤顺序针对基于 Wi-Fi/LwIP 的应用程序进行初始化。但这一顺序 并非 强制,你可以在第 s1.1 步创建应用程序任务,然后在该应用程序任务中进行所有其它初始化操作。不过,如果你的应用程序任务依赖套接字,那么在初始化阶段创建应用程序任务可能并不适用。此时,你可以在接收到 IP 后再进行任务创建。
2. Wi-Fi 配置阶段
Wi-Fi 驱动程序初始化成功后,可以进入到配置阶段。该场景下,Wi-Fi 驱动程序处于 station 模式。因此,首先你需调用函数 esp_wifi_set_mode() (WIFI_MODE_STA) 将 Wi-Fi 模式配置为 station 模式。可通过调用其它 esp_wifi_set_xxx API 进行更多设置,例如:协议模式、国家代码、带宽等。请参阅 ESP32 Wi-Fi 配置。
一般情况下,我们会在建立 Wi-Fi 连接之前配置 Wi-Fi 驱动程序,但这 并非 强制要求。也就是说,只要 Wi-Fi 驱动程序已成功初始化,你可以在任意阶段进行配置。但是,如果你的 Wi-Fi 在建立连接后不需要更改配置,则应先在此阶段完成配置。因为调用配置 API(例如 esp_wifi_set_protocol())将会导致 Wi-Fi 连接断开,为操作带来不便。
如果 menuconfig 已使能 Wi-Fi NVS flash,则不论当前阶段还是后续的 Wi-Fi 配置信息都将被存储至该 flash 中。那么,当主板上电/重新启动时,就不需从头开始配置 Wi-Fi 驱动程序,只需调用函数 esp_wifi_get_xxx API 获取之前存储的配置信息。当然,如果不想使用之前的配置,你也可以重新配置 Wi-Fi 驱动程序。
3. Wi-Fi 启动阶段
s3.1:调用函数
esp_wifi_start()启动 Wi-Fi 驱动程序。s3.2:Wi-Fi 驱动程序将事件 WIFI_EVENT_STA_START 发布到事件任务中,然后,事件任务将执行一些正常操作并调用应用程序的事件回调函数。
s3.3:应用程序的事件回调函数将事件 WIFI_EVENT_STA_START 中继到应用程序任务中。此时,推荐调用函数
esp_wifi_connect()进行 Wi-Fi 连接。当然,你也可以等待在 WIFI_EVENT_STA_START 事件发生后的其它阶段再调用此函数。
4. Wi-Fi 连接阶段
s4.1:调用函数
esp_wifi_connect()后,Wi-Fi 驱动程序将启动内部扫描/连接过程。s4.2:如果内部扫描/连接过程成功,将产生 WIFI_EVENT_STA_CONNECTED 事件。然后,事件任务将启动 DHCP 客户端服务,最终触发 DHCP 程序。
s4.3:在此情况下,应用程序的事件回调函数会将 WIFI_EVENT_STA_CONNECTED 事件中继到应用程序任务中。通常,应用程序不需进行操作,而你可以执行任何动作,例如:打印日志等。
步骤 s4.2 中 Wi-Fi 连接可能会由于某些原因而失败,例如:密码错误、未找到 AP 等。这种情况下,将引发 WIFI_EVENT_STA_DISCONNECTED 事件并提示连接错误原因。有关如何处理中断 Wi-Fi 连接的事件,请参阅下文阶段 6 的描述。
5. Wi-Fi 获取 IP 阶段
s5.1:一旦步骤 4.2 中的 DHCP 客户端初始化完成,Wi-Fi 驱动程序将进入 获取 IP 阶段。
s5.2:如果 Wi-Fi 成功从 DHCP 服务器接收到 IP 地址,则将引发 IP_EVENT_STA_GOT_IP 事件,事件任务将执行正常处理。
s5.3:应用程序的事件回调函数将事件 IP_EVENT_STA_GOT_IP 中继到应用程序任务中。对于那些基于 LwIP 构建的应用程序,此事件较为特殊,因为它意味着应用程序已准备就绪,可以开始任务,例如:创建 TCP/UDP 套接字等。此时较为容易犯的一个错误就是在接收到 IP_EVENT_STA_GOT_IP 事件之前就初始化套接字。切忌在接收到 IP 之前启动任何套接字相关操作。
6. Wi-Fi 断开阶段
s6.1:当 Wi-Fi 因为某些原因(例如:AP 掉电、RSSI 较弱等)连接中断时,将产生 WIFI_EVENT_STA_DISCONNECTED 事件。此事件也可能在上文阶段 3 中发生。在这里,事件任务将通知 LwIP 任务清除/移除所有 UDP/TCP 连接。然后,所有应用程序套接字都将处于错误状态。也就是说,WIFI_EVENT_STA_DISCONNECTED 事件发生时,任何套接字都无法正常工作。
s6.2:上述情况下,应用程序的事件回调函数会将 WIFI_EVENT_STA_DISCONNECTED 事件中继到应用程序任务中。推荐调用函数
esp_wifi_connect()重新连接 Wi-Fi,关闭所有套接字,并在必要时重新创建套接字。请参阅 WIFI_EVENT_STA_DISCONNECTED。
7. Wi-Fi IP 更改阶段
s7.1:如果 IP 地址发生更改,将引发 IP_EVENT_STA_GOT_IP 事件,其中 "ip_change" 被置为 "true"。
s7.2:此事件对应用程序至关重要。这一事件发生时,适合关闭所有已创建的套接字并进行重新创建。
8. Wi-Fi 清理阶段
s8.1:调用函数
esp_wifi_disconnect()断开 Wi-Fi 连接。s8.2:调用函数
esp_wifi_stop()终止 Wi-Fi 驱动程序。s8.3:调用函数
esp_wifi_deinit()清理 Wi-Fi 驱动程序。
ESP32 Wi-Fi AP 一般情况
下图为 AP 模式下的宏观场景,其中包含不同阶段的具体描述:
AP 模式下 Wi-Fi 事件场景示例
ESP32 Wi-Fi 扫描
目前,仅 station 或 station/AP 共存模式支持 esp_wifi_scan_start() API。
扫描类型
模式 |
描述 |
|---|---|
主动扫描 |
通过发送 probe request 进行扫描。该模式为默认的扫描模式。 |
被动扫描 |
不发送 probe request。跳至某一特定信道并等待 beacon。应用程序可通过 |
前端扫描 |
在 station 模式下 Wi-Fi 未连接时,可进行前端扫描。Wi-Fi 驱动程序决定进行前端扫描还是后端扫描,应用程序无法配置这两种模式。 |
后端扫描 |
在 station 模式或 station/AP 共存模式下 Wi-Fi 已连接时,可进行后端扫描。Wi-Fi 驱动程序决定进行前端扫描还是后端扫描,应用程序无法配置这两种模式。 |
全信道扫描 |
扫描所有信道。 |
特定信道扫描 |
仅扫描特定的信道。 |
上表中的扫描模式可以任意组合,因此共有 8 种不同扫描方式:
全信道后端主动扫描
全信道后端被动扫描
全信道前端主动扫描
全信道后端被动扫描
特定信道后端主动扫描
特定信道后端被动扫描
特定信道前端主动扫描
特定信道前端被动扫描
扫描配置
扫描类型与其他扫描属性通过函数 esp_wifi_scan_start() 进行配置。下表详细描述了函数 wifi_scan_config_t 各字段信息。
字段 |
描述 |
|---|---|
ssid |
如果该字段的值不为 NULL,则仅可扫描到具有相同 SSID 值的 AP。 |
bssid |
如果该字段的值不为 NULL,则仅可扫描到具有相同 BSSID 值的 AP。 |
channel |
如果该字段值为 0,将进行全信道扫描;反之,将针对特定信道进行扫描。 |
show_hidden |
如果该字段值为 0,本次扫描将忽略具有隐藏 SSID 的 AP;反之,这些 AP 也会在扫描时被视为正常 AP。 |
scan_type |
如果该字段值为为 WIFI_SCAN_TYPE_ACTIVE,则本次扫描为主动扫描;反之,将被视为被动扫描。 |
scan_time |
该字段用于控制每个信道的扫描时间。 被动扫描时,scan_time.passive 字段负责为每个信道指定扫描时间。 主动扫描时,每个信道的扫描时间如下列表所示。其中,min 代表 scan_time_active_min,max 代表 scan_time_active_max。
如希望提升 Wi-Fi 扫描性能,则可修改上述两个参数。 |
调用 API esp_wifi_set_config() 可全局配置一些扫描属性,请参阅 station 基本配置。
在所有信道中扫描全部 AP(前端)
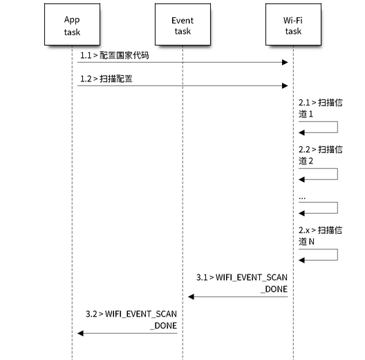
场景:

所有 Wi-Fi 信道的前端扫描
上述场景中描述了全信道前端扫描过程。仅 station 模式支持前端扫描,该模式下 station 未连接任何 AP。前端扫描还是后端扫描完全由 Wi-Fi 驱动程序决定,应用程序无法配置这一模式。
详细描述:
扫描配置阶段
s1.1:如果默认的国家信息有误,调用函数
esp_wifi_set_country()进行配置。请参阅 Wi-Fi 国家/地区代码。s1.2:调用函数
esp_wifi_scan_start()配置扫描信息,可参阅 扫描配置。该场景为全信道扫描,将 SSID/BSSID/channel 设置为 0 即可。
Wi-Fi 驱动程序内部扫描阶段
s2.1:Wi-Fi 驱动程序切换至信道 1,此时的扫描类型为 WIFI_SCAN_TYPE_ACTIVE,同时发送一个 probe request。反之,Wi-Fi 将等待接收 AP beacon。Wi-Fi 驱动程序将在信道 1 停留一段时间。min/max 扫描时间中定义了 Wi-Fi 在信道 1 中停留的时间长短,默认为 120 ms。
s2.2:Wi-Fi 驱动程序跳转至信道 2,并重复进行 s2.1 中的步骤。
s2.3:Wi-Fi 驱动程序扫描最后的信道 N,N 的具体数值由步骤 s1.1 中配置的国家代码决定。
扫描完成后事件处理阶段
s3.1:当所有信道扫描全部完成后,将产生 WIFI_EVENT_SCAN_DONE 事件。
s3.2:应用程序的事件回调函数告知应用程序任务已接收到 WIFI_EVENT_SCAN_DONE 事件。调用函数
esp_wifi_scan_get_ap_num()获取在本次扫描中找到的 AP 数量。然后,分配出足够的事物槽,并调用函数esp_wifi_scan_get_ap_records()获取 AP 记录。请注意,一旦调用esp_wifi_scan_get_ap_records(),Wi-Fi 驱动程序中的 AP 记录将被释放。但是,请不要在单个扫描完成事件中重复调用两次esp_wifi_scan_get_ap_records()。反之,如果扫描完成事件发生后未调用esp_wifi_scan_get_ap_records(),则 Wi-Fi 驱动程序中的 AP 记录不会被释放。因此,请务必确保调用函数esp_wifi_scan_get_ap_records(),且仅调用一次。
在所有信道上扫描全部 AP(后端)
场景:

所有 Wi-Fi 信道的后端扫描
上述场景为一次全信道后端扫描。与 在所有信道中扫描全部 AP(前端) 相比,全信道后端扫描的不同之处在于:在跳至下一个信道之前,Wi-Fi 驱动程序会先返回主信道停留 30 ms,以便 Wi-Fi 连接有一定的时间发送/接收数据。
在所有信道中扫描特定 AP
场景:

扫描特定的 Wi-Fi 信道
该扫描过程与 在所有信道中扫描全部 AP(前端) 相似。区别在于:
s1.1:在步骤 1.2 中,目标 AP 将配置为 SSID/BSSID。
s2.1 ~ s2.N:每当 Wi-Fi 驱动程序扫描某个 AP 时,它将检查该 AP 是否为目标 AP。如果本次扫描类型为
WIFI_FAST_SCAN,且确认已找到目标 AP,则将产生扫描完成事件,同时结束本次扫描;反之,扫描将继续。请注意,第一个扫描的信道可能不是信道 1,因为 Wi-Fi 驱动程序会优化扫描顺序。
如果有多个匹配目标 AP 信息的 AP,例如:碰巧扫描到两个 SSID 为 "ap" 的 AP。如果本次扫描类型为 WIFI_FAST_SCAN,则仅可找到第一个扫描到的 "ap";如果本次扫描类型为 WIFI_ALL_CHANNEL_SCAN,则两个 "ap“ 都将被找到,且 station 将根据配置规则连接至其需要连接的 "ap",请参阅 station 基本配置。
你可以在任意信道中扫描某个特定的 AP,或扫描该信道中的所有 AP。这两种扫描过程也较为相似。
在 Wi-Fi 连接模式下扫描
调用函数 esp_wifi_connect() 后,Wi-Fi 驱动程序将首先尝试扫描已配置的 AP。Wi-Fi 连接模式下的扫描过程与 在所有信道中扫描特定 AP 过程相同,但连接模式下扫描结束后将不会产生扫描完成事件。如果已找到目标 AP,则 Wi-Fi 驱动程序将开始 Wi-Fi 连接;反之,将产生 WIFI_EVENT_STA_DISCONNECTED 事件。请参阅 在所有信道中扫描特定 AP。
在禁用模式下扫描
如果函数 esp_wifi_scan_start() 中的禁用参数为 "true",则本次扫描为禁用模式下的扫描。在该次扫描完成之前,应用程序任务都将被禁用。禁用模式下的扫描和正常扫描相似,不同之处在于,禁用模式下扫描完成之后将不会出现扫描完成事件。
并行扫描
有时,可能会有两个应用程序任务同时调用函数 esp_wifi_scan_start(),或者某个应用程序任务在获取扫描完成事件之前再次调用了函数 esp_wifi_scan_start()。这两种情况都有可能会发生。但是,Wi-Fi 驱动程序并不足以支持多个并行的扫描。因此,应避免上述并行扫描。随着 ESP32 的 Wi-Fi 功能不断提升,未来的版本中可能会增加并行扫描支持。
连接 Wi-Fi 时扫描
如果 Wi-Fi 正在连接,则调用函数 esp_wifi_scan_start() 后扫描将立即失败,因为 Wi-Fi 连接优先级高于扫描。如果扫描是因为 Wi-Fi 连接而失败的,此时推荐采取的策略为:等待一段时间后重试。因为一旦 Wi-Fi 连接完成后,扫描将立即成功。
但是,延时重试策略并非万无一失。试想以下场景:
如果 station 正在连接一个不存在的 AP,或正在使用错误的密码连接一个 AP,此时将产生事件 WIFI_EVENT_STA_DISCONNECTED。
接收到断开连接事件后,应用程序调用函数
esp_wifi_connect()进行重新连接。而另一个应用程序任务(如,控制任务)调用了函数
esp_wifi_scan_start()进行扫描。这种情况下,每一次扫描都会立即失败,因为 station 一直处于正在连接状态。扫描失败后,应用程序将等待一段时间后进行重新扫描。
上述场景中的扫描永远不会成功,因为 Wi-Fi 一直处于正在连接过程中。因此,如果你的应用程序也可能发生相似的场景,那么就需要为其配置一个更佳的重新连接策略。例如:
应用程序可以定义一个连续重新连接次数的最大值,当重新连接的次数达到这个最大值时,立刻停止重新连接。
应用程序可以在首轮连续重新连接 N 次后立即进行重新连接,然后延时一段时间后再进行下一次重新连接。
可以给应用程序定义其特殊的重新连接策略,以防止扫描无法成功。请参阅 Wi-Fi 重新连接。
ESP32 Wi-Fi station 连接场景
该场景仅针对在扫描阶段只找到一个目标 AP 的情况,对于多个相同 SSID AP 的情况,请参阅 找到多个 AP 时的 ESP32 Wi-Fi station 连接。
通常,应用程序无需关心这一连接过程。如感兴趣,可参看下述简介。
场景:

Wi-Fi station 连接过程
扫描阶段
s1.1:Wi-Fi 驱动程序开始在“Wi-Fi 连接”模式下扫描。详细信息请参阅 在 Wi-Fi 连接模式下扫描。
s1.2:如果未找到目标 AP,将产生 WIFI_EVENT_STA_DISCONNECTED 事件,且原因代码为
WIFI_REASON_NO_AP_FOUND。请参阅 Wi-Fi 原因代码。
认证阶段
s2.1:发送认证请求数据包并使能认证计时器。
s1.2:如果在认证计时器超时之前未接收到认证响应数据包,将产生 WIFI_EVENT_STA_DISCONNECTED 事件,且原因代码为
WIFI_REASON_AUTH_EXPIRE。请参阅 Wi-Fi 原因代码。s2.3:接收到认证响应数据包,且认证计时器终止。
s2.4:AP 在响应中拒绝认证且产生 WIFI_EVENT_STA_DISCONNECTED 事件,原因代码为
WIFI_REASON_AUTH_FAIL或为 AP 指定的其它原因。请参阅 Wi-Fi 原因代码。
关联阶段
s3.1:发送关联请求并使能关联计时器。
s3.2:如果在关联计时器超时之前未接收到关联响应,将产生 WIFI_EVENT_STA_DISCONNECTED 事件,且原因代码为
WIFI_REASON_ASSOC_EXPIRE。请参阅 Wi-Fi 原因代码。s3.3:接收到关联响应,且关联计时器终止。
s3.4:AP 在响应中拒绝关联且产生 WIFI_EVENT_STA_DISCONNECTED 事件,原因代码将在关联响应中指定。请参阅 Wi-Fi 原因代码。
四次握手阶段
s4.1:使能握手定时器,定时器终止之前未接收到 1/4 EAPOL,此时将产生 WIFI_EVENT_STA_DISCONNECTED 事件,且原因代码为
WIFI_REASON_HANDSHAKE_TIMEOUT。请参阅 Wi-Fi 原因代码。s4.2:接收到 1/4 EAPOL。
s4.3:station 回复 2/4 EAPOL。
s4.4:如果在握手定时器终止之前未接收到 3/4 EAPOL,将产生 WIFI_EVENT_STA_DISCONNECTED 事件,且原因代码为
WIFI_REASON_HANDSHAKE_TIMEOUT。请参阅 Wi-Fi 原因代码。s4.5:接收到 3/4 EAPOL。
s4.6:station 回复 4/4 EAPOL。
s4.7:station 产生 WIFI_EVENT_STA_CONNECTED 事件。
Wi-Fi 原因代码
下表罗列了 ESP32 中定义的原因代码。其中,第一列为 esp_wifi/include/esp_wifi_types.h 中定义的宏名称。名称中省去了前缀 WIFI_REASON,也就是说,名称 UNSPECIFIED 实际应为 WIFI_REASON_UNSPECIFIED,以此类推。第二列为原因代码的相应数值。第三列为该原因映射到 IEEE 802.11-2020 中 9.4.1.7 段的标准值。(更多详细信息,请参阅前文描述。)最后一列为这一原因的描述。
原因代码 |
数值 |
映射值 |
描述 |
|---|---|---|---|
UNSPECIFIED |
1 |
1 |
出现内部错误,例如:内存已满,内部发送失败,或该原因已被远端接收等。 |
AUTH_EXPIRE |
2 |
2 |
先前的 authentication 已失效。 对于 ESP station,出现以下情况时将报告该代码:
对于 ESP AP,出现以下情况时将报告该代码:
|
AUTH_LEAVE |
3 |
3 |
authentication 取消,因为发送 station 正在离开(或已经离开)。 对于 ESP station,出现以下情况时报告该代码:
|
ASSOC_EXPIRE |
4 |
4 |
因为 AP 不活跃,association 取消。 对于 ESP station,出现以下情况时报告该代码:
对于 ESP AP,出现以下情况时将报告该代码:
|
ASSOC_TOOMANY |
5 |
5 |
association 取消,因为 AP 无法同时处理所有当前已关联的 STA。 对于 ESP station,出现以下情况时报告该代码:
对于 ESP AP,出现以下情况时将报告该代码:
|
NOT_AUTHED |
6 |
6 |
从一个未认证 station 接收到 class-2 frame。 对于 ESP station,出现以下情况时报告该代码:
对于 ESP AP,出现以下情况时将报告该代码:
|
NOT_ASSOCED |
7 |
7 |
从一个未关联 station 接收到的 class-3 frame。 对于 ESP station,出现以下情况时报告该代码:
对于 ESP AP,出现以下情况时将报告该代码:
|
ASSOC_LEAVE |
8 |
8 |
association 取消,因为发送 station 正在离开(或已经离开)BSS。 对于 ESP station,出现以下情况时报告该代码:
|
ASSOC_NOT_AUTHED |
9 |
9 |
station 的 re(association) 请求未被响应 station 认证。 对于 ESP station,出现以下情况时报告该代码:
对于 ESP AP,出现以下情况时将报告该代码:
|
DISASSOC_PWRCAP_BAD |
10 |
10 |
association 取消,因为无法接收功率能力 (Power Capability) 元素中的信息。 对于 ESP station,出现以下情况时报告该代码:
|
DISASSOC_SUPCHAN_BAD |
11 |
11 |
association 取消,因为无法接收支持的信道 (Supported Channels) 元素中的信息。 对于 ESP station,出现以下情况时报告该代码:
|
IE_INVALID |
13 |
13 |
无效元素,即内容不符合 Wi-Fi 协议中帧格式 (Frame formats) 章节所描述标准的元素。 对于 ESP station,出现以下情况时报告该代码:
对于 ESP AP,出现以下情况时将报告该代码:
|
MIC_FAILURE |
14 |
14 |
消息完整性代码 (MIC) 出错。 对于 ESP station,出现以下情况时报告该代码:
|
4WAY_HANDSHAKE_TIMEOUT |
15 |
15 |
四次握手超时。由于某些历史原因,在 ESP 中该原因代码实为 对于 ESP station,出现以下情况时报告该代码:
|
GROUP_KEY_UPDATE_TIMEOUT |
16 |
16 |
组密钥 (Group-Key) 握手超时。 对于 ESP station,出现以下情况时报告该代码:
|
IE_IN_4WAY_DIFFERS |
17 |
17 |
四次握手中产生的元素与 (re-)association 后的 request/probe 以及 response/beacon frame 中的信息不同。 对于 ESP station,出现以下情况时报告该代码:
|
GROUP_CIPHER_INVALID |
18 |
18 |
无效组密文。 对于 ESP station,出现以下情况时报告该代码:
|
PAIRWISE_CIPHER_INVALID |
19 |
19 |
无效成对密文。 对于 ESP station,出现以下情况时报告该代码:
|
AKMP_INVALID |
20 |
20 |
无效 AKMP。 对于 ESP station,出现以下情况时报告该代码: - 从 AP 接收到该代码。 |
UNSUPP_RSN_IE_VERSION |
21 |
21 |
不支持的 RSNE 版本。 对于 ESP station,出现以下情况时报告该代码:
|
INVALID_RSN_IE_CAP |
22 |
22 |
无效的 RSNE 性能。 对于 ESP station,出现以下情况时报告该代码:
|
802_1X_AUTH_FAILED |
23 |
23 |
IEEE 802.1X. authentication 失败。 对于 ESP station,出现以下情况时报告该代码:
对于 ESP AP,出现以下情况时将报告该代码:
|
CIPHER_SUITE_REJECTED |
24 |
24 |
因安全策略,安全密钥算法套件 (cipher suite) 被拒。 对于 ESP station,出现以下情况时报告该代码:
|
TDLS_PEER_UNREACHABLE |
25 |
25 |
通过 TDLS 直连无法到达TDLS 对端 STA,导致 TDLS 直连中断。 |
TDLS_UNSPECIFIED |
26 |
26 |
不明原因的 TDLS 直连中断。 |
SSP_REQUESTED_DISASSOC |
27 |
27 |
association 取消,由于会话被 SSP request 终止。 |
NO_SSP_ROAMING_AGREEMENT |
28 |
28 |
association 取消,由于缺乏 SSP 漫游认证。 |
BAD_CIPHER_OR_AKM |
29 |
29 |
请求的服务被拒绝,由于 SSP 密码套件或者 AKM 的需求。 |
NOT_AUTHORIZED_THIS_LO CATION |
30 |
30 |
请求的服务在此位置未得到授权。 |
SERVICE_CHANGE_PRECLUDES_TS |
31 |
31 |
TS 被删除,原因是:BSS 服务特性或者运行模式改变导致 Qos AP 缺少足够的带宽给 Qos STA 使用(例如:一个HT BSS 从 40 MHz 的信道切换到 20 MHz 的信道)。 |
UNSPECIFIED_QOS |
32 |
32 |
association 取消,由于不明确的 QoS 相关原因。 |
NOT_ENOUGH_BANDWIDTH |
33 |
33 |
association 取消,由于QoS AP 缺少足够的带宽给该 QoS STA 使用。 |
MISSING_ACKS |
34 |
34 |
association 取消,原因是:大量的帧需要被确认,但由于 AP 传输或者糟糕的信道条件而没有被确认。 |
EXCEEDED_TXOP |
35 |
35 |
association 取消,由于 STA 的传输超过了 TXOPs 的限制。 |
STA_LEAVING |
36 |
36 |
请求 STA 离开了 BSS 或者重置了。 |
END_BA |
37 |
37 |
请求 STA 不再使用该流或者会话。 |
UNKNOWN_BA |
38 |
38 |
请求 STA 使用一种尚未完成的机制接收帧。 |
TIMEOUT |
39 |
39 |
对端 STA 的请求超时。 |
Reserved |
40 ~ 45 |
40 ~ 45 |
保留 |
PEER_INITIATED |
46 |
46 |
在 Disassociation 帧中:已达到授权访问限制。 |
AP_INITIATED |
47 |
47 |
在 Disassociation 帧中:外部服务需求。 |
INVALID_FT_ACTION_FRAME_COUNT |
48 |
48 |
无效的 FT Action 帧计数。 |
INVALID_PMKID |
49 |
49 |
无效的成对主密钥标识符(PMKID)。 |
INVALID_MDE |
50 |
50 |
无效的 MDE。 |
INVALID_FTE |
51 |
51 |
无效的 FTE。 |
TRANSMISSION_LINK_ESTABLISHMENT_FAILED |
67 |
67 |
在备用信道中建立传输链路失败。 |
ALTERATIVE_CHANNEL_OCCUPIED |
68 |
68 |
备用信道被占用。 |
BEACON_TIMEOUT |
200 |
保留 |
乐鑫特有的 Wi-Fi 原因代码: 当 station 连续失去 N 个 beacon,将中断连接并报告该代码。 |
NO_AP_FOUND |
201 |
保留 |
乐鑫特有的 Wi-Fi 原因代码: 当 station 未扫描到目标 AP 时,将报告该代码。 |
AUTH_FAIL |
202 |
保留 |
乐鑫特有的 Wi-Fi 原因代码: authentication 失败,但并非由超时而引发。 |
ASSOC_FAIL |
203 |
保留 |
乐鑫特有的 Wi-Fi 原因代码: association 失败,但并非由 ASSOC_EXPIRE 或 ASSOC_TOOMANY 引发。 |
HANDSHAKE_TIMEOUT |
204 |
保留 |
乐鑫特有的 Wi-Fi 原因代码: 握手失败,与 WIFI_REASON_4WAY_HANDSHAKE_TIMEOUT 中失败原因相同。 |
CONNECTION_FAIL |
205 |
保留 |
乐鑫特有的 Wi-Fi 原因代码: AP 连接失败。 |
与密码错误有关的 Wi-Fi 原因代码
下表罗列了与密码错误相关的 Wi-Fi 原因代码。
原因代码 |
数值 |
描述 |
|---|---|---|
4WAY_HANDSHAKE_TIMEOUT |
15 |
四次握手超时。STA 在连接加密的 AP 的时候输入了错误的密码 |
NO_AP_FOUND |
201 |
密码错误会出现这个原因代码的场景有如下两个:
|
HANDSHAKE_TIMEOUT |
204 |
握手超时。 |
与低 RSSI 有关的 Wi-Fi 原因代码
下表罗列了与低 RSSI 相关的 Wi-Fi 原因代码。
原因代码 |
数值 |
描述 |
|---|---|---|
NO_AP_FOUND |
201 |
低 RSSI 导致 station 无法扫描到目标 AP |
HANDSHAKE_TIMEOUT |
204 |
握手超时。 |
找到多个 AP 时的 ESP32 Wi-Fi station 连接
该场景与 ESP32 Wi-Fi station 连接场景 相似,不同之处在于该场景中不会产生 WIFI_EVENT_STA_DISCONNECTED 事件,除非 station 无法连接所有找到的 AP。
Wi-Fi 重新连接
出于多种原因,station 可能会断开连接,例如:连接的 AP 重新启动等。应用程序应负责重新连接。推荐使用的方法为:在接收到 WIFI_EVENT_STA_DISCONNECTED 事件后调用函数 esp_wifi_connect()。
但有时,应用程序需要更复杂的方式进行重新连接:
如果断开连接事件是由调用函数
esp_wifi_disconnect()引发的,那么应用程序可能不希望进行重新连接。如果 station 随时可能调用函数
esp_wifi_scan_start()开始扫描,此时就需要一个更佳的重新连接方法,请参阅 连接 Wi-Fi 时扫描。
另一点需要注意的是,如果存在多个具有相同 SSID 的 AP,那么重新连接后可能不会连接到之前的同一个 AP。重新连接时,station 将永远选择最佳的 AP 进行连接。
Wi-Fi beacon 超时
ESP32 使用 beacon 超时机制检测 AP 是否活跃。如果 station 在 inactive 时间内未收到所连接 AP 的 beacon,将发生 beacon 超时。inactive 时间通过调用函数 esp_wifi_set_inactive_time() 设置。
beacon 超时发生后,station 将向 AP 发送 5 个 probe request,如果仍未从 AP 接收到 probe response 或 beacon,station 将与 AP 断开连接并产生 WIFI_EVENT_STA_DISCONNECTED 事件。
需要注意的是,扫描过程中会重置 beacon 超时所使用的定时器,即扫描过程会影响 WIFI_EVENT_STA_BEACON_TIMEOUT 事件的触发。
ESP32 Wi-Fi 配置
使能 Wi-Fi NVS 时,所有配置都将存储到 flash 中;反之,请参阅 Wi-Fi NVS Flash。
Wi-Fi 模式
调用函数 esp_wifi_set_mode() 设置 Wi-Fi 模式。
模式 |
描述 |
|---|---|
|
NULL 模式:此模式下,内部数据结构不分配给 station 和 AP,同时,station 和 AP 接口不会为发送/接收 Wi-Fi 数据进行初始化。通常,此模式用于 Sniffer,或者你不想通过调用函数 |
|
station 模式:此模式下, |
|
AP 模式:在此模式下, |
|
station/AP 共存模式:在此模式下,函数 |
station 基本配置
API esp_wifi_set_config() 可用于配置 station。配置的参数信息会保存到 NVS 中。下表详细介绍了各个字段。
字段 |
描述 |
|---|---|
ssid |
station 想要连接的目标 AP 的 SSID。 |
password |
目标 AP 的密码。 |
scan_method |
|
bssid_set |
如果 bssid_set 为 0,station 连接 SSID 与 “ssid” 字段相同的 AP,同时忽略字段 “bssid”。其他情况下,station 连接 SSID 与 “ssid” 字段相同、BSSID 与 “bssid” 字段也相同的 AP。 |
bssid |
只有当 bssid_set 为 1 时有效。见字段 “bssid_set”。 |
channel |
该字段为 0 时,station 扫描信道 1 ~ N 寻找目标 AP;否则,station 首先扫描值与 “channel” 字段相同的信道,再扫描其他信道。比如,当该字段设置为 3 时,扫描顺序为 3,1,2,...,N 。如果你不知道目标 AP 在哪个信道,请将该字段设置为 0。 |
sort_method |
该字段仅用于 如果设置为 如果设置为 |
threshold |
该字段用来筛选找到的 AP,如果 AP 的 RSSI 或安全模式小于配置的阈值,则不会被连接。 如果 RSSI 设置为 0,则表示默认阈值、默认 RSSI 阈值为 -127 dBm。如果 authmode 阈值设置为 0,则表示默认阈值,默认 authmode 阈值无授权。 |
注意
WEP/WPA 安全模式在 IEEE802.11-2016 协议中已弃用,建议不要使用。可使用 authmode 阈值代替,通过将 threshold.authmode 设置为 WIFI_AUTH_WPA2_PSK 使用 WPA2 模式
AP 基本配置
API esp_wifi_set_config() 可用于配置 AP。配置的参数信息会保存到 NVS 中。下表详细介绍了各个字段。
字段 |
描述 |
|---|---|
ssid |
指 AP 的 SSID。如果 ssid[0] 和 ssid[1] 均为 0xFF,AP 默认 SSID 为 |
password |
AP 的密码。如果身份验证模式为 |
ssid_len |
SSID 的长度。如果 ssid_len 为 0,则检查 SSID 直至出现终止字符。如果 ssid_len 大于 32,请更改为 32,或者根据 ssid_len 设置 SSID 长度。 |
channel |
AP 的信道。如果信道超出范围,Wi-Fi 驱动程序将默认为信道 1。所以,请确保信道在要求的范围内。有关详细信息,请参阅 Wi-Fi 国家/地区代码。 |
authmode |
ESP AP 的身份验证模式。目前,ESP AP 不支持 AUTH_WEP。如果 authmode 是一个无效值,AP 默认该值为 |
ssid_hidden |
如果 ssid_hidden 为 1,AP 不广播 SSID。若为其他值,则广播。 |
max_connection |
允许连接 station 的最大数目,默认值是 10。ESP Wi-Fi 支持 15 ( |
beacon_interval |
beacon 间隔。值为 100 ~ 60000 ms,默认值为 100 ms。如果该值不在上述范围,AP 默认取 100 ms。 |
Wi-Fi 协议模式
目前,IDF 支持以下协议模式:
协议模式 |
描述 |
|---|---|
802.11b |
调用函数 |
802.11bg |
调用函数 |
802.11g |
调用函数 |
802.11bgn |
调用函数 |
802.11gn |
调用函数 |
802.11 BGNLR |
调用函数 |
802.11 LR |
调用函数 此模式是乐鑫的专利模式,可以达到 1 公里视线范围。请确保 station 和 AP 同时连接至 ESP 设备。 |
长距离 (LR)
长距离 (LR) 模式是乐鑫的一项专利 Wi-Fi 模式,可达到 1 公里视线范围。与传统 802.11b 模式相比,接收灵敏度更高,抗干扰能力更强,传输距离更长。
LR 兼容性
由于 LR 是乐鑫的独有 Wi-Fi 模式,只有 ESP32 芯片系列设备(ESP32-C2 除外)才能传输和接收 LR 数据。也就是说,如果连接的设备不支持 LR,ESP32 芯片系列设备(ESP32-C2 除外)则不会以 LR 数据速率传输数据。可通过配置适当的 Wi-Fi 模式使你的应用程序实现这一功能。如果协商的模式支持 LR,ESP32 芯片系列设备(ESP32-C2 除外)可能会以 LR 速率传输数据,否则,ESP32 芯片系列设备(ESP32-C2 除外)将以传统 Wi-Fi 数据速率传输所有数据。
下表是 Wi-Fi 模式协商:
APSTA |
BGN |
BG |
B |
BGNLR |
BGLR |
BLR |
LR |
|---|---|---|---|---|---|---|---|
BGN |
BGN |
BG |
B |
BGN |
BG |
B |
|
BG |
BG |
BG |
B |
BG |
BG |
B |
|
B |
B |
B |
B |
B |
B |
B |
|
BGNLR |
BGNLR |
BGLR |
BLR |
LR |
|||
BGLR |
BGLR |
BGLR |
BLR |
LR |
|||
BLR |
BLR |
BLR |
BLR |
LR |
|||
LR |
LR |
LR |
LR |
LR |
上表中,行是 AP 的 Wi-Fi 模式,列是 station 的 Wi-Fi 模式。"-" 表示 AP 和 station 的 Wi-Fi 模式不兼容。
根据上表,得出以下结论:
对于已使能 LR 的 ESP32 AP,由于以 LR 模式发送 beacon,因此与传统的 802.11 模式不兼容。
对于已使能 LR 且并非仅 LR 模式的 ESP32 station,与传统 802.11 模式兼容。
如果 station 和 AP 都是 ESP32 芯片系列设备(ESP32-C2 除外),并且两者都使能 LR 模式,则协商的模式支持 LR。
如果协商的 Wi-Fi 模式同时支持传统的 802.11 模式和 LR 模式,则 Wi-Fi 驱动程序会在不同的 Wi-Fi 模式下自动选择最佳数据速率,应用程序无需任何操作。
LR 对传统 Wi-Fi 设备的影响
以 LR 速率进行的数据传输不会影响传统 Wi-Fi 设备,因为:
LR 模式下的 CCA 和回退过程符合 802.11 协议。
传统的 Wi-Fi 设备可以通过 CCA 检测 LR 信号并进行回退。
也就是说,LR 模式下传输效果与 802.11b 模式相似。
LR 传输距离
LR 的接收灵敏度比传统的 802.11b 模式高 4 dB,理论上,传输距离约为 802.11b 的 2 至 2.5 倍。
LR 吞吐量
因为原始 PHY 数据传输速率为 1/2 Mbps 和 1/4 Mbps,LR 的吞吐量有限。
何时使用 LR
通常使用 LR 的场景包括:
AP 和 station 都是乐鑫设备。
需要长距离 Wi-Fi 连接和数据传输。
数据吞吐量要求非常小,例如远程设备控制等。
Wi-Fi 国家/地区代码
调用 esp_wifi_set_country(),设置国家/地区信息。下表详细介绍了各个字段,请在配置这些字段之前参考当地的 2.4 GHz RF 操作规定。
字段 |
描述 |
|---|---|
cc[3] |
国家/地区代码字符串,此属性标识 station/AP 位于的国家/地区或非国家/地区实体。如果是一个国家/地区,该字符串的前两个八位字节是 ISO/IEC3166-1 中规定的国家/地区两位字母代码。第三个八位字节应是下述之一:
|
schan |
起始信道,station/AP 所处国家/地区规定的最小信道值。 |
nchan |
规定的总信道数,比如,如果 schan=1,nchan=13,那么 station/AP 可以从信道 1 至 13 发送数据。 |
policy |
国家/地区策略,当配置的国家/地区信息与所连 AP 的国家/地区信息冲突时,该字段决定使用哪一信息。更多策略相关信息,可参见下文。 |
默认国家/地区信息为:
wifi_country_t config = {
.cc = "01",
.schan = 1,
.nchan = 11,
.policy = WIFI_COUNTRY_POLICY_AUTO,
};
如果 Wi-Fi 模式为 station/AP 共存模式,则它们配置的国家/地区信息相同。有时,station 所连 AP 的国家/地区信息与配置的不同。例如,配置的 station 国家/地区信息为:
wifi_country_t config = {
.cc = "JP",
.schan = 1,
.nchan = 14,
.policy = WIFI_COUNTRY_POLICY_AUTO,
};
但所连 AP 的国家/地区信息为:
wifi_country_t config = {
.cc = "CN",
.schan = 1,
.nchan = 13,
};
此时,使用所连 AP 的国家/地区信息。
下表描述了在不同 Wi-Fi 模式和不同国家/地区策略下使用的国家/地区信息,并描述了对主动扫描的影响。
Wi-Fi 模式 |
策略 |
描述 |
|---|---|---|
station 模式 |
WIFI_COUNTRY_POLICY_AUTO |
如果所连 AP 的 beacon 中有国家/地区的 IE,使用的国家/地区信息为 beacon 中的信息,否则,使用默认信息。 扫描时:
请记住,如果带有隐藏 SSID 的 AP 和 station 被设置在被动扫描信道上,被动扫描将无法找到该 AP。也就是说,如果应用程序希望在每个信道中找到带有隐藏 SSID 的 AP,国家/地区信息应该配置为 WIFI_COUNTRY_POLICY_MANUAL。 |
station 模式 |
WIFI_COUNTRY_POLICY_MANUAL |
总是使用配置的国家/地区信息。 扫描时:
|
AP 模式 |
WIFI_COUNTRY_POLICY_AUTO |
总是使用配置的国家/地区信息。 |
AP 模式 |
WIFI_COUNTRY_POLICY_MANUAL |
总是使用配置的国家/地区信息。 |
station/AP 共存模式 |
WIFI_COUNTRY_POLICY_AUTO |
该 station 与 station 模式、WIFI_COUNTRY_POLICY_AUTO 策略下使用的国家/地区信息相同。 如果 station 不连接任何外部 AP,AP 使用配置的国家/地区信息。如果 station 连接一个外部 AP,该 AP 的国家/地区信息与该 station 相同。 |
station/AP 共存模式 |
WIFI_COUNTRY_POLICY_MANUAL |
该 station 与 station 模式、WIFI_COUNTRY_POLICY_MANUAL 策略下使用的国家/地区信息相同。 该 AP 与 AP 模式、WIFI_COUNTRY_POLICY_MANUAL 策略下使用的国家/地区信息相同。 |
主信道
AP 模式下,AP 的信道定义为主信道。station 模式下,station 所连 AP 的信道定义为主信道。station/AP 共存模式下,AP 和 station 的主信道必须相同。如果不同,station 的主信道始终优先。比如,初始时,AP 位于信道 6,但 station 连接信道 9 的 AP。因为 station 的主信道具有优先性,该 AP 需要将信道从 6 切换至 9,确保与 station 主信道相同。切换信道时,AP 模式下的 ESP32 将使用信道切换公告 (CSA) 通知连接的 station。支持信道切换的 station 将直接通过,无需与 AP 断连再重新连接。
Wi-Fi 供应商 IE 配置
默认情况下,所有 Wi-Fi 管理帧都由 Wi-Fi 驱动程序处理,应用程序不需要任何操作。但是,某些应用程序可能需要处理 beacon、probe request、probe response 和其他管理帧。例如,如果在管理帧中插入一些只针对供应商的 IE,则只有包含此 IE 的管理帧才能得到处理。ESP32 中,esp_wifi_set_vendor_ie() 和 esp_wifi_set_vendor_ie_cb() 负责此类任务。
Wi-Fi Easy Connect™ (DPP)
Wi-Fi Easy ConnectTM (也称为设备配置协议)是一个安全且标准化的配置协议,用于配置 Wi-Fi 设备。更多信息请参考 esp_dpp。
WPA2-Enterprise
WPA2-Enterprise 是企业无线网络的安全认证机制。在连接到接入点之前,它使用 RADIUS 服务器对网络用户进行身份验证。身份验证过程基于 802.1X 标准,并有不同的扩展身份验证协议 (EAP) 方法,如 TLS、TTLS、PEAP 等。RADIUS 服务器根据用户的凭据(用户名和密码)、数字证书或两者对用户进行身份验证。当处于 station 模式的 ESP32 尝试连接到企业模式的 AP 时,它会向 AP 发送身份验证请求,AP 会将该请求发送到 RADIUS 服务器以对 station 进行身份验证。根据不同的 EAP 方式,可以通过 idf.py menuconfig 打开配置,并在配置中设置参数。ESP32 仅在 station 模式下支持 WPA2_Enterprise。
为了建立安全连接,AP 和 station 协商并就要使用的最佳密码套件达成一致。ESP32 支持 AKM 的 802.1X/EAP (WPA) 方法和 AES-CCM(高级加密标准-带密码块链消息验证码协议的计数器模式)支持的密码套件。如果设置了 USE_MBEDTLS_CRYPTO 标志,ESP32 也支持 mbedtls 支持的密码套件。
- 目前,ESP32 支持以下 EAP 方法:
EAP-TLS:这是基于证书的方法,只需要 SSID 和 EAP-IDF。
PEAP:这是受保护的 EAP 方法。用户名和密码是必填项。
- EAP-TTLS:这是基于凭据的方法。只有服务器身份验证是强制性的,而用户身份验证是可选的。用户名和密码是必填项。 它支持不同的 Phase2 方法,例如:
PAP:密码认证协议
CHAP:询问握手身份验证协议
MSCHAP 和 MSCHAP-V2
EAP-FAST:这是一种基于受保护的访问凭据 (PAC) 的认证方法,使用身份验证和密码。目前使用此功能时需要禁用 USE_MBEDTLS_CRYPTO 标志。
请查看 wifi/wifi_enterprise 获取关于证书创建以及如何在 ESP32 上运行 wpa2_enterprise 示例的详细信息。
无线网络管理
无线网络管理让客户端设备能够交换有关网络拓扑结构的信息,包括与射频环境相关的信息。这使每个客户端都能感知网络状况,从而促进无线网络性能的整体改进。这是 802.11v 规范的一部分。它还使客户端能够支持网络辅助漫游。 网络辅助漫游让 WLAN 能够向关联的客户端发送消息,从而使客户端与具有更好链路指标的 AP 关联。这对于促进负载平衡以及引导连接不良的客户端都很有用。
目前 802.11v 的实现支持 BSS 过渡管理帧。
无线资源管理
无线电资源测量 (802.11k) 旨在改善网络内流量的分配方式。在无线局域网中,一般情况下,无线设备会连接发射信号最强的接入点 (AP)。根据用户的数量和地理位置,这种分配方式有时会导致某个接入点超负荷而其它接入点利用不足,从而导致整体网络性能下降。在符合 802.11k 规范的网络中,如果信号最强的 AP 已满负荷加载,无线设备则转移到其它未充分利用的 AP。尽管信号可能较弱,但由于更有效地利用了网络资源,总体吞吐量会更大。
目前 802.11k 的实现支持信标测量报告、链路测量报告和邻居请求。
请参考 IDF 示例程序 examples/wifi/roaming/README.md 来设置和使用这些 API。示例代码只演示了如何使用这些 API,应用程序应根据需要定义自己的算法和案例。
ESP32 Wi-Fi 节能模式
本小节将简单介绍Wi-Fi节能模式相关的概念和使用方式,更加详细的介绍请参考 低功耗模式使用指南。
station 睡眠
目前, ESP32 Wi-Fi 支持 Modem-sleep 模式,该模式是 IEEE 802.11 协议中的传统节能模式。仅 station 模式支持该模式,station 必须先连接到 AP。如果使能了 Modem-sleep 模式,station 将定期在活动状态和睡眠状态之间切换。在睡眠状态下,RF、PHY 和 BB 处于关闭状态,以减少功耗。Modem-sleep 模式下,station 可以与 AP 保持连接。
Modem-sleep 模式包括最小和最大节能模式。在最小节能模式下,每个 DTIM 间隔,station 都将唤醒以接收 beacon。广播数据在 DTIM 之后传输,因此不会丢失。但是,由于 DTIM 间隔长短由 AP 决定,如果该间隔时间设置较短,则省电效果不大。
在最大节能模式下,每个监听间隔,station 都将唤醒以接收 beacon。可以设置该监听间隔长于 AP 的 DTIM 周期。在 DTIM 期间内,station 可能处于睡眠状态,广播数据会丢失。如果监听间隔较长,则可以节省更多电量,但广播数据更容易丢失。连接 AP 前,可以通过调用 API esp_wifi_set_config() 配置监听间隔。
调用 esp_wifi_init() 后,调用 esp_wifi_set_ps(WIFI_PS_MIN_MODEM) 可使能 Modem-sleep 最小节能模式。调用 esp_wifi_set_ps(WIFI_PS_MAX_MODEM) 可使能 Modem-sleep 最大节能模式。station 连接到 AP 时,Modem-sleep 模式将启动。station 与 AP 断开连接时,Modem-sleep 模式将停止。
调用 esp_wifi_set_ps(WIFI_PS_NONE) 可以完全禁用 Modem-sleep 模式。禁用会增大功耗,但可以最大限度减少实时接收 Wi-Fi 数据的延迟。使能 Modem-sleep 模式时,接收 Wi-Fi 数据的延迟时间可能与 DTIM 周期(最小节能模式)或监听间隔(最大节能模式)相同。
注意在共存模式下, 即使调用 esp_wifi_set_ps(WIFI_PS_NONE), Wi-Fi 也仅会在 Wi-Fi 时间片内保持活动状态, 非 Wi-Fi 时间片内仍然睡眠。请参照 共存策略。
默认的 Modem-sleep 模式是 WIFI_PS_MIN_MODEM。
AP 睡眠
目前,ESP32 AP 不支持 Wi-Fi 协议中定义的所有节能功能。具体来说,AP 只缓存所连 station 单播数据,不缓存组播数据。如果 ESP32 AP 所连的 station 已使能节能功能,可能发生组播数据包丢失。
未来,ESP32 AP 将支持所有节能功能。
非连接状态下的休眠
非连接状态指的是 esp_wifi_start() 至 esp_wifi_stop() 期间内,没有建立 Wi-Fi 连接的阶段。
目前, ESP32 Wi-Fi 支持以 station 模式运行时,在非连接状态下休眠。可以通过选项 CONFIG_ESP_WIFI_STA_DISCONNECTED_PM_ENABLE 配置该功能。
如果打开配置选项 CONFIG_ESP_WIFI_STA_DISCONNECTED_PM_ENABLE,则在该阶段内,RF, PHY and BB 将在空闲时被关闭,电流将会等同于 Modem-sleep 模式下的休眠电流。
配置选项 CONFIG_ESP_WIFI_STA_DISCONNECTED_PM_ENABLE 默认情况下将会被打开,共存模式下被 Menuconfig 强制打开。
非连接模块功耗管理
非连接模块指的是一些不依赖于 Wi-Fi 连接的 Wi-Fi 模块,例如 ESP-NOW,DPP,FTM。这些模块从 esp_wifi_start() 开始工作至 esp_wifi_stop() 结束。
目前,ESP-NOW 以 station 模式工作时,既支持在连接状态下休眠,也支持在非连接状态下休眠。
非连接模块发包
对于任何非连接模块,在开启了休眠的任何时间点都可以发包,不需要进行任何额外的配置。
此外,esp_wifi_80211_tx() 也在休眠时被支持。
非连接模块收包
对于非连接模块,在开启休眠时如果需要进行收包,需要配置两个参数,分别为 Window 和 Interval。
在每个 Interval 开始时,RF, PHY and BB 将会被打开并保持 Window 的时间。非连接模块可以在此时间内收包。
Interval
全局只有一个 Interval 参数,所有非连接模块共享它。其数值由 API
esp_wifi_set_connectionless_interval()配置,单位为毫秒。Interval 的默认值为 ESP_WIFI_CONNECTIONLESS_INTERVAL_DEFAULT_MODE 。
在 Interval 开始时,将会给出 WIFI_EVENT_CONNECTIONLESS_MODULE_WAKE_INTERVAL_START 事件,由于 Window 将在此时开始,可以在此事件内布置发包动作。
在连接状态下,Interval 开始的时间点将会与 TBTT 时间点对齐。
Window
每个非连接模块在启动后都有其自身的 Window 参数,休眠模块将取所有模块 Window 的最大值运作。
其数值由 API
module_name_set_wake_window()配置,单位为毫秒。模块 Window 的默认值为最大值。
Interval |
|||
|
1 - maximum |
||
Window |
0 |
not used |
|
1 - maximum |
default mode |
used periodically (Window < Interval) / used all time (Window ≥ Interval) |
|
默认模式
当 Interval 参数被配置为 ESP_WIFI_CONNECTIONLESS_INTERVAL_DEFAULT_MODE ,且有非零的 Window 参数时,非连接模块功耗管理将会按默认模式运行。
在没有与非 Wi-Fi 协议共存时,RF、PHY 和 BB 将会在默认模式下被一直打开。
在与非 Wi-Fi 协议共存时,RF、PHY 和 BB 资源被共存模块分时划给 Wi-Fi 非连接模块和非 Wi-Fi 协议使用。在默认模式下,Wi-Fi 非连接模块被允许周期性使用 RF、PHY 和 BB,并且具有稳定性能。
推荐在与非 Wi-Fi 协议共存时将非连接模块功耗管理配置为默认模式。
ESP32 Wi-Fi 吞吐量
下表是我们在 Espressif 实验室和屏蔽箱中获得的最佳吞吐量结果。
类型/吞吐量 |
实验室空气状况 |
屏蔽箱 |
测试工具 |
IDF 版本 (commit ID) |
|---|---|---|---|---|
原始 802.11 数据包接收数据 |
N/A |
130 MBit/s |
内部工具 |
N/A |
原始 802.11 数据包发送数据 |
N/A |
130 MBit/s |
内部工具 |
N/A |
UDP 接收数据 |
30 MBit/s |
85 MBit/s |
iperf example |
15575346 |
UDP 发送数据 |
30 MBit/s |
75 MBit/s |
iperf example |
15575346 |
TCP 接收数据 |
20 MBit/s |
65 MBit/s |
iperf example |
15575346 |
TCP 发送数据 |
20 MBit/s |
75 MBit/s |
iperf example |
15575346 |
使用 iperf example 测试吞吐量时,sdkconfig 是 examples/wifi/iperf/sdkconfig.defaults.esp32。
Wi-Fi 80211 数据包发送
esp_wifi_80211_tx() API 可用于:
发送 beacon、probe request、probe response 和 action 帧。
发送非 QoS 数据帧。
不能用于发送加密或 QoS 帧。
使用 esp_wifi_80211_tx() 的前提条件
Wi-Fi 模式为 station 模式,AP 模式,或 station/AP 共存模式。
API esp_wifi_set_promiscuous(true) 或
esp_wifi_start(),或者二者都返回ESP_OK。这是为确保在调用函数esp_wifi_80211_tx()前,Wi-Fi 硬件已经初始化。对于 ESP32,esp_wifi_set_promiscuous(true) 和esp_wifi_start()都可以触发 Wi-Fi 硬件初始化。提供正确的
esp_wifi_80211_tx()参数。
传输速率
默认传输速率为 1 Mbps。
可以通过函数
esp_wifi_config_80211_tx_rate()设置任意速率。可以通过函数
esp_wifi_set_bandwidth()设置任意带宽。
在不同情况下需要避免的副作用
理论上,如果不考虑 API 对 Wi-Fi 驱动程序或其他 station 或 AP 的副作用,可以通过空中发送一个原始的 802.11 数据包,包括任何目的地址的 MAC、任何源地址的 MAC、任何 BSSID、或任何其他类型的数据包。但是,一个具有强健、有用的应用程序应该避免这种副作用。下表针对如何避免 esp_wifi_80211_tx() 的副作用提供了一些提示或建议。
场景 |
描述 |
|---|---|
无 Wi-Fi 连接 |
在这种情况下,因为没有 Wi-Fi 连接,Wi-Fi 驱动程序不会受到副作用影响。如果 理论上,MAC 地址可以是任何地址。但是,这样可能会影响其他使用相同 MAC/BSSID 的 station/AP。 例如,AP 模式下,应用程序调用函数 为了避免上述副作用,我们建议:
上述建议仅供避免副作用,在有充分理由的情况下可以忽略。 |
有 Wi-Fi 连接 |
当 Wi-Fi 已连接,且序列由应用程序控制,应用程序可能会影响整个 Wi-Fi 连接的序列控制。 因此,en_sys_seq 要为 true,否则将返回 “无 Wi-Fi 连接”情况下的 MAC 地址建议也适用于此情况。 如果 Wi-Fi 模式是 station 模式,MAC 的地址 1 是 station 所连 AP 的 MAC,地址 2 是 station 接口的 MAC,那么就称数据包是从 station 发送到 AP。另一方面,如果 Wi-Fi 模式是 AP 模式,且 MAC 地址 1 是该 AP 所连 station 的 MAC,地址 2 是 AP 接口的 MAC,那么就称数据包是从 AP 发送到 station。为避免与 Wi-Fi 连接冲突,可采用以下检查方法:
如果任何检查失败,将返回 |
Wi-Fi Sniffer 模式
Wi-Fi Sniffer 模式可以通过 esp_wifi_set_promiscuous() 使能。如果使能 Sniffer 模式, 可以 向应用程序转储以下数据包。
802.11 管理帧
802.11 数据帧,包括 MPDU、AMPDU、AMSDU 等
802.11 MIMO 帧,Sniffer 模式仅转储 MIMO 帧的长度。
802.11 控制帧
802.11 CRC 错误帧
不可以 向应用程序转储以下数据包。
802.11 其它错误帧
对于 Sniffer 模式 可以 转储的帧,应用程序可以另外使用 esp_wifi_set_promiscuous_filter() 和 esp_wifi_set_promiscuous_ctrl_filter() 决定筛选哪些特定类型的数据包。应用程序默认筛选所有 802.11 数据和管理帧。如果你想要筛选 802.11 控制帧,esp_wifi_set_promiscuous_filter() 中的 filter 参数需要包含 “WIFI_PROMIS_FILTER_MASK_CTRL” 类型, 如果你想进一步区分 802.11 控制帧,那么调用 esp_wifi_set_promiscuous_ctrl_filter()。
可以在 WIFI_MODE_NULL、WIFI_MODE_STA、WIFI_MODE_AP、WIFI_MODE_APSTA 等 Wi-Fi 模式下使能 Wi-Fi Sniffer 模式。也就是说,当 station 连接到 AP,或者 AP 有 Wi-Fi 连接时,就可以使能。请注意,Sniffer 模式对 station/AP Wi-Fi 连接的吞吐量有 很大影响。通常,除非有特别原因,当 station/AP Wi-Fi 连接出现大量流量,不应使能。
该模式下还应注意回调函数 wifi_promiscuous_cb_t 的使用。该回调将直接在 Wi-Fi 驱动程序任务中进行,所以如果应用程序需处理大量过滤的数据包,建议在回调中向应用程序任务发布一个事件,把真正的工作推迟到应用程序任务中完成。
Wi-Fi 多根天线
具体请参考 PHY。
Wi-Fi 信道状态信息
信道状态信息 (CSI) 是指 Wi-Fi 连接的信道信息。ESP32 中,CSI 由子载波的信道频率响应组成,CSI 从发送端接收数据包时开始估计。每个子载波信道频率响由两个字节的有符号字符记录,第一个字节是虚部,第二个字节是实部。根据接收数据包的类型,信道频率响应最多有三个字段。分别是 LLTF、HT-LTF 和 STBC-HT-LTF。对于在不同状态的信道上接收到的不同类型的数据包,CSI 的子载波索引和总字节数如下表所示。
信道 |
辅助信道 |
下 |
上 |
|||||||||||
数据包信息 |
信号模式 |
非 HT |
HT |
非 HT |
HT |
非 HT |
HT |
|||||||
信道带宽 |
20 MHz |
20 MHz |
20 MHz |
20 MHz |
40 MHz |
20 MHz |
20 MHz |
40 MHz |
||||||
STBC |
非 STBC |
非 STBC |
STBC |
非 STBC |
非 STBC |
STBC |
非 STBC |
STBC |
非 STBC |
非 STBC |
STBC |
非 STBC |
STBC |
|
子载波索引 |
LLTF |
0~31,-32~-1 |
0~31,-32~-1 |
0~31,-32~-1 |
0~63 |
0~63 |
0~63 |
0~63 |
0~63 |
-64~-1 |
-64~-1 |
-64~-1 |
-64~-1 |
-64~-1 |
HT-LTF |
— |
0~31,-32~-1 |
0~31,-32~-1 |
— |
0~63 |
0~62 |
0~63,-64~-1 |
0~60,-60~-1 |
— |
-64~-1 |
-62~-1 |
0~63,-64~-1 |
0~60,-60~-1 |
|
STBC-HT-LTF |
— |
— |
0~31,-32~-1 |
— |
— |
0~62 |
— |
0~60,-60~-1 |
— |
— |
-62~-1 |
— |
0~60,-60~-1 |
|
总字节数 |
128 |
256 |
384 |
128 |
256 |
380 |
384 |
612 |
128 |
256 |
376 |
384 |
612 |
|
表中的所有信息可以在 wifi_csi_info_t 结构中找到。
辅助信道指 rx_ctrl 字段的 secondary_channel 字段。
数据包的信号模式指 rx_ctrl 字段的 sig_mode 字段。
信道带宽指 rx_ctrl 字段中的 cwb 字段。
STBC 指 rx_ctrl 字段的 stbc 字段。
总字节数指 len 字段。
每个长训练字段 (LTF) 类型对应的 CSI 数据存储在从 buf 字段开始的缓冲区中。每个元素以两个字节的形式存储:虚部和实部。每个元素的顺序与表中的子载波相同。LTF 的顺序是 LLTF、HT-LTF 和 STBC-HT-LTF。但是,根据信道和数据包的信息,3 个 LTF 可能都不存在(见上文)。
如果
wifi_csi_info_t的 first_word_invalid 字段为 true,表示由于 ESP32 的硬件限制,CSI 数据的前四个字节无效。更多信息,如 RSSI,射频的噪声底,接收时间和天线 rx_ctrl 领域。
子载波的虚部和实部的使用请参考下表。
PHY 标准 |
子载波范围 |
导频子载波 |
子载波个数(总数/数据子载波) |
|---|---|---|---|
802.11a/g |
-26 to +26 |
-21, -7, +7, +21 |
52 total, 48 usable |
802.11n, 20 MHz |
-28 to +28 |
-21, -7, +7, +21 |
56 total, 52 usable |
802.11n, 40 MHz |
-57 to +57 |
-53, -25, -11, +11, +25, +53 |
114 total, 108 usable |
备注
对于 STBC 数据包,每个空时流都提供了 CSI,不会出现 CSD(循环移位延迟)。由于附加链上的每一次循环移位为 -200 ns,因为子载波 0 中没有信道频率响应,在 HT-LTF 和 STBC-HT-LTF 中只记录第一空时流的 CSD 角度。CSD[10:0] 是 11 位,范围从 -pi 到 pi。
如果调用 API
esp_wifi_set_csi_config()没有使能 LLTF、HT-LTF 或 STBC-HT-LTF,则 CSI 数据的总字节数会比表中的少。例如,如果没有使能 LLTF 和 HT-LTF,而使能 STBC-HT-LTF,当接收到上述条件、HT、40 MHz 或 STBC 的数据包时,CSI 数据的总字节数为 244((61+60)*2+2=244,结果对齐为四个字节,最后两个字节无效)。
Wi-Fi 信道状态信息配置
要使用 Wi-Fi CSI,需要执行以下步骤。
在菜单配置中选择 Wi-Fi CSI。方法是
Menuconfig>Components config>Wi-Fi>Wi-Fi CSI (Channel State Information)。调用 API
esp_wifi_set_csi_rx_cb()设置 CSI 接收回调函数。调用 API
esp_wifi_set_csi_config()配置 CSI。调用 API
esp_wifi_set_csi()使能 CSI。
CSI 接收回调函数从 Wi-Fi 任务中运行。因此,不要在回调函数中进行冗长的操作。可以将需要的数据发布到队列中,并从一个较低优先级的任务中处理。由于 station 在断开连接时不会收到任何数据包,只有在连接时才会收到来自 AP 的数据包,因此建议通过调用函数 esp_wifi_set_promiscuous() 使能 Sniffer 模式接收更多 CSI 数据。
Wi-Fi HT20/40
ESP32 支持 Wi-Fi 带宽 HT20 或 HT40,不支持 HT20/40 共存,调用函数 esp_wifi_set_bandwidth() 可改变 station/AP 的默认带宽。ESP32 station 和 AP 的默认带宽为 HT40。
station 模式下,实际带宽首先在 Wi-Fi 连接时协商。只有当 station 和所连 AP 都支持 HT40 时,带宽才为 HT40,否则为 HT20。如果所连的 AP 的带宽发生变化,则在不断开 Wi-Fi 连接的情况下再次协商实际带宽。
同样,在 AP 模式下,在 AP 与所连 station 协商实际带宽。如果 AP 和其中一个 station 支持 HT40, 则为 HT40, 否则为 HT20。
在 station/AP 共存模式下,station 和 AP 都可独立配置为 HT20/40。如果 station 和 AP 都协商为 HT40,由于 ESP32 中,station 的优先级总高于 AP,HT40 信道是 station 的信道。例如,AP 的配置带宽为 HT40,配置的主信道为 6,配置的辅助信道为 10。如果,station 所连路由器的主信道为 6、辅助信道为 2,AP 的实际信道将自动更改为主 6 和辅 2。
理论上,HT40 可以获得更大的吞吐量,因为 HT40 的最大原始 PHY 数据速率为 150 Mbps,而 HT20 为 72 Mbps。但是,如果设备在某些特殊环境中使用,例如,ESP32 周围其他 Wi-Fi 设备过多,HT40 的性能可能会降低。因此,如果应用程序需要支持相同或类似的情况,建议始终将带宽配置为 HT20。
Wi-Fi QoS
ESP32 支持 WFA Wi-Fi QoS 认证所要求的所有必备功能。
Wi-Fi 协议中定义了四个 AC(访问类别),每个 AC 有各自的优先级访问 Wi-Fi 信道。此外,还定义了映射规则以映射其他协议的 QoS 优先级,例如 802.11D 或 TCP/IP 到 Wi-Fi AC。
下表描述 ESP32 中 IP 优先级如何映射到 Wi-Fi AC,还指明此 AC 是否支持 AMPDU。该表按优先级降序排列,即 AC_VO 拥有最高优先级。
IP 优先级 |
Wi-Fi AC |
是否支持 AMPDU |
|---|---|---|
6, 7 |
AC_VO (Voice) |
否 |
4, 5 |
AC_VI (Video) |
是 |
3, 0 |
AC_BE (Best Effort) |
是 |
1, 2 |
AC_BK (Background) |
是 |
应用程序可以通过套接字选项 IP_TOS 配置 IP 优先级使用 QoS 功能。下面是使套接字使用 VI 队列的示例:
const int ip_precedence_vi = 4;
const int ip_precedence_offset = 5;
int priority = (ip_precedence_vi << ip_precedence_offset);
setsockopt(socket_id, IPPROTO_IP, IP_TOS, &priority, sizeof(priority));
理论上,高优先级的 AC 比低优先级 AC 具有更好的性能,但并非总是如此,下面是一些关于如何使用 Wi-Fi QoS 的建议:
可以把一些真正重要的应用程序流量放到 AC_VO 队列中。避免通过 AC_VO 队列发送大流量。一方面,AC_VO 队列不支持 AMPDU,如果流量很大,性能不会优于其他队列。另一方面,可能会影响同样使用 AC_VO 队列的管理帧。
避免使用 AMPDU 支持的、两个以上的不同优先级,比如 socket A 使用优先级 0,socket B 使用优先级 1,socket C 使用优先级 2。因为可能需要更多的内存,不是好的设计。具体来说,Wi-Fi 驱动程序可能会为每个优先级生成一个 Block Ack 会话,如果设置了 Block Ack 会话,则需要更多内存。
Wi-Fi AMSDU
ESP32 支持接收和发送 AMSDU。开启 AMSDU 发送比较消耗内存,默认不开启 AMSDU 发送。可通过选项 CONFIG_ESP_WIFI_AMSDU_TX_ENABLED 使能 AMSDU 发送功能, 但是使能 AMSDU 发送依赖于 CONFIG_SPIRAM 。
Wi-Fi 分片
支持 Wi-Fi 接收分片,但不支持 Wi-Fi 发送分片。
WPS 注册
在 Wi-Fi 模式 WIFI_MODE_STA 或 WIFI_MODE_APSTA 下,ESP32 支持 WPS 注册功能。目前,ESP32 支持的 WPS enrollee 类型有 PBC 和 PIN。
Wi-Fi 缓冲区使用情况
本节只介绍动态缓冲区配置。
缓冲区配置的重要性
为了获得一个具有强健、高性能的系统,我们需要非常谨慎地考虑内存的使用或配置情况,因为:
ESP32 的可用内存有限。
目前,LwIP 和 Wi-Fi 驱动程序中默认的缓冲区类型是“动态”,意味着 LwIP 和 Wi-Fi 都与应用程序共享内存。程序员应该时刻牢记这一点,否则将面临如“堆内存耗尽”等的内存问题。
“堆耗尽”情况非常危险,会导致 ESP32 出现“未定义行为”。因此,应该为应用程序预留足够的堆内存,防止耗尽。
Wi-Fi 的吞吐量很大程度上取决于与内存相关的配置,如 TCP 窗口大小、Wi-Fi 接收/发送数据动态缓冲区数量等。
ESP32 LwIP/Wi-Fi 可能使用的堆内存峰值取决于许多因素,例如应用程序可能拥有的最大 TCP/UDP 连接等。
在考虑内存配置时,应用程序所需的总内存也是一个重要因素。
由于这些原因,不存在一个适合所有应用程序的配置。相反,我们必须为每个不同的应用程序考虑不同的内存配置。
动态与静态缓冲区
Wi-Fi 驱动程序中默认的缓存类型是“动态”。大多数情况下,动态缓冲区可以极大地节省内存。但是因为应用程序需要考虑 Wi-Fi 的内存使用情况,会给应用程序编程造成一定的难度。
lwIP 还在 TCP/IP 层分配缓冲区,这种缓冲区分配也是动态的。具体内容,见 lwIP 文档内存使用和性能部分。
Wi-Fi 动态缓冲区峰值
Wi-Fi 驱动程序支持多种类型的缓冲区(参考 Wi-Fi 缓冲区配置 )。但本节只介绍 Wi-Fi 动态缓冲的使用方法 Wi-Fi 使用的堆内存峰值是 Wi-Fi 驱动程序 理论上消耗的最大内存。通常,该内存峰值取决于:
\(b_{rx}\) 配置的动态接收数据缓冲区数
\(b_{tx}\) 配置的动态发送数据缓冲区数
\(m_{rx}\) Wi-Fi 驱动程序可以接收的最大数据包
\(m_{tx}\) Wi-Fi 驱动程序可以发送的最大数据包
因此,Wi-Fi 驱动程序消耗的内存峰值(\(p\))可以用下面的公式计算:
一般情况下,不需要关心动态发送数据长缓冲区和超长缓冲区,因为它们是管理帧,对系统的影响很小。
如何提高 Wi-Fi 性能
ESP32 Wi-Fi 的性能受许多参数的影响,各参数之间存在相互制约。如果配置地合理,不仅可以提高性能,还可以增加应用程序的可用内存,提高稳定性。
在本节中,我们将简单介绍 Wi-Fi/LWIP 协议栈的工作模式,并说明各个参数的作用。我们将推荐几种配置等级,你可以根据使用场景选择合适的等级。
协议栈工作模式
ESP32 数据路径
ESP32 协议栈分为四层,分别为应用层、LWIP 层、Wi-Fi 层和硬件层。
在接收过程中,硬件将接收到的数据包放入 DMA 缓冲区,然后依次传送到 Wi-Fi 的接收数据缓冲区、LWIP 的接收数据缓冲区进行相关协议处理,最后传送到应用层。Wi-Fi 的接收数据缓冲区和 LWIP 的接收数据缓冲区默认共享同一个缓冲区。也就是说,Wi-Fi 默认将数据包转发到 LWIP 作为参考。
在发送过程中,应用程序首先将要发送的消息复制到 LWIP 层的发送数据缓冲区,进行 TCP/IP 封装。然后将消息发送到 Wi-Fi 层的发送数据缓冲区进行 MAC 封装,最后等待发送。
参数
适当增加上述缓冲区的大小或数量,可以提高 Wi-Fi 性能,但同时,会减少应用程序的可用内存。下面我们将介绍你需要配置的参数:
接收数据方向:
- CONFIG_ESP_WIFI_STATIC_RX_BUFFER_NUM
该参数表示硬件层的 DMA 缓冲区数量。提高该参数将增加发送方的一次性接收吞吐量,从而提高 Wi-Fi 协议栈处理突发流量的能力。
- CONFIG_ESP_WIFI_DYNAMIC_RX_BUFFER_NUM
该参数表示 Wi-Fi 层中接收数据缓冲区的数量。提高该参数可以增强数据包的接收性能。该参数需要与 LWIP 层的接收数据缓冲区大小相匹配。
- CONFIG_ESP_WIFI_RX_BA_WIN
该参数表示接收端 AMPDU BA 窗口的大小,应配置为 CONFIG_ESP_WIFI_STATIC_RX_BUFFER_NUM 和 CONFIG_ESP_WIFI_DYNAMIC_RX_BUFFER_NUM 的二倍数值中较小的数值。
- CONFIG_LWIP_TCP_WND_DEFAULT
该参数表示 LWIP 层用于每个 TCP 流的的接收数据缓冲区大小,应配置为 WIFI_DYNAMIC_RX_BUFFER_NUM (KB) 的值,从而实现高稳定性能。同时,在有多个流的情况下,应相应降低该参数值。
发送数据方向:
- CONFIG_ESP_WIFI_TX_BUFFER
该参数表示发送数据缓冲区的类型,建议配置为动态缓冲区,该配置可以充分利用内存。
- CONFIG_ESP_WIFI_DYNAMIC_TX_BUFFER_NUM
该参数表示 Wi-Fi 层发送数据缓冲区数量。提高该参数可以增强数据包发送的性能。该参数值需要与 LWIP 层的发送数据缓冲区大小相匹配。
- CONFIG_LWIP_TCP_SND_BUF_DEFAULT
该参数表示 LWIP 层用于每个 TCP 流的的发送数据缓冲区大小,应配置为 WIFI_DYNAMIC_TX_BUFFER_NUM (KB) 的值,从而实现高稳定性能。在有多个流的情况下,应相应降低该参数值。
通过在 IRAM 中放置代码优化吞吐量:
- CONFIG_ESP_WIFI_IRAM_OPT
如果使能该选项,一些 Wi-Fi 功能将被移至 IRAM,从而提高吞吐量,IRAM 使用量将增加 15 kB。
- CONFIG_ESP_WIFI_RX_IRAM_OPT
如果使能该选项,一些 Wi-Fi 接收数据功能将被移至 IRAM,从而提高吞吐量,IRAM 使用量将增加 16 kB。
- CONFIG_LWIP_IRAM_OPTIMIZATION
如果使能该选项,一些 LWIP 功能将被移至 IRAM,从而提高吞吐量,IRAM 使用量将增加 13 kB。
备注
上述的缓冲区大小固定为 1.6 KB。
如何配置参数
ESP32 的内存由协议栈和应用程序共享。
在这里,我们给出了几种配置等级。在大多数情况下,应根据应用程序所占用内存的大小,选择合适的等级进行参数配置。
下表中未提及的参数应设置为默认值。
等级 |
Iperf |
发送数据优先 |
高性能 |
接收数据优先 |
默认值 |
节省内存 |
最小 |
|---|---|---|---|---|---|---|---|
可用内存 (KB) |
37.1 |
113.8 |
123.3 |
145.5 |
144.5 |
170.2 |
185.2 |
WIFI_STATIC_RX_BUFFER_NUM |
16 |
6 |
6 |
6 |
6 |
6 |
4 |
WIFI_DYNAMIC_RX_BUFFER_NUM |
64 |
16 |
24 |
34 |
20 |
12 |
8 |
WIFI_DYNAMIC_TX_BUFFER_NUM |
64 |
28 |
24 |
18 |
20 |
12 |
8 |
WIFI_RX_BA_WIN |
32 |
8 |
12 |
12 |
10 |
6 |
禁用 |
TCP_SND_BUF_DEFAULT (KB) |
65 |
28 |
24 |
18 |
20 |
12 |
8 |
TCP_WND_DEFAULT (KB) |
65 |
16 |
24 |
34 |
20 |
12 |
8 |
WIFI_IRAM_OPT |
15 |
15 |
15 |
15 |
15 |
15 |
15 |
WIFI_RX_IRAM_OPT |
16 |
16 |
16 |
16 |
16 |
16 |
16 |
LWIP_IRAM_OPTIMIZATION |
13 |
13 |
13 |
13 |
13 |
13 |
13 |
TCP 发送数据吞吐量 (Mbit/s) |
74.6 |
50.8 |
46.5 |
39.9 |
44.2 |
33.8 |
25.6 |
TCP 接收数据吞吐量 (Mbit/s) |
63.6 |
35.5 |
42.3 |
48.5 |
40.5 |
30.1 |
27.8 |
UDP 发送数据吞吐量 (Mbit/s) |
76.2 |
75.1 |
74.1 |
72.4 |
69.6 |
64.1 |
36.5 |
UDP 接收数据吞吐量 (Mbit/s) |
83.1 |
66.3 |
75.1 |
75.6 |
73.1 |
65.3 |
54.7 |
备注
以上结果使用华硕 RT-N66U 路由器,在屏蔽箱中进行单流测试得出。 ESP32 的 CPU 为双核,频率为 240 MHz,flash 为 QIO 模式,频率为 80 MHz。
等级:
- Iperf 等级
ESP32 的极端性能等级,用于测试极端性能。
- 高性能等级
ESP32 的高性能配置等级,适用于应用程序占用内存较少且有高性能要求的场景。在该等级中,可以根据使用场景选择使用接收数据优先等级或发送数据优先等级。
- 默认等级
ESP32 的默认配置等级、兼顾可用内存和性能。
- 节省内存等级
该等级适用于应用程序需要大量内存的场景,在这一等级下,收发器的性能会有所降低。
- 最小等级
ESP32 的最小配置等级。协议栈只使用运行所需的内存。适用于对性能没有要求,而应用程序需要大量内存的场景。
使用 PSRAM
PSRAM 一般在应用程序占用大量内存时使用。在该模式下,CONFIG_ESP_WIFI_TX_BUFFER 被强制为静态。CONFIG_ESP_WIFI_STATIC_TX_BUFFER_NUM 表示硬件层 DMA 缓冲区数量,提高这一参数可以增强性能。 以下是使用 PSRAM 时的推荐等级。
等级 |
Iperf |
默认 |
节省内存 |
最小 |
|---|---|---|---|---|
可用内存 (KB) |
113.8 |
152.4 |
181.2 |
202.6 |
WIFI_STATIC_RX_BUFFER_NUM |
16 |
8 |
4 |
2 |
WIFI_DYNAMIC_RX_BUFFER_NUM |
128 |
128 |
128 |
128 |
WIFI_STATIC_TX_BUFFER_NUM |
16 |
8 |
4 |
2 |
WIFI_RX_BA_WIN |
16 |
16 |
8 |
禁用 |
TCP_SND_BUF_DEFAULT (KB) |
65 |
65 |
65 |
65 |
TCP_WND_DEFAULT (KB) |
65 |
65 |
65 |
65 |
WIFI_IRAM_OPT |
15 |
15 |
15 |
0 |
WIFI_RX_IRAM_OPT |
16 |
16 |
0 |
0 |
LWIP_IRAM_OPTIMIZATION |
13 |
0 |
0 |
0 |
TCP 发送数据吞吐量 (Mbit/s) |
37.5 |
31.7 |
21.7 |
14.6 |
TCP 接收数据吞吐量 (Mbit/s) |
31.5 |
29.8 |
26.5 |
21.1 |
UDP 发送数据吞吐量 (Mbit/s) |
69.1 |
31.5 |
27.1 |
24.1 |
UDP 接收数据吞吐量 (Mbit/s) |
40.1 |
38.5 |
37.5 |
36.9 |


