BluFi
概览
BluFi 是一项基于蓝牙通道的 Wi-Fi 网络配置功能,适用于 ESP32-S3。它通过安全协议将 Wi-Fi 的 SSID、密码等配置信息传输到 ESP32-S3。基于这些信息,ESP32-S3 可进而连接到 AP 或建立 SoftAP。
BluFi 流程的关键部分包括数据的分片、加密以及校验和验证。
用户可按需自定义用于对称加密、非对称加密以及校验的算法。此处,我们采用 DH 算法进行密钥协商,128-AES 算法用于数据加密,CRC16 算法用于校验和验证。
快速入门
本节将指导您使用 EspBlufi 应用程序在 ESP32-S3 设备上配置 Wi-Fi。
硬件及软件准备
硬件:
ESP32-S3 模组一个
电脑一台,并与模组连接,为模组供电并提供串口打印
运行 Android 或 iOS 的手机一台
软件:
BluFi 示例: bluetooth/blufi (需烧录至 ESP32-S3)
手机应用程序:EspBlufi
Android 版本: EspBlufi For Android
iOS 版本: EspBlufi For iOS
关于 BluFi 示例烧录的详细说明,请参考 ESP-IDF 快速入门 文档。
通过 EspBlufi 应用配置 Wi-Fi
Station 模式配置示例
给 ESP32-S3 上电
将 ESP32-S3 连接至电脑,可通过串口工具看到如下打印:
通过 EspBlufi 建立连接
配置 Wi-Fi 网络
点击 配网 按钮进入网络配置界面:
网络配置界面
从下拉列表中选择设备模式。BluFi 支持以下三种模式:
Station: 连接至现有 Wi-Fi 网络。
SoftAP: 创建 Wi-Fi 热点。
SoftAP/Station: 同时启用 SoftAP 和 Station 模式。
选择设备模式
选择 Station 模式,点击刷新按钮,选择目标 Wi-Fi 名称,并输入密码。
配置 Station 模式
点击 确定 按钮完成配置。成功连接后界面显示如下。标红部分显示当前 Wi-Fi 模式(本例为 Station 模式)及连接信息(如 AP 的 BSSID、SSID 和连接状态)。
Station 连接信息
同时,串口工具会打印如下信息:
SoftAP 模式配置示例
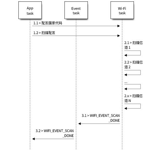
BluFi 流程
BluFi 配网流程包含配置 SoftAP 和配置 Station 两部分。
下面以配置 Station 为例,介绍了广播、连接、服务发现、协商共享密钥、传输数据、回传连接状态等关键步骤。
ESP32-S3 开启 GATT Server 模式,发送带有特定 advertising data 的广播。该广播不属于 BluFi Profile,可以按需对其进行自定义。
使用手机应用程序搜索到该广播后,手机将作为 GATT Client 连接 ESP32-S3。该步骤对具体使用哪款手机应用程序并无特殊要求。
成功建立 GATT 连接后,手机会向 ESP32-S3 发送数据帧进行密钥协商(详见 BluFi 中定义的帧格式 )。
ESP32-S3 收到密钥协商的数据帧后,会按照自定义的协商方法进行解析。
手机与 ESP32-S3 进行密钥协商。协商过程可使用 DH/RSA/ECC 等加密算法。
协商结束后,手机端向 ESP32-S3 发送控制帧,用于设置安全模式。
ESP32-S3 收到控制帧后,使用共享密钥以及安全配置对通信数据进行加密和解密。
手机向 ESP32-S3 发送 BluFi 中定义的帧格式 中定义的数据帧,包括 SSID、密码等 Wi-Fi 配置信息。
手机向 ESP32-S3 发送 Wi-Fi 连接请求的控制帧。ESP32-S3 收到控制帧后,即默认手机已完成必要信息的传输,准备连接 Wi-Fi。
连接到 Wi-Fi 后,ESP32-S3 发送 Wi-Fi 连接状态报告的控制帧到手机。至此,配网结束。
备注
ESP32-S3 收到安全模式配置的控制帧后,会根据定义的安全模式进行相关操作。
进行对称加密和解密时,加密和解密前后的数据长度必须一致。支持原地加密和解密。
BluFi 流程图

BluFi Flow Chart
BluFi 中定义的帧格式
手机应用程序与 ESP32-S3 之间的 BluFi 通信格式定义如下:
帧不分片格式:
字段 |
值(字节) |
|---|---|
类型(最低有效位) |
1 |
帧控制 |
1 |
序列号 |
1 |
数据长度 |
1 |
数据 |
${Data Length} |
校验(最高有效位) |
2 |
如果使能 帧控制 字段中的分片位,则 数据 字段中会出现 2 字节的 内容总长度。该 内容总长度 表示帧的剩余部分的总长度,并用于报告终端需要分配的内存大小。
帧分片格式:
字段 |
值(字节) |
|---|---|
类型(最低有效位) |
1 |
帧控制(分片) |
1 |
序列号 |
1 |
数据长度 |
1 |
数据 |
|
校验(最高有效位) |
2 |
通常情况下,控制帧不包含数据位,ACK 帧类型除外。
ACK 帧格式 (8 bit):
字段 |
值(字节) |
|---|---|
类型 - ACK(最低有效位) |
1 |
帧控制 |
1 |
序列号 |
1 |
数据长度 |
1 |
数据 |
ACK 序列号: 2 |
校验(最高有效位) |
2 |
类型字段
类型 字段占 1 字节,分为 类型 和 子类型 两部分。其中,类型 占低 2 位,表明该帧为数据帧或是控制帧;子类型 占高 6 位,表示此数据帧或者控制帧的具体含义。
控制帧,暂不进行加密,可校验。
数据帧,可加密,可校验。
1.1 控制帧(二进制:0x0 b’00)
控制帧 |
含义 |
解释 |
备注 |
|---|---|---|---|
0x0 (b’000000) |
ACK |
ACK 帧的数据字段使用回复对象帧的序列值。 |
数据字段占用 1 字节,其序列值与回复对象帧的序列值相同。 |
0x1 (b’000001) |
将 ESP 设备设置为安全模式。 |
通知 ESP 设备发送数据时使用的安全模式,在数据发送过程中可多次重置。设置后,将影响后续使用的安全模式。 如果不设置,ESP 设备将默认发送不带校验和加密的控制帧和数据帧。从手机到 ESP 设备的数据传输是由这个控制帧控制的。 |
数据字段占一个字节。高 4 位用于控制帧的安全模式设置,低 4 位用于数据帧的安全模式设置。
|
0x2 (b’000010) |
设置 Wi-Fi 的 opmode。 |
该帧包含设置 ESP 设备 Wi-Fi 模式 (opmode) 的设置信息。 |
data[0] 用于设置 opmode,包括:
如果设置中包含 AP,请尽量优先设置 AP 模式的 SSID/密码/最大连接数等。 |
0x3 (b’000011) |
将 ESP 设备连接至 AP。 |
通知 ESP 设备必要的信息已经发送完毕,可以连接至 AP。 |
不包含数据字段。 |
0x4 (b’000100) |
断开 ESP 设备与 AP 的连接。 |
不包含数据字段。 |
|
0x5 (b’000101) |
获取 ESP 设备的 Wi-Fi 模式和状态等信息。 |
|
|
0x6 (b’000110) |
断开 STA 设备与 SoftAP 的连接(SoftAP 模式)。 |
data[0~5] 为 STA 设备的 MAC 地址。如有多个 STA 设备,则第二个使用 data[6-11],依次类推。 |
|
0x7 (b’000111) |
获取版本信息。 |
||
0x8 (b’001000) |
断开 BLE GATT 连接。 |
ESP 设备收到该指令后主动断开 BLE GATT 连接。 |
|
0x9 (b’001001) |
获取 Wi-Fi 列表。 |
通知 ESP 设备扫描周围的 Wi-Fi 热点。 |
不包含数据字段。 ESP 设备收到此控制帧后,会向手机回发一个包含 Wi-Fi 热点报告的帧。 |
1.2 数据帧(二进制:0x1 b’01)
数据帧 |
含义 |
解释 |
备注 |
|---|---|---|---|
0x0 (b’000000) |
发送协商数据。 |
协商数据会发送到应用层注册的回调函数中。 |
数据的长度取决于数据长度字段。 |
0x1 (b’000001) |
发送 STA 模式的 BSSID。 |
在 SSID 隐藏的情况下,发送 STA 设备要连接的 AP 的 BSSID。 |
请参考备注 1。 |
0x2 (b’000010) |
发送 STA 模式的 SSID |
发送 STA 设备要连接的 AP 的 SSID。 |
请参考备注 1。 |
0x3 (b’000011) |
发送 STA 模式的密码。 |
发送 STA 设备要连接的 AP 的密码。 |
请参考备注 1。 |
0x4 (b’000100) |
发送 SoftAP 模式的 SSID。 |
请参考备注 1。 |
|
0x5 (b’000101) |
发送 SoftAPmode 模式的密码。 |
请参考备注 1。 |
|
0x6 (b’000110) |
设置 SoftAPmode 模式的最大连接数。 |
data[0] 为连接数的值,范围从 1 到 4。当传输方向是 ESP 设备到手机时,表示向手机端提供所需信息。 |
|
0x7 (b’000111) |
设置 SoftAP 的认证模式。 |
data[0] 包括:
若传输方向是从 ESP 设备到手机,则表示向手机端提供所需信息。 |
|
0x8 (b’001000) |
设置 SoftAP 模式的通道数量。 |
data[0] 代表支持的通道的数量,范围从 1 到 14。若传输方向是从 ESP 设备到手机,则表示向手机端提供所需信息。 |
|
0x9 (b’001001) |
用户名 |
在进行企业级加密时提供 GATT 客户端的用户名。 |
数据的长度取决于数据长度字段。 |
0xa (b’001010) |
CA 认证 |
在进行企业级加密时提供 CA 认证。 |
请参考备注 2。 |
0xb (b’001011) |
客户端认证 |
在进行企业级加密时提供客户端认证。是否包含私钥,取决于认证的内容。 |
请参考备注 2。 |
0xc (b’001100) |
服务端认证 |
在进行企业级加密时提供服务端认证。是否包含私钥,取决于认证的内容。 |
请参考备注 2。 |
0xd (b’001101) |
客户端私钥 |
在进行企业级加密时提供客户端私钥。 |
请参考备注 2。 |
0xe (b’001110) |
服务端私钥 |
在进行企业级加密时提供服务端私钥。 |
请参考备注 2。 |
0xf (b’001111) |
Wi-Fi 连接状态报告 |
通知手机 ESP 设备的 Wi-Fi 状态,包括 STA 状态和 SoftAP 状态。用于 STA 设备连接手机或 SoftAP。但是,当手机接收到 Wi-Fi 状态时,除了本帧之外,还可以回复其他帧。 |
data[0] 表示 opmode,包括:
data[1]:STA 设备的连接状态。0x0 表示处于连接状态且获得 IP 地址,0x1 表示处于非连接状态, 0x2 表示处于正在连接状态,0x3 表示处于连接状态但未获得 IP 地址。 data[2]:SoftAP 的连接状态,即表示有多少 STA 设备已经连接。 data[3]及后面的数据是按照 SSID/BSSID 格式提供的信息。 如果 Wi-Fi 处于正在连接状态,这里将会包含最大重连次数;如果 Wi-Fi 处于非连接状态,这里将会包含 Wi-Fi 断开连接原因和 RSSI 信息。 |
0x10 (b’010000) |
版本 |
|
|
0x11 (b’010001) |
Wi-Fi 热点列表 |
将 Wi-Fi 热点列表发送给 ESP 设备 |
数据帧的格式为 Length + RSSI + SSID。数据较长时可分片发送。 |
0x12 (b’010010) |
报告异常 |
通知手机 BluFi 过程出现异常 |
|
0x13 (b’010011) |
自定义数据 |
用户发送或者接收自定义数据。 |
数据较长时可分片发送。 |
0x14 (b’010100) |
设置最大 Wi-Fi 重连次数。 |
data[0] 表示 Wi-Fi 最大重连次数。 |
|
0x15 (b’010101) |
设置 Wi-Fi 连接失败原因。 |
data[0] 表示 Wi-Fi 连接失败原因,它的类型应该和 wifi_err_reason_t 一致。 |
|
0x16 (b’010110) |
设置 Wi-Fi 连接失败的 RSSI 。 |
data[0] 表示在 Wi-Fi 连接失败时的 RSSI。 如果在连接结束时没有有意义的 RSSI , 这个值应该为一个无意义值 -128。 |
备注
备注 1: 数据的长度取决于数据长度字段。若传输方向是从 ESP 设备到手机,则表示向手机端提供所需信息。
备注 2: 数据的长度取决于数据长度字段。如果数据长度不够,该帧可用分片。
Frame Control
帧控制字段,占 1 字节,每个位表示不同含义。
位 |
含义 |
|---|---|
0x01 |
表示帧是否加密。
该帧的加密部分包括数据字段加密之前的完整明文数据(不包括校验部分)。控制帧暂不加密,故控制帧此位为 0。 |
0x02 |
该数据字段表示帧尾是否包含校验位,如 SHA1、MD5、CRC 等。该数据字段包含序列、数据长度以及明文。控制帧和数据帧都可以选择包含或不包含校验位。 |
0x04 |
表示数据方向。
|
0x08 |
表示是否要求对方回复 ACK。
|
0x10 |
表示是否有后续的数据分片。
对于分片帧,在数据字段的前两个字节中,会给定当前内容部分和随后内容部分的总长度(即最大支持 64 K 的数据内容)。 |
0x10~0x80 |
保留 |
序列控制
序列控制字段。帧发送时,无论帧的类型是什么,序列都会自动加 1,用来防止重放攻击 (Replay Attack)。每次重新连接后,序列清零。
长度
数据字段的长度,不包含校验部分。
数据
对于不同的类型或子类型,数据字段的含义均不同。请参考上方表格。
校验
此字段占两个字节,用来校验序列、数据长度以及明文。
ESP32-S3 端的安全实现
数据安全
为了保证 Wi-Fi SSID 和密码的传输过程是安全的,需要使用对称加密算法(例如 AES、DES 等)对报文进行加密。在使用对称加密算法之前,需要使用非对称加密算法(DH、RSA、ECC 等)协商出(或生成出)一个共享密钥。
保证数据完整性
为了保证数据完整性,需要加入校验算法,例如 SHA1、MD5、CRC 等。
身份安全(签名)
某些算法如 RSA 可以保证身份安全。但如 DH 这类的算法,本身不能保证身份安全,需要添加其他算法来签名。
防止重放攻击 (Replay Attack)
添加其到序列字段中,并且在数据校验过程中使用。
在 ESP32-S3 端的代码中,你可以决定和开发如密钥协商等安全处理的流程。手机应用向 ESP32-S3 发送协商数据,数据会传送给应用层处理。如果应用层不处理,可使用 BluFi 提供的 DH 加密算法来协商密钥。
应用层需向 BluFi 注册以下几个与安全相关的函数:
typedef void (*esp_blufi_negotiate_data_handler_t)(uint8_t *data, int len, uint8_t **output_data, int *output_len, bool *need_free)
该函数用来接收协商期间的正常数据 (normal data)。数据处理完成后,需要将待发送的数据使用 output_data 和 output_len 传出。
BluFi 会在调用完 Negotiate_data_handler 后,发送 Negotiate_data_handler 传出的 output_data。
这里的两个 “*” 是因为需要发出去的数据长度未知,所以需要函数自行分配 (malloc) 或者指向全局变量,并告知是否需要通过 NEED_FREE 释放内存。
typedef int (* esp_blufi_encrypt_func_t)(uint8_t iv8, uint8_t *crypt_data, int crypt_len)
加密和解密的数据长度必须一致。其中 IV8 为帧的 8 位序列,可作为 IV 的某 8 个位来使用。
typedef int (* esp_blufi_decrypt_func_t)(uint8_t iv8, uint8_t *crypt_data, int crypt_len)
加密和解密的数据长度必须一致。其中 IV8 为帧的 8 位序列,可作为 IV 的某 8 个位来使用。
typedef uint16_t (*esp_blufi_checksum_func_t)(uint8_t iv8, uint8_t *data, int len)
该函数用来进行校验,返回值为校验的值。BluFi 会使用该函数返回值与帧的校验值进行比较。
GATT 相关说明
UUID
BluFi Service UUID: 0xFFFF,16 bit
BluFi(手机 > ESP32-S3)特性:0xFF01,主要权限:可写
BluFi(ESP32-S3 > 手机)特性:0xFF02,主要权限:可读可通知









