Wi-Fi 驱动程序
ESP32-C2 Wi-Fi 功能列表
ESP32-C2 支持以下 Wi-Fi 功能:
支持 3 个虚拟接口,即 STA、AP 和 Sniffer。
支持仅 station 模式、仅 AP 模式、station/AP 共存模式
支持使用 IEEE 802.11b、IEEE 802.11g、IEEE 802.11n 和 API 配置协议模式
支持 WPA/WPA2/WPA3/WPA2-企业版/WPA3-企业版/WPS 和 DPP
支持 AMPDU、QoS 以及其它主要功能
支持 Modem-sleep
空中数据传输最高可达 20 MBit/s TCP 吞吐量和 30 MBit/s UDP 吞吐量
支持 Sniffer
支持快速扫描和全信道扫描
支持多个天线
如何编写 Wi-Fi 应用程序
准备工作
一般来说,要编写自己的 Wi-Fi 应用程序,最高效的方式是先选择一个相似的应用程序示例,然后将其中可用的部分移植到自己的项目中。如果你希望编写一个强健的 Wi-Fi 应用程序,强烈建议在开始之前先阅读本文。非强制要求,请依个人情况而定。
本文将补充说明 Wi-Fi API 和 Wi-Fi 示例的相关信息,重点描述使用 Wi-Fi API 的原则、当前 Wi-Fi API 实现的限制以及使用 Wi-Fi 时的常见错误。同时,本文还介绍了 Wi-Fi 驱动程序的一些设计细节。建议选择一个示例 example 进行参考。
设置 Wi-Fi 编译时选项
请参阅 Wi-Fi menuconfig。
Wi-Fi 初始化
启动/连接 Wi-Fi
事件处理
通常,在理想环境下编写代码难度并不大,如 WIFI_EVENT_STA_START、WIFI_EVENT_STA_CONNECTED 中所述。难度在于如何在现实的困难环境下编写代码,如 WIFI_EVENT_STA_DISCONNECTED 中所述。能否在后者情况下完美地解决各类事件冲突,是编写一个强健的 Wi-Fi 应用程序的根本。请参阅 ESP32-C2 Wi-Fi 事件描述, ESP32-C2 Wi-Fi station 一般情况, ESP32-C2 Wi-Fi AP 一般情况。另可参阅 ESP-IDF 中的 事件处理概述。
编写错误恢复程序
除了能在比较差的环境下工作,错误恢复能力也对一个强健的 Wi-Fi 应用程序至关重要。请参阅 ESP32-C2 Wi-Fi API 错误代码。
ESP32-C2 Wi-Fi API 错误代码
所有 ESP32-C2 Wi-Fi API 都有定义好的返回值,即错误代码。这些错误代码可分类为:
无错误,例如:返回值
ESP_OK代表 API 成功返回可恢复错误,例如:
ESP_ERR_NO_MEM不可恢复的非关键性错误
不可恢复的关键性错误
一个错误是否为关键性取决于其 API 和应用场景,并且由 API 用户定义。
要使用 Wi-Fi API 编写一个强健的应用程序,根本原则便是要时刻检查错误代码并编写相应的错误处理代码。 一般来说,错误处理代码可用于解决:
可恢复错误,你可以编写一个可恢复错误处理代码解决该类错误。例如,当
esp_wifi_start()返回ESP_ERR_NO_MEM时,调用可恢复错误处理代码 vTaskDelay 可以获取几微秒的重试时间。不可恢复非关键性错误,打印错误代码可以帮助你更好地处理该类错误。
不可恢复关键性错误,可使用 "assert" 语句处理该类错误。例如,如果
esp_wifi_set_mode()返回ESP_ERR_WIFI_NOT_INITesp_wifi_init()未成功初始化 Wi-Fi 驱动程序。你可以在应用程序开发阶段非常快速地检测到此类错误。
在 esp_common/include/esp_err.h 中, ESP_ERROR_CHECK 负责检查返回值。这是一个较为常见的错误处理代码,可在应用程序开发阶段作为默认的错误处理代码。但是,我们强烈建议 API 的使用者编写自己的错误处理代码。
初始化 ESP32-C2 Wi-Fi API 参数
初始化 API 的结构参数时,应遵循以下两种方式之一:
设置该参数的所有字段
先使用 get API 获取当前配置,然后只设置特定于应用程序的字段
初始化或获取整个结构这一步至关重要,因为大多数情况下,返回值 0 意味着程序使用了默认值。未来,我们将会在该结构中加入更多字段,并将这些字段初始化为 0,确保即使 ESP-IDF 版本升级后,你的应用程序依然能够正常运行。
ESP32-C2 Wi-Fi 编程模型
ESP32-C2 Wi-Fi 编程模型如下图所示:

Wi-Fi 编程模型
Wi-Fi 驱动程序可以看作是一个无法感知上层代码(如 TCP/IP 堆栈、应用程序任务、事件任务等)的黑匣子。通常,应用程序任务(代码)负责调用 Wi-Fi 驱动程序 APIs 来初始化 Wi-Fi,并在必要时处理 Wi-Fi 事件。然后,Wi-Fi 驱动程序接收并处理 API 数据,并在应用程序中插入事件。
Wi-Fi 事件处理是在 esp_event 库 的基础上进行的。Wi-Fi 驱动程序将事件发送至 默认事件循环,应用程序便可以使用 esp_event_handler_register() 中的回调函数处理这些事件。除此之外,esp_netif 组件 也负责处理 Wi-Fi 事件,并产生一系列默认行为。例如,当 Wi-Fi station 连接至一个 AP 时,esp_netif 将自动开启 DHCP 客户端服务(系统默认)。
ESP32-C2 Wi-Fi 事件描述
WIFI_EVENT_WIFI_READY
Wi-Fi 驱动程序永远不会生成此事件,因此,应用程序的事件回调函数可忽略此事件。在未来的版本中,此事件可能会被移除。
WIFI_EVENT_SCAN_DONE
扫描完成事件,由 esp_wifi_scan_start() 函数触发,将在以下情况下产生:
扫描已完成,例如:Wi-Fi 已成功找到目标 AP 或已扫描所有信道。
当前扫描因函数
esp_wifi_scan_stop()而终止。在当前扫描完成之前调用了函数
esp_wifi_scan_start()。此时,新的扫描将覆盖当前扫描过程,并生成一个扫描完成事件。
以下情况下将不会产生扫描完成事件:
当前扫描被阻止。
当前扫描是由函数
esp_wifi_connect()触发的。
接收到此事件后,事件任务暂不做任何响应。首先,应用程序的事件回调函数需调用 esp_wifi_scan_get_ap_num() 和 esp_wifi_scan_get_ap_records() 获取已扫描的 AP 列表,然后触发 Wi-Fi 驱动程序释放在扫描过程中占用的内存空间(切记该步骤)。
更多详细信息,请参阅 ESP32-C2 Wi-Fi 扫描。
WIFI_EVENT_STA_START
如果调用函数 esp_wifi_start() 后接收到返回值 ESP_OK,且当前 Wi-Fi 处于 station 或 station/AP 共存模式,则将产生此事件。接收到此事件后,事件任务将初始化 LwIP 网络接口 (netif)。通常,应用程序的事件回调函数需调用 esp_wifi_connect() 来连接已配置的 AP。
WIFI_EVENT_STA_STOP
如果调用函数 esp_wifi_stop() 后接收到返回值 ESP_OK,且当前 Wi-Fi 处于 station 或 station/AP 共存模式,则将产生此事件。接收到此事件后,事件任务将进行释放 station IP 地址、终止 DHCP 客户端服务、移除 TCP/UDP 相关连接并清除 LwIP station netif 等动作。此时,应用程序的事件回调函数通常不需做任何响应。
WIFI_EVENT_STA_CONNECTED
如果调用函数 esp_wifi_connect() 后接收到返回值 ESP_OK,且 station 已成功连接目标 AP,则将产生此连接事件。接收到此事件后,事件任务将启动 DHCP 客户端服务并开始获取 IP 地址。此时,Wi-Fi 驱动程序已准备就绪,可发送和接收数据。如果你的应用程序不依赖于 LwIP(即 IP 地址),则此刻便可以开始应用程序开发工作。但是,如果你的应用程序需基于 LwIP 进行,则还需等待 got ip 事件发生后才可开始。
WIFI_EVENT_STA_DISCONNECTED
此事件将在以下情况下产生:
调用了函数
esp_wifi_disconnect()或esp_wifi_stop(),且 Wi-Fi station 已成功连接至 AP。调用了函数
esp_wifi_connect(),但 Wi-Fi 驱动程序因为某些原因未能成功连接至 AP,例如:未扫描到目标 AP、验证超时等。或存在多个 SSID 相同的 AP,station 无法连接所有已找到的 AP,也将产生该事件。Wi-Fi 连接因为某些原因而中断,例如:station 连续多次丢失 N beacon、AP 踢掉 station、AP 认证模式改变等。
接收到此事件后,事件任务的默认动作为:
关闭 station 的 LwIP netif。
通知 LwIP 任务清除导致所有套接字状态错误的 UDP/TCP 连接。针对基于套接字编写的应用程序,其回调函数可以在接收到此事件时(如有必要)关闭并重新创建所有套接字。
应用程序处理此事件最常用的方法为:调用函数 esp_wifi_connect() 重新连接 Wi-Fi。但是,如果此事件是由函数 esp_wifi_disconnect() 引发的,则应用程序不应调用 esp_wifi_connect() 来重新连接。应用程序须明确区分此事件的引发原因,因为某些情况下应使用其它更好的方式进行重新连接。请参阅 Wi-Fi 重新连接 和 连接 Wi-Fi 时扫描。
需要注意的另一点是:接收到此事件后,LwIP 的默认动作是终止所有 TCP 套接字连接。大多数情况下,该动作不会造成影响。但对某些特殊应用程序可能除外。例如:
应用程序创建一个了 TCP 连接,以维护每 60 秒发送一次的应用程序级、保持活动状态的数据。
由于某些原因,Wi-Fi 连接被切断并引发了 WIFI_EVENT_STA_DISCONNECTED 事件。根据当前实现,此时所有 TCP 连接都将被移除,且保持活动的套接字将处于错误的状态中。但是,由于应用程序设计者认为网络层 不应 考虑这个 Wi-Fi 层的错误,因此应用程序不会关闭套接字。
5 秒后,因为在应用程序的事件回调函数中调用了
esp_wifi_connect(),Wi-Fi 连接恢复。同时,station 连接至同一个 AP 并获得与之前相同的 IPV4 地址。60 秒后,当应用程序发送具有保持活动状态的套接字的数据时,套接字将返回错误,应用程序将关闭套接字并在必要时重新创建。
在上述场景中,理想状态下应用程序套接字和网络层将不会受到影响,因为在此过程中 Wi-Fi 连接只是短暂地断开然后快速恢复。应用程序可通过 LwIP menuconfig 启动“IP 改变时保持 TCP 连接”的功能。
IP_EVENT_STA_GOT_IP
当 DHCP 客户端成功从 DHCP 服务器获取 IPV4 地址或 IPV4 地址发生改变时,将引发此事件。此事件意味着应用程序一切就绪,可以开始任务(如:创建套接字)。
IPV4 地址可能由于以下原因而发生改变:
DHCP 客户端无法重新获取/绑定 IPV4 地址,且 station 的 IPV4 重置为 0。
DHCP 客户端重新绑定了其它地址。
静态配置的 IPV4 地址已发生改变。
函数 ip_event_got_ip_t 中的字段 ip_change 说明了 IPV4 地址是否发生改变。
套接字的状态是基于 IPV4 地址的,这意味着,如果 IPV4 地址发生改变,则所有与此 IPV4 相关的套接字都将变为异常。接收到此事件后,应用程序需关闭所有套接字,并在 IPV4 变为有效地址时重新创建应用程序。
IP_EVENT_GOT_IP6
当 IPV6 SLAAC 支持自动为 ESP32-C2 配置一个地址,或 ESP32-C2 地址发生改变时,将引发此事件。此事件意味着应用程序一切就绪,可以开始任务(如:创建套接字)。
IP_EVENT_STA_LOST_IP
当 IPV4 地址失效时,将引发此事件。
此事件不会在 Wi-Fi 断连后立刻出现。Wi-Fi 连接断开后,首先将启动一个 IPV4 地址丢失计时器,如果 station 在该计时器超时之前成功获取了 IPV4 地址,则不会发生此事件。否则,此事件将在计时器超时时发生。
一般来说,应用程序可忽略此事件。这只是一个调试事件,主要使应用程序获知 IPV4 地址已丢失。
WIFI_EVENT_AP_START
与 WIFI_EVENT_STA_START 事件相似。
WIFI_EVENT_AP_STOP
与 WIFI_EVENT_STA_STOP 事件相似。
WIFI_EVENT_AP_STACONNECTED
每当有一个 station 成功连接 ESP32-C2 AP 时,将引发此事件。接收到此事件后,事件任务将不做任何响应,应用程序的回调函数也可忽略这一事件。但是,你可以在此时进行一些操作,例如:获取已连接 station 的信息等。
WIFI_EVENT_AP_STADISCONNECTED
此事件将在以下情况下发生:
应用程序通过调用函数
esp_wifi_disconnect()或esp_wifi_deauth_sta()手动断开 station 连接。Wi-Fi 驱动程序出于某些原因断开 station 连接,例如:AP 在过去 5 分钟(可通过函数
esp_wifi_set_inactive_time()修改该时间)内未接收到任何数据包等。station 断开与 AP 之间的连接。
发生此事件时,事件任务将不做任何响应,但应用程序的事件回调函数需执行一些操作,例如:关闭与此 station 相关的套接字等。
WIFI_EVENT_AP_PROBEREQRECVED
默认情况下,此事件处于禁用状态,应用程序可以通过调用 API esp_wifi_set_event_mask() 启用。
启用后,每当 AP 接收到 probe request 时都将引发此事件。
WIFI_EVENT_STA_BEACON_TIMEOUT
如果 station 在 inactive 时间内未收到所连接 AP 的 beacon,将发生 beacon 超时,将引发此事件。inactive 时间通过调用函数 esp_wifi_set_inactive_time() 设置。
WIFI_EVENT_CONNECTIONLESS_MODULE_WAKE_INTERVAL_START
非连接模块在 Interval 开始时触发此事件。 请参考 非连接模块功耗管理 。
ESP32-C2 Wi-Fi station 一般情况
下图为 station 模式下的宏观场景,其中包含不同阶段的具体描述:

station 模式下 Wi-Fi 事件场景示例
1. Wi-Fi/LwIP 初始化阶段
s1.1:主任务通过调用函数
esp_netif_init()创建一个 LwIP 核心任务,并初始化 LwIP 相关工作。s1.2:主任务通过调用函数
esp_event_loop_create()创建一个系统事件任务,并初始化应用程序事件的回调函数。在此情况下,该回调函数唯一的动作就是将事件中继到应用程序任务中。s1.3:主任务通过调用函数
esp_netif_create_default_wifi_ap()或esp_netif_create_default_wifi_sta()创建有 TCP/IP 堆栈的默认网络接口实例绑定 station 或 AP。s1.4:主任务通过调用函数
esp_wifi_init()创建 Wi-Fi 驱动程序任务,并初始化 Wi-Fi 驱动程序。s1.5:主任务通过调用 OS API 创建应用程序任务。
推荐按照 s1.1 ~ s1.5 的步骤顺序针对基于 Wi-Fi/LwIP 的应用程序进行初始化。但这一顺序 并非 强制,你可以在第 s1.1 步创建应用程序任务,然后在该应用程序任务中进行所有其它初始化操作。不过,如果你的应用程序任务依赖套接字,那么在初始化阶段创建应用程序任务可能并不适用。此时,你可以在接收到 IP 后再进行任务创建。
2. Wi-Fi 配置阶段
Wi-Fi 驱动程序初始化成功后,可以进入到配置阶段。该场景下,Wi-Fi 驱动程序处于 station 模式。因此,首先你需调用函数 esp_wifi_set_mode() (WIFI_MODE_STA) 将 Wi-Fi 模式配置为 station 模式。可通过调用其它 esp_wifi_set_xxx API 进行更多设置,例如:协议模式、国家代码、带宽等。请参阅 ESP32-C2 Wi-Fi 配置。
一般情况下,我们会在建立 Wi-Fi 连接之前配置 Wi-Fi 驱动程序,但这 并非 强制要求。也就是说,只要 Wi-Fi 驱动程序已成功初始化,你可以在任意阶段进行配置。但是,如果你的 Wi-Fi 在建立连接后不需要更改配置,则应先在此阶段完成配置。因为调用配置 API(例如 esp_wifi_set_protocol())将会导致 Wi-Fi 连接断开,为操作带来不便。
如果 menuconfig 已使能 Wi-Fi NVS flash,则不论当前阶段还是后续的 Wi-Fi 配置信息都将被存储至该 flash 中。那么,当主板上电/重新启动时,就不需从头开始配置 Wi-Fi 驱动程序,只需调用函数 esp_wifi_get_xxx API 获取之前存储的配置信息。当然,如果不想使用之前的配置,你也可以重新配置 Wi-Fi 驱动程序。
3. Wi-Fi 启动阶段
s3.1:调用函数
esp_wifi_start()启动 Wi-Fi 驱动程序。s3.2:Wi-Fi 驱动程序将事件 WIFI_EVENT_STA_START 发布到事件任务中,然后,事件任务将执行一些正常操作并调用应用程序的事件回调函数。
s3.3:应用程序的事件回调函数将事件 WIFI_EVENT_STA_START 中继到应用程序任务中。此时,推荐调用函数
esp_wifi_connect()进行 Wi-Fi 连接。当然,你也可以等待在 WIFI_EVENT_STA_START 事件发生后的其它阶段再调用此函数。
4. Wi-Fi 连接阶段
s4.1:调用函数
esp_wifi_connect()后,Wi-Fi 驱动程序将启动内部扫描/连接过程。s4.2:如果内部扫描/连接过程成功,将产生 WIFI_EVENT_STA_CONNECTED 事件。然后,事件任务将启动 DHCP 客户端服务,最终触发 DHCP 程序。
s4.3:在此情况下,应用程序的事件回调函数会将 WIFI_EVENT_STA_CONNECTED 事件中继到应用程序任务中。通常,应用程序不需进行操作,而你可以执行任何动作,例如:打印日志等。
步骤 s4.2 中 Wi-Fi 连接可能会由于某些原因而失败,例如:密码错误、未找到 AP 等。这种情况下,将引发 WIFI_EVENT_STA_DISCONNECTED 事件并提示连接错误原因。有关如何处理中断 Wi-Fi 连接的事件,请参阅下文阶段 6 的描述。
5. Wi-Fi 获取 IP 阶段
s5.1:一旦步骤 4.2 中的 DHCP 客户端初始化完成,Wi-Fi 驱动程序将进入 获取 IP 阶段。
s5.2:如果 Wi-Fi 成功从 DHCP 服务器接收到 IP 地址,则将引发 IP_EVENT_STA_GOT_IP 事件,事件任务将执行正常处理。
s5.3:应用程序的事件回调函数将事件 IP_EVENT_STA_GOT_IP 中继到应用程序任务中。对于那些基于 LwIP 构建的应用程序,此事件较为特殊,因为它意味着应用程序已准备就绪,可以开始任务,例如:创建 TCP/UDP 套接字等。此时较为容易犯的一个错误就是在接收到 IP_EVENT_STA_GOT_IP 事件之前就初始化套接字。切忌在接收到 IP 之前启动任何套接字相关操作。
6. Wi-Fi 断开阶段
s6.1:当 Wi-Fi 因为某些原因(例如:AP 掉电、RSSI 较弱等)连接中断时,将产生 WIFI_EVENT_STA_DISCONNECTED 事件。此事件也可能在上文阶段 3 中发生。在这里,事件任务将通知 LwIP 任务清除/移除所有 UDP/TCP 连接。然后,所有应用程序套接字都将处于错误状态。也就是说,WIFI_EVENT_STA_DISCONNECTED 事件发生时,任何套接字都无法正常工作。
s6.2:上述情况下,应用程序的事件回调函数会将 WIFI_EVENT_STA_DISCONNECTED 事件中继到应用程序任务中。推荐调用函数
esp_wifi_connect()重新连接 Wi-Fi,关闭所有套接字,并在必要时重新创建套接字。请参阅 WIFI_EVENT_STA_DISCONNECTED。
7. Wi-Fi IP 更改阶段
s7.1:如果 IP 地址发生更改,将引发 IP_EVENT_STA_GOT_IP 事件,其中 "ip_change" 被置为 "true"。
s7.2:此事件对应用程序至关重要。这一事件发生时,适合关闭所有已创建的套接字并进行重新创建。
8. Wi-Fi 清理阶段
s8.1:调用函数
esp_wifi_disconnect()断开 Wi-Fi 连接。s8.2:调用函数
esp_wifi_stop()终止 Wi-Fi 驱动程序。s8.3:调用函数
esp_wifi_deinit()清理 Wi-Fi 驱动程序。
ESP32-C2 Wi-Fi AP 一般情况
下图为 AP 模式下的宏观场景,其中包含不同阶段的具体描述:
AP 模式下 Wi-Fi 事件场景示例
ESP32-C2 Wi-Fi 扫描
目前,仅 station 或 station/AP 共存模式支持 esp_wifi_scan_start() API。
扫描类型
模式  | 
描述  | 
|---|---|
主动扫描  | 
通过发送 probe request 进行扫描。该模式为默认的扫描模式。  | 
被动扫描  | 
不发送 probe request。跳至某一特定信道并等待 beacon。应用程序可通过   | 
前端扫描  | 
在 station 模式下 Wi-Fi 未连接时,可进行前端扫描。Wi-Fi 驱动程序决定进行前端扫描还是后端扫描,应用程序无法配置这两种模式。  | 
后端扫描  | 
在 station 模式或 station/AP 共存模式下 Wi-Fi 已连接时,可进行后端扫描。Wi-Fi 驱动程序决定进行前端扫描还是后端扫描,应用程序无法配置这两种模式。  | 
全信道扫描  | 
扫描所有信道。  | 
特定信道扫描  | 
仅扫描特定的信道。  | 
上表中的扫描模式可以任意组合,因此共有 8 种不同扫描方式:
全信道后端主动扫描
全信道后端被动扫描
全信道前端主动扫描
全信道后端被动扫描
特定信道后端主动扫描
特定信道后端被动扫描
特定信道前端主动扫描
特定信道前端被动扫描
扫描配置
扫描类型与其他扫描属性通过函数 esp_wifi_scan_start() 进行配置。下表详细描述了函数 wifi_scan_config_t 各字段信息。
字段  | 
描述  | 
|---|---|
ssid  | 
如果该字段的值不为 NULL,则仅可扫描到具有相同 SSID 值的 AP。  | 
bssid  | 
如果该字段的值不为 NULL,则仅可扫描到具有相同 BSSID 值的 AP。  | 
channel  | 
如果该字段值为 0,将进行全信道扫描;反之,将针对特定信道进行扫描。  | 
show_hidden  | 
如果该字段值为 0,本次扫描将忽略具有隐藏 SSID 的 AP;反之,这些 AP 也会在扫描时被视为正常 AP。  | 
scan_type  | 
如果该字段值为为 WIFI_SCAN_TYPE_ACTIVE,则本次扫描为主动扫描;反之,将被视为被动扫描。  | 
scan_time  | 
该字段用于控制每个信道的扫描时间。 被动扫描时,scan_time.passive 字段负责为每个信道指定扫描时间。 主动扫描时,每个信道的扫描时间如下列表所示。其中,min 代表 scan_time_active_min,max 代表 scan_time_active_max。 
 如希望提升 Wi-Fi 扫描性能,则可修改上述两个参数。  | 
调用 API esp_wifi_set_config() 可全局配置一些扫描属性,请参阅 station 基本配置。
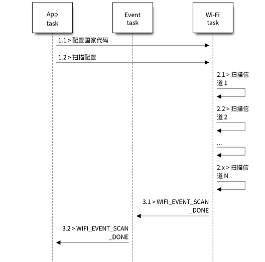
在所有信道中扫描全部 AP(前端)
场景:

所有 Wi-Fi 信道的前端扫描
上述场景中描述了全信道前端扫描过程。仅 station 模式支持前端扫描,该模式下 station 未连接任何 AP。前端扫描还是后端扫描完全由 Wi-Fi 驱动程序决定,应用程序无法配置这一模式。
详细描述:
扫描配置阶段
s1.1:如果默认的国家信息有误,调用函数
esp_wifi_set_country()进行配置。请参阅 Wi-Fi 国家/地区代码。s1.2:调用函数
esp_wifi_scan_start()配置扫描信息,可参阅 扫描配置。该场景为全信道扫描,将 SSID/BSSID/channel 设置为 0 即可。
Wi-Fi 驱动程序内部扫描阶段
s2.1:Wi-Fi 驱动程序切换至信道 1,此时的扫描类型为 WIFI_SCAN_TYPE_ACTIVE,同时发送一个 probe request。反之,Wi-Fi 将等待接收 AP beacon。Wi-Fi 驱动程序将在信道 1 停留一段时间。min/max 扫描时间中定义了 Wi-Fi 在信道 1 中停留的时间长短,默认为 120 ms。
s2.2:Wi-Fi 驱动程序跳转至信道 2,并重复进行 s2.1 中的步骤。
s2.3:Wi-Fi 驱动程序扫描最后的信道 N,N 的具体数值由步骤 s1.1 中配置的国家代码决定。
扫描完成后事件处理阶段
s3.1:当所有信道扫描全部完成后,将产生 WIFI_EVENT_SCAN_DONE 事件。
s3.2:应用程序的事件回调函数告知应用程序任务已接收到 WIFI_EVENT_SCAN_DONE 事件。调用函数
esp_wifi_scan_get_ap_num()获取在本次扫描中找到的 AP 数量。然后,分配出足够的事物槽,并调用函数esp_wifi_scan_get_ap_records()获取 AP 记录。请注意,一旦调用esp_wifi_scan_get_ap_records(),Wi-Fi 驱动程序中的 AP 记录将被释放。但是,请不要在单个扫描完成事件中重复调用两次esp_wifi_scan_get_ap_records()。反之,如果扫描完成事件发生后未调用esp_wifi_scan_get_ap_records(),则 Wi-Fi 驱动程序中的 AP 记录不会被释放。因此,请务必确保调用函数esp_wifi_scan_get_ap_records(),且仅调用一次。
在所有信道上扫描全部 AP(后端)
场景:

所有 Wi-Fi 信道的后端扫描
上述场景为一次全信道后端扫描。与 在所有信道中扫描全部 AP(前端) 相比,全信道后端扫描的不同之处在于:在跳至下一个信道之前,Wi-Fi 驱动程序会先返回主信道停留 30 ms,以便 Wi-Fi 连接有一定的时间发送/接收数据。
在所有信道中扫描特定 AP
场景:

扫描特定的 Wi-Fi 信道
该扫描过程与 在所有信道中扫描全部 AP(前端) 相似。区别在于:
s1.1:在步骤 1.2 中,目标 AP 将配置为 SSID/BSSID。
s2.1 ~ s2.N:每当 Wi-Fi 驱动程序扫描某个 AP 时,它将检查该 AP 是否为目标 AP。如果本次扫描类型为
WIFI_FAST_SCAN,且确认已找到目标 AP,则将产生扫描完成事件,同时结束本次扫描;反之,扫描将继续。请注意,第一个扫描的信道可能不是信道 1,因为 Wi-Fi 驱动程序会优化扫描顺序。
如果有多个匹配目标 AP 信息的 AP,例如:碰巧扫描到两个 SSID 为 "ap" 的 AP。如果本次扫描类型为 WIFI_FAST_SCAN,则仅可找到第一个扫描到的 "ap";如果本次扫描类型为 WIFI_ALL_CHANNEL_SCAN,则两个 "ap“ 都将被找到,且 station 将根据配置规则连接至其需要连接的 "ap",请参阅 station 基本配置。
你可以在任意信道中扫描某个特定的 AP,或扫描该信道中的所有 AP。这两种扫描过程也较为相似。
在 Wi-Fi 连接模式下扫描
调用函数 esp_wifi_connect() 后,Wi-Fi 驱动程序将首先尝试扫描已配置的 AP。Wi-Fi 连接模式下的扫描过程与 在所有信道中扫描特定 AP 过程相同,但连接模式下扫描结束后将不会产生扫描完成事件。如果已找到目标 AP,则 Wi-Fi 驱动程序将开始 Wi-Fi 连接;反之,将产生 WIFI_EVENT_STA_DISCONNECTED 事件。请参阅 在所有信道中扫描特定 AP。
在禁用模式下扫描
如果函数 esp_wifi_scan_start() 中的禁用参数为 "true",则本次扫描为禁用模式下的扫描。在该次扫描完成之前,应用程序任务都将被禁用。禁用模式下的扫描和正常扫描相似,不同之处在于,禁用模式下扫描完成之后将不会出现扫描完成事件。
并行扫描
有时,可能会有两个应用程序任务同时调用函数 esp_wifi_scan_start(),或者某个应用程序任务在获取扫描完成事件之前再次调用了函数 esp_wifi_scan_start()。这两种情况都有可能会发生。但是,Wi-Fi 驱动程序并不足以支持多个并行的扫描。因此,应避免上述并行扫描。随着 ESP32-C2 的 Wi-Fi 功能不断提升,未来的版本中可能会增加并行扫描支持。
连接 Wi-Fi 时扫描
如果 Wi-Fi 正在连接,则调用函数 esp_wifi_scan_start() 后扫描将立即失败,因为 Wi-Fi 连接优先级高于扫描。如果扫描是因为 Wi-Fi 连接而失败的,此时推荐采取的策略为:等待一段时间后重试。因为一旦 Wi-Fi 连接完成后,扫描将立即成功。
但是,延时重试策略并非万无一失。试想以下场景:
如果 station 正在连接一个不存在的 AP,或正在使用错误的密码连接一个 AP,此时将产生事件 WIFI_EVENT_STA_DISCONNECTED。
接收到断开连接事件后,应用程序调用函数
esp_wifi_connect()进行重新连接。而另一个应用程序任务(如,控制任务)调用了函数
esp_wifi_scan_start()进行扫描。这种情况下,每一次扫描都会立即失败,因为 station 一直处于正在连接状态。扫描失败后,应用程序将等待一段时间后进行重新扫描。
上述场景中的扫描永远不会成功,因为 Wi-Fi 一直处于正在连接过程中。因此,如果你的应用程序也可能发生相似的场景,那么就需要为其配置一个更佳的重新连接策略。例如:
应用程序可以定义一个连续重新连接次数的最大值,当重新连接的次数达到这个最大值时,立刻停止重新连接。
应用程序可以在首轮连续重新连接 N 次后立即进行重新连接,然后延时一段时间后再进行下一次重新连接。
可以给应用程序定义其特殊的重新连接策略,以防止扫描无法成功。请参阅 Wi-Fi 重新连接。
ESP32-C2 Wi-Fi station 连接场景
该场景仅针对在扫描阶段只找到一个目标 AP 的情况,对于多个相同 SSID AP 的情况,请参阅 找到多个 AP 时的 ESP32-C2 Wi-Fi station 连接。
通常,应用程序无需关心这一连接过程。如感兴趣,可参看下述简介。
场景:

Wi-Fi station 连接过程
扫描阶段
s1.1:Wi-Fi 驱动程序开始在“Wi-Fi 连接”模式下扫描。详细信息请参阅 在 Wi-Fi 连接模式下扫描。
s1.2:如果未找到目标 AP,将产生 WIFI_EVENT_STA_DISCONNECTED 事件,且原因代码为
WIFI_REASON_NO_AP_FOUND。请参阅 Wi-Fi 原因代码。
认证阶段
s2.1:发送认证请求数据包并使能认证计时器。
s1.2:如果在认证计时器超时之前未接收到认证响应数据包,将产生 WIFI_EVENT_STA_DISCONNECTED 事件,且原因代码为
WIFI_REASON_AUTH_EXPIRE。请参阅 Wi-Fi 原因代码。s2.3:接收到认证响应数据包,且认证计时器终止。
s2.4:AP 在响应中拒绝认证且产生 WIFI_EVENT_STA_DISCONNECTED 事件,原因代码为
WIFI_REASON_AUTH_FAIL或为 AP 指定的其它原因。请参阅 Wi-Fi 原因代码。
关联阶段
s3.1:发送关联请求并使能关联计时器。
s3.2:如果在关联计时器超时之前未接收到关联响应,将产生 WIFI_EVENT_STA_DISCONNECTED 事件,且原因代码为
WIFI_REASON_ASSOC_EXPIRE。请参阅 Wi-Fi 原因代码。s3.3:接收到关联响应,且关联计时器终止。
s3.4:AP 在响应中拒绝关联且产生 WIFI_EVENT_STA_DISCONNECTED 事件,原因代码将在关联响应中指定。请参阅 Wi-Fi 原因代码。
四次握手阶段
s4.1:使能握手定时器,定时器终止之前未接收到 1/4 EAPOL,此时将产生 WIFI_EVENT_STA_DISCONNECTED 事件,且原因代码为
WIFI_REASON_HANDSHAKE_TIMEOUT。请参阅 Wi-Fi 原因代码。s4.2:接收到 1/4 EAPOL。
s4.3:station 回复 2/4 EAPOL。
s4.4:如果在握手定时器终止之前未接收到 3/4 EAPOL,将产生 WIFI_EVENT_STA_DISCONNECTED 事件,且原因代码为
WIFI_REASON_HANDSHAKE_TIMEOUT。请参阅 Wi-Fi 原因代码。s4.5:接收到 3/4 EAPOL。
s4.6:station 回复 4/4 EAPOL。
s4.7:station 产生 WIFI_EVENT_STA_CONNECTED 事件。
Wi-Fi 原因代码
下表罗列了 ESP32-C2 中定义的原因代码。其中,第一列为 esp_wifi/include/esp_wifi_types.h 中定义的宏名称。名称中省去了前缀 WIFI_REASON,也就是说,名称 UNSPECIFIED 实际应为 WIFI_REASON_UNSPECIFIED,以此类推。第二列为原因代码的相应数值。第三列为该原因映射到 IEEE 802.11-2020 中 9.4.1.7 段的标准值。(更多详细信息,请参阅前文描述。)最后一列为这一原因的描述。
原因代码  | 
数值  | 
映射值  | 
描述  | 
|---|---|---|---|
UNSPECIFIED  | 
1  | 
1  | 
出现内部错误,例如:内存已满,内部发送失败,或该原因已被远端接收等。  | 
AUTH_EXPIRE  | 
2  | 
2  | 
先前的 authentication 已失效。 对于 ESP station,出现以下情况时将报告该代码: 
 对于 ESP AP,出现以下情况时将报告该代码: 
  | 
AUTH_LEAVE  | 
3  | 
3  | 
authentication 取消,因为发送 station 正在离开(或已经离开)。 对于 ESP station,出现以下情况时报告该代码: 
  | 
ASSOC_EXPIRE  | 
4  | 
4  | 
因为 AP 不活跃,association 取消。 对于 ESP station,出现以下情况时报告该代码: 
 对于 ESP AP,出现以下情况时将报告该代码: 
  | 
ASSOC_TOOMANY  | 
5  | 
5  | 
association 取消,因为 AP 无法同时处理所有当前已关联的 STA。 对于 ESP station,出现以下情况时报告该代码: 
 对于 ESP AP,出现以下情况时将报告该代码: 
  | 
NOT_AUTHED  | 
6  | 
6  | 
从一个未认证 station 接收到 class-2 frame。 对于 ESP station,出现以下情况时报告该代码: 
 对于 ESP AP,出现以下情况时将报告该代码: 
  | 
NOT_ASSOCED  | 
7  | 
7  | 
从一个未关联 station 接收到的 class-3 frame。 对于 ESP station,出现以下情况时报告该代码: 
 对于 ESP AP,出现以下情况时将报告该代码: 
  | 
ASSOC_LEAVE  | 
8  | 
8  | 
association 取消,因为发送 station 正在离开(或已经离开)BSS。 对于 ESP station,出现以下情况时报告该代码: 
  | 
ASSOC_NOT_AUTHED  | 
9  | 
9  | 
station 的 re(association) 请求未被响应 station 认证。 对于 ESP station,出现以下情况时报告该代码: 
 对于 ESP AP,出现以下情况时将报告该代码: 
  | 
DISASSOC_PWRCAP_BAD  | 
10  | 
10  | 
association 取消,因为无法接收功率能力 (Power Capability) 元素中的信息。 对于 ESP station,出现以下情况时报告该代码: 
  | 
DISASSOC_SUPCHAN_BAD  | 
11  | 
11  | 
association 取消,因为无法接收支持的信道 (Supported Channels) 元素中的信息。 对于 ESP station,出现以下情况时报告该代码: 
  | 
IE_INVALID  | 
13  | 
13  | 
无效元素,即内容不符合 Wi-Fi 协议中帧格式 (Frame formats) 章节所描述标准的元素。 对于 ESP station,出现以下情况时报告该代码: 
 对于 ESP AP,出现以下情况时将报告该代码: 
  | 
MIC_FAILURE  | 
14  | 
14  | 
消息完整性代码 (MIC) 出错。 对于 ESP station,出现以下情况时报告该代码: 
  | 
4WAY_HANDSHAKE_TIMEOUT  | 
15  | 
15  | 
四次握手超时。由于某些历史原因,在 ESP 中该原因代码实为  对于 ESP station,出现以下情况时报告该代码: 
  | 
GROUP_KEY_UPDATE_TIMEOUT  | 
16  | 
16  | 
组密钥 (Group-Key) 握手超时。 对于 ESP station,出现以下情况时报告该代码: 
  | 
IE_IN_4WAY_DIFFERS  | 
17  | 
17  | 
四次握手中产生的元素与 (re-)association 后的 request/probe 以及 response/beacon frame 中的信息不同。 对于 ESP station,出现以下情况时报告该代码: 
  | 
GROUP_CIPHER_INVALID  | 
18  | 
18  | 
无效组密文。 对于 ESP station,出现以下情况时报告该代码: 
  | 
PAIRWISE_CIPHER_INVALID  | 
19  | 
19  | 
无效成对密文。 对于 ESP station,出现以下情况时报告该代码: 
  | 
AKMP_INVALID  | 
20  | 
20  | 
无效 AKMP。 对于 ESP station,出现以下情况时报告该代码: - 从 AP 接收到该代码。  | 
UNSUPP_RSN_IE_VERSION  | 
21  | 
21  | 
不支持的 RSNE 版本。 对于 ESP station,出现以下情况时报告该代码: 
  | 
INVALID_RSN_IE_CAP  | 
22  | 
22  | 
无效的 RSNE 性能。 对于 ESP station,出现以下情况时报告该代码: 
  | 
802_1X_AUTH_FAILED  | 
23  | 
23  | 
IEEE 802.1X. authentication 失败。 对于 ESP station,出现以下情况时报告该代码: 
 对于 ESP AP,出现以下情况时将报告该代码: 
  | 
CIPHER_SUITE_REJECTED  | 
24  | 
24  | 
因安全策略,安全密钥算法套件 (cipher suite) 被拒。 对于 ESP station,出现以下情况时报告该代码: 
  | 
TDLS_PEER_UNREACHABLE  | 
25  | 
25  | 
通过 TDLS 直连无法到达TDLS 对端 STA,导致 TDLS 直连中断。  | 
TDLS_UNSPECIFIED  | 
26  | 
26  | 
不明原因的 TDLS 直连中断。  | 
SSP_REQUESTED_DISASSOC  | 
27  | 
27  | 
association 取消,由于会话被 SSP request 终止。  | 
NO_SSP_ROAMING_AGREEMENT  | 
28  | 
28  | 
association 取消,由于缺乏 SSP 漫游认证。  | 
BAD_CIPHER_OR_AKM  | 
29  | 
29  | 
请求的服务被拒绝,由于 SSP 密码套件或者 AKM 的需求。  | 
NOT_AUTHORIZED_THIS_LO CATION  | 
30  | 
30  | 
请求的服务在此位置未得到授权。  | 
SERVICE_CHANGE_PRECLUDES_TS  | 
31  | 
31  | 
TS 被删除,原因是:BSS 服务特性或者运行模式改变导致 Qos AP 缺少足够的带宽给 Qos STA 使用(例如:一个HT BSS 从 40 MHz 的信道切换到 20 MHz 的信道)。  | 
UNSPECIFIED_QOS  | 
32  | 
32  | 
association 取消,由于不明确的 QoS 相关原因。  | 
NOT_ENOUGH_BANDWIDTH  | 
33  | 
33  | 
association 取消,由于QoS AP 缺少足够的带宽给该 QoS STA 使用。  | 
MISSING_ACKS  | 
34  | 
34  | 
association 取消,原因是:大量的帧需要被确认,但由于 AP 传输或者糟糕的信道条件而没有被确认。  | 
EXCEEDED_TXOP  | 
35  | 
35  | 
association 取消,由于 STA 的传输超过了 TXOPs 的限制。  | 
STA_LEAVING  | 
36  | 
36  | 
请求 STA 离开了 BSS 或者重置了。  | 
END_BA  | 
37  | 
37  | 
请求 STA 不再使用该流或者会话。  | 
UNKNOWN_BA  | 
38  | 
38  | 
请求 STA 使用一种尚未完成的机制接收帧。  | 
TIMEOUT  | 
39  | 
39  | 
对端 STA 的请求超时。  | 
Reserved  | 
40 ~ 45  | 
40 ~ 45  | 
保留  | 
PEER_INITIATED  | 
46  | 
46  | 
在 Disassociation 帧中:已达到授权访问限制。  | 
AP_INITIATED  | 
47  | 
47  | 
在 Disassociation 帧中:外部服务需求。  | 
INVALID_FT_ACTION_FRAME_COUNT  | 
48  | 
48  | 
无效的 FT Action 帧计数。  | 
INVALID_PMKID  | 
49  | 
49  | 
无效的成对主密钥标识符(PMKID)。  | 
INVALID_MDE  | 
50  | 
50  | 
无效的 MDE。  | 
INVALID_FTE  | 
51  | 
51  | 
无效的 FTE。  | 
TRANSMISSION_LINK_ESTABLISHMENT_FAILED  | 
67  | 
67  | 
在备用信道中建立传输链路失败。  | 
ALTERATIVE_CHANNEL_OCCUPIED  | 
68  | 
68  | 
备用信道被占用。  | 
BEACON_TIMEOUT  | 
200  | 
保留  | 
乐鑫特有的 Wi-Fi 原因代码: 当 station 连续失去 N 个 beacon,将中断连接并报告该代码。  | 
NO_AP_FOUND  | 
201  | 
保留  | 
乐鑫特有的 Wi-Fi 原因代码: 当 station 未扫描到目标 AP 时,将报告该代码。  | 
AUTH_FAIL  | 
202  | 
保留  | 
乐鑫特有的 Wi-Fi 原因代码: authentication 失败,但并非由超时而引发。  | 
ASSOC_FAIL  | 
203  | 
保留  | 
乐鑫特有的 Wi-Fi 原因代码: association 失败,但并非由 ASSOC_EXPIRE 或 ASSOC_TOOMANY 引发。  | 
HANDSHAKE_TIMEOUT  | 
204  | 
保留  | 
乐鑫特有的 Wi-Fi 原因代码: 握手失败,与 WIFI_REASON_4WAY_HANDSHAKE_TIMEOUT 中失败原因相同。  | 
CONNECTION_FAIL  | 
205  | 
保留  | 
乐鑫特有的 Wi-Fi 原因代码: AP 连接失败。  | 
与密码错误有关的 Wi-Fi 原因代码
下表罗列了与密码错误相关的 Wi-Fi 原因代码。
原因代码  | 
数值  | 
描述  | 
|---|---|---|
4WAY_HANDSHAKE_TIMEOUT  | 
15  | 
四次握手超时。STA 在连接加密的 AP 的时候输入了错误的密码  | 
NO_AP_FOUND  | 
201  | 
密码错误会出现这个原因代码的场景有如下两个: 
  | 
HANDSHAKE_TIMEOUT  | 
204  | 
握手超时。  | 
与低 RSSI 有关的 Wi-Fi 原因代码
下表罗列了与低 RSSI 相关的 Wi-Fi 原因代码。
原因代码  | 
数值  | 
描述  | 
|---|---|---|
NO_AP_FOUND  | 
201  | 
低 RSSI 导致 station 无法扫描到目标 AP  | 
HANDSHAKE_TIMEOUT  | 
204  | 
握手超时。  | 
找到多个 AP 时的 ESP32-C2 Wi-Fi station 连接
该场景与 ESP32-C2 Wi-Fi station 连接场景 相似,不同之处在于该场景中不会产生 WIFI_EVENT_STA_DISCONNECTED 事件,除非 station 无法连接所有找到的 AP。
Wi-Fi 重新连接
出于多种原因,station 可能会断开连接,例如:连接的 AP 重新启动等。应用程序应负责重新连接。推荐使用的方法为:在接收到 WIFI_EVENT_STA_DISCONNECTED 事件后调用函数 esp_wifi_connect()。
但有时,应用程序需要更复杂的方式进行重新连接:
如果断开连接事件是由调用函数
esp_wifi_disconnect()引发的,那么应用程序可能不希望进行重新连接。如果 station 随时可能调用函数
esp_wifi_scan_start()开始扫描,此时就需要一个更佳的重新连接方法,请参阅 连接 Wi-Fi 时扫描。
另一点需要注意的是,如果存在多个具有相同 SSID 的 AP,那么重新连接后可能不会连接到之前的同一个 AP。重新连接时,station 将永远选择最佳的 AP 进行连接。
Wi-Fi beacon 超时
ESP32-C2 使用 beacon 超时机制检测 AP 是否活跃。如果 station 在 inactive 时间内未收到所连接 AP 的 beacon,将发生 beacon 超时。inactive 时间通过调用函数 esp_wifi_set_inactive_time() 设置。
beacon 超时发生后,station 将向 AP 发送 5 个 probe request,如果仍未从 AP 接收到 probe response 或 beacon,station 将与 AP 断开连接并产生 WIFI_EVENT_STA_DISCONNECTED 事件。
需要注意的是,扫描过程中会重置 beacon 超时所使用的定时器,即扫描过程会影响 WIFI_EVENT_STA_BEACON_TIMEOUT 事件的触发。
ESP32-C2 Wi-Fi 配置
使能 Wi-Fi NVS 时,所有配置都将存储到 flash 中;反之,请参阅 Wi-Fi NVS Flash。
Wi-Fi 模式
调用函数 esp_wifi_set_mode() 设置 Wi-Fi 模式。
模式  | 
描述  | 
|---|---|
  | 
NULL 模式:此模式下,内部数据结构不分配给 station 和 AP,同时,station 和 AP 接口不会为发送/接收 Wi-Fi 数据进行初始化。通常,此模式用于 Sniffer,或者你不想通过调用函数   | 
  | 
station 模式:此模式下,  | 
  | 
AP 模式:在此模式下,  | 
  | 
station/AP 共存模式:在此模式下,函数   | 
station 基本配置
API esp_wifi_set_config() 可用于配置 station。配置的参数信息会保存到 NVS 中。下表详细介绍了各个字段。
字段  | 
描述  | 
|---|---|
ssid  | 
station 想要连接的目标 AP 的 SSID。  | 
password  | 
目标 AP 的密码。  | 
scan_method  | 
  | 
bssid_set  | 
如果 bssid_set 为 0,station 连接 SSID 与 “ssid” 字段相同的 AP,同时忽略字段 “bssid”。其他情况下,station 连接 SSID 与 “ssid” 字段相同、BSSID 与 “bssid” 字段也相同的 AP。  | 
bssid  | 
只有当 bssid_set 为 1 时有效。见字段 “bssid_set”。  | 
channel  | 
该字段为 0 时,station 扫描信道 1 ~ N 寻找目标 AP;否则,station 首先扫描值与 “channel” 字段相同的信道,再扫描其他信道。比如,当该字段设置为 3 时,扫描顺序为 3,1,2,...,N 。如果你不知道目标 AP 在哪个信道,请将该字段设置为 0。  | 
sort_method  | 
该字段仅用于  如果设置为  如果设置为   | 
threshold  | 
该字段用来筛选找到的 AP,如果 AP 的 RSSI 或安全模式小于配置的阈值,则不会被连接。 如果 RSSI 设置为 0,则表示默认阈值、默认 RSSI 阈值为 -127 dBm。如果 authmode 阈值设置为 0,则表示默认阈值,默认 authmode 阈值无授权。  | 
注意
WEP/WPA 安全模式在 IEEE802.11-2016 协议中已弃用,建议不要使用。可使用 authmode 阈值代替,通过将 threshold.authmode 设置为 WIFI_AUTH_WPA2_PSK 使用 WPA2 模式
AP 基本配置
API esp_wifi_set_config() 可用于配置 AP。配置的参数信息会保存到 NVS 中。下表详细介绍了各个字段。
字段  | 
描述  | 
|---|---|
ssid  | 
指 AP 的 SSID。如果 ssid[0] 和 ssid[1] 均为 0xFF,AP 默认 SSID 为   | 
password  | 
AP 的密码。如果身份验证模式为   | 
ssid_len  | 
SSID 的长度。如果 ssid_len 为 0,则检查 SSID 直至出现终止字符。如果 ssid_len 大于 32,请更改为 32,或者根据 ssid_len 设置 SSID 长度。  | 
channel  | 
AP 的信道。如果信道超出范围,Wi-Fi 驱动程序将默认为信道 1。所以,请确保信道在要求的范围内。有关详细信息,请参阅 Wi-Fi 国家/地区代码。  | 
authmode  | 
ESP AP 的身份验证模式。目前,ESP AP 不支持 AUTH_WEP。如果 authmode 是一个无效值,AP 默认该值为   | 
ssid_hidden  | 
如果 ssid_hidden 为 1,AP 不广播 SSID。若为其他值,则广播。  | 
max_connection  | 
允许连接 station 的最大数目,默认值是 2。ESP Wi-Fi 支持 4 (  | 
beacon_interval  | 
beacon 间隔。值为 100 ~ 60000 ms,默认值为 100 ms。如果该值不在上述范围,AP 默认取 100 ms。  | 
Wi-Fi 协议模式
目前,IDF 支持以下协议模式:
协议模式  | 
描述  | 
|---|---|
802.11b  | 
调用函数   | 
802.11bg  | 
调用函数   | 
802.11g  | 
调用函数   | 
802.11bgn  | 
调用函数   | 
802.11gn  | 
调用函数   | 
Wi-Fi 国家/地区代码
调用 esp_wifi_set_country(),设置国家/地区信息。下表详细介绍了各个字段,请在配置这些字段之前参考当地的 2.4 GHz RF 操作规定。
字段  | 
描述  | 
|---|---|
cc[3]  | 
国家/地区代码字符串,此属性标识 station/AP 位于的国家/地区或非国家/地区实体。如果是一个国家/地区,该字符串的前两个八位字节是 ISO/IEC3166-1 中规定的国家/地区两位字母代码。第三个八位字节应是下述之一: 
  | 
schan  | 
起始信道,station/AP 所处国家/地区规定的最小信道值。  | 
nchan  | 
规定的总信道数,比如,如果 schan=1,nchan=13,那么 station/AP 可以从信道 1 至 13 发送数据。  | 
policy  | 
国家/地区策略,当配置的国家/地区信息与所连 AP 的国家/地区信息冲突时,该字段决定使用哪一信息。更多策略相关信息,可参见下文。  | 
默认国家/地区信息为:
wifi_country_t config = {
    .cc = "01",
    .schan = 1,
    .nchan = 11,
    .policy = WIFI_COUNTRY_POLICY_AUTO,
};
如果 Wi-Fi 模式为 station/AP 共存模式,则它们配置的国家/地区信息相同。有时,station 所连 AP 的国家/地区信息与配置的不同。例如,配置的 station 国家/地区信息为:
wifi_country_t config = {
    .cc = "JP",
    .schan = 1,
    .nchan = 14,
    .policy = WIFI_COUNTRY_POLICY_AUTO,
};
但所连 AP 的国家/地区信息为:
wifi_country_t config = {
    .cc = "CN",
    .schan = 1,
    .nchan = 13,
};
此时,使用所连 AP 的国家/地区信息。
下表描述了在不同 Wi-Fi 模式和不同国家/地区策略下使用的国家/地区信息,并描述了对主动扫描的影响。
Wi-Fi 模式  | 
策略  | 
描述  | 
|---|---|---|
station 模式  | 
WIFI_COUNTRY_POLICY_AUTO  | 
如果所连 AP 的 beacon 中有国家/地区的 IE,使用的国家/地区信息为 beacon 中的信息,否则,使用默认信息。 扫描时: 
 请记住,如果带有隐藏 SSID 的 AP 和 station 被设置在被动扫描信道上,被动扫描将无法找到该 AP。也就是说,如果应用程序希望在每个信道中找到带有隐藏 SSID 的 AP,国家/地区信息应该配置为 WIFI_COUNTRY_POLICY_MANUAL。  | 
station 模式  | 
WIFI_COUNTRY_POLICY_MANUAL  | 
总是使用配置的国家/地区信息。 扫描时: 
  | 
AP 模式  | 
WIFI_COUNTRY_POLICY_AUTO  | 
总是使用配置的国家/地区信息。  | 
AP 模式  | 
WIFI_COUNTRY_POLICY_MANUAL  | 
总是使用配置的国家/地区信息。  | 
station/AP 共存模式  | 
WIFI_COUNTRY_POLICY_AUTO  | 
该 station 与 station 模式、WIFI_COUNTRY_POLICY_AUTO 策略下使用的国家/地区信息相同。 如果 station 不连接任何外部 AP,AP 使用配置的国家/地区信息。如果 station 连接一个外部 AP,该 AP 的国家/地区信息与该 station 相同。  | 
station/AP 共存模式  | 
WIFI_COUNTRY_POLICY_MANUAL  | 
该 station 与 station 模式、WIFI_COUNTRY_POLICY_MANUAL 策略下使用的国家/地区信息相同。 该 AP 与 AP 模式、WIFI_COUNTRY_POLICY_MANUAL 策略下使用的国家/地区信息相同。  | 
主信道
AP 模式下,AP 的信道定义为主信道。station 模式下,station 所连 AP 的信道定义为主信道。station/AP 共存模式下,AP 和 station 的主信道必须相同。如果不同,station 的主信道始终优先。比如,初始时,AP 位于信道 6,但 station 连接信道 9 的 AP。因为 station 的主信道具有优先性,该 AP 需要将信道从 6 切换至 9,确保与 station 主信道相同。切换信道时,AP 模式下的 ESP32-C2 将使用信道切换公告 (CSA) 通知连接的 station。支持信道切换的 station 将直接通过,无需与 AP 断连再重新连接。
Wi-Fi 供应商 IE 配置
默认情况下,所有 Wi-Fi 管理帧都由 Wi-Fi 驱动程序处理,应用程序不需要任何操作。但是,某些应用程序可能需要处理 beacon、probe request、probe response 和其他管理帧。例如,如果在管理帧中插入一些只针对供应商的 IE,则只有包含此 IE 的管理帧才能得到处理。ESP32-C2 中,esp_wifi_set_vendor_ie() 和 esp_wifi_set_vendor_ie_cb() 负责此类任务。
Wi-Fi Easy Connect™ (DPP)
Wi-Fi Easy ConnectTM (也称为设备配置协议)是一个安全且标准化的配置协议,用于配置 Wi-Fi 设备。更多信息请参考 esp_dpp。
WPA2-Enterprise
WPA2-Enterprise 是企业无线网络的安全认证机制。在连接到接入点之前,它使用 RADIUS 服务器对网络用户进行身份验证。身份验证过程基于 802.1X 标准,并有不同的扩展身份验证协议 (EAP) 方法,如 TLS、TTLS、PEAP 等。RADIUS 服务器根据用户的凭据(用户名和密码)、数字证书或两者对用户进行身份验证。当处于 station 模式的 ESP32-C2 尝试连接到企业模式的 AP 时,它会向 AP 发送身份验证请求,AP 会将该请求发送到 RADIUS 服务器以对 station 进行身份验证。根据不同的 EAP 方式,可以通过 idf.py menuconfig 打开配置,并在配置中设置参数。ESP32-C2 仅在 station 模式下支持 WPA2_Enterprise。
为了建立安全连接,AP 和 station 协商并就要使用的最佳密码套件达成一致。ESP32-C2 支持 AKM 的 802.1X/EAP (WPA) 方法和 AES-CCM(高级加密标准-带密码块链消息验证码协议的计数器模式)支持的密码套件。如果设置了 USE_MBEDTLS_CRYPTO 标志,ESP32-C2 也支持 mbedtls 支持的密码套件。
- 目前,ESP32-C2 支持以下 EAP 方法:
 EAP-TLS:这是基于证书的方法,只需要 SSID 和 EAP-IDF。
PEAP:这是受保护的 EAP 方法。用户名和密码是必填项。
- EAP-TTLS:这是基于凭据的方法。只有服务器身份验证是强制性的,而用户身份验证是可选的。用户名和密码是必填项。 它支持不同的 Phase2 方法,例如:
 PAP:密码认证协议
CHAP:询问握手身份验证协议
MSCHAP 和 MSCHAP-V2
EAP-FAST:这是一种基于受保护的访问凭据 (PAC) 的认证方法,使用身份验证和密码。目前使用此功能时需要禁用 USE_MBEDTLS_CRYPTO 标志。
请查看 wifi/wifi_enterprise 获取关于证书创建以及如何在 ESP32-C2 上运行 wpa2_enterprise 示例的详细信息。
无线网络管理
无线网络管理让客户端设备能够交换有关网络拓扑结构的信息,包括与射频环境相关的信息。这使每个客户端都能感知网络状况,从而促进无线网络性能的整体改进。这是 802.11v 规范的一部分。它还使客户端能够支持网络辅助漫游。 网络辅助漫游让 WLAN 能够向关联的客户端发送消息,从而使客户端与具有更好链路指标的 AP 关联。这对于促进负载平衡以及引导连接不良的客户端都很有用。
目前 802.11v 的实现支持 BSS 过渡管理帧。
无线资源管理
无线电资源测量 (802.11k) 旨在改善网络内流量的分配方式。在无线局域网中,一般情况下,无线设备会连接发射信号最强的接入点 (AP)。根据用户的数量和地理位置,这种分配方式有时会导致某个接入点超负荷而其它接入点利用不足,从而导致整体网络性能下降。在符合 802.11k 规范的网络中,如果信号最强的 AP 已满负荷加载,无线设备则转移到其它未充分利用的 AP。尽管信号可能较弱,但由于更有效地利用了网络资源,总体吞吐量会更大。
目前 802.11k 的实现支持信标测量报告、链路测量报告和邻居请求。
请参考 IDF 示例程序 examples/wifi/roaming/README.md 来设置和使用这些 API。示例代码只演示了如何使用这些 API,应用程序应根据需要定义自己的算法和案例。
Wi-Fi Location
Wi-Fi Location 将提高 AP 以外设备位置数据的准确性,这有助于创建新的、功能丰富的应用程序和服务,例如地理围栏、网络管理、导航等。用于确定设备相对于接入点的位置的协议之一是精细定时测量 (FTM),它会计算 Wi-Fi 帧的飞行时间。
精细定时测量 (FTM)
FTM 用于测量 Wi-Fi 往返时间(Wi-Fi RTT),即 Wi-Fi 信号从一个设备到另一个设备并返回所需的时间。使用 Wi-Fi RTT,设备之间的距离可以用一个简单的公式 RTT * c / 2 来计算,其中 c 是光速。
对于设备之间交换的帧,FTM 在帧到达或离开时使用时间戳,这个时间戳由 Wi-Fi 接口硬件提供。FTM 发起方(主要是 station 设备)发现 FTM 响应方(可以是 station 或 AP),并协商启动 FTM 程序。该程序以突发形式发送的多个动作帧及其 ACK 来收集时间戳数据。FTM 发起方最后收集数据以计算平均往返时间。
ESP32-C2 在以下配置中支持 FTM:
ESP32-C2 在 station 模式下为 FTM 发起方。
ESP32-C2 在 AP 模式下为 FTM 响应方。
使用 RTT 的距离测量并不准确,RF 干扰、多径传播、天线方向和缺乏校准等因素会增加这些不准确度。为了获得更好的结果,建议在两个 ESP32 芯片系列设备(ESP32-C2 除外)之间执行 FTM,这两个设备可分别设置为 station 和 AP 模式。
请参考 ESP-IDF 示例 examples/wifi/ftm/README.md,了解设置和执行 FTM 的详细步骤。
ESP32-C2 Wi-Fi 节能模式
本小节将简单介绍Wi-Fi节能模式相关的概念和使用方式,更加详细的介绍请参考 低功耗模式使用指南。
station 睡眠
目前, ESP32-C2 Wi-Fi 支持 Modem-sleep 模式,该模式是 IEEE 802.11 协议中的传统节能模式。仅 station 模式支持该模式,station 必须先连接到 AP。如果使能了 Modem-sleep 模式,station 将定期在活动状态和睡眠状态之间切换。在睡眠状态下,RF、PHY 和 BB 处于关闭状态,以减少功耗。Modem-sleep 模式下,station 可以与 AP 保持连接。
Modem-sleep 模式包括最小和最大节能模式。在最小节能模式下,每个 DTIM 间隔,station 都将唤醒以接收 beacon。广播数据在 DTIM 之后传输,因此不会丢失。但是,由于 DTIM 间隔长短由 AP 决定,如果该间隔时间设置较短,则省电效果不大。
在最大节能模式下,每个监听间隔,station 都将唤醒以接收 beacon。可以设置该监听间隔长于 AP 的 DTIM 周期。在 DTIM 期间内,station 可能处于睡眠状态,广播数据会丢失。如果监听间隔较长,则可以节省更多电量,但广播数据更容易丢失。连接 AP 前,可以通过调用 API esp_wifi_set_config() 配置监听间隔。
调用 esp_wifi_init() 后,调用 esp_wifi_set_ps(WIFI_PS_MIN_MODEM) 可使能 Modem-sleep 最小节能模式。调用 esp_wifi_set_ps(WIFI_PS_MAX_MODEM) 可使能 Modem-sleep 最大节能模式。station 连接到 AP 时,Modem-sleep 模式将启动。station 与 AP 断开连接时,Modem-sleep 模式将停止。
调用 esp_wifi_set_ps(WIFI_PS_NONE) 可以完全禁用 Modem-sleep 模式。禁用会增大功耗,但可以最大限度减少实时接收 Wi-Fi 数据的延迟。使能 Modem-sleep 模式时,接收 Wi-Fi 数据的延迟时间可能与 DTIM 周期(最小节能模式)或监听间隔(最大节能模式)相同。
默认的 Modem-sleep 模式是 WIFI_PS_MIN_MODEM。
AP 睡眠
目前,ESP32-C2 AP 不支持 Wi-Fi 协议中定义的所有节能功能。具体来说,AP 只缓存所连 station 单播数据,不缓存组播数据。如果 ESP32-C2 AP 所连的 station 已使能节能功能,可能发生组播数据包丢失。
未来,ESP32-C2 AP 将支持所有节能功能。
非连接状态下的休眠
非连接状态指的是 esp_wifi_start() 至 esp_wifi_stop() 期间内,没有建立 Wi-Fi 连接的阶段。
目前, ESP32-C2 Wi-Fi 支持以 station 模式运行时,在非连接状态下休眠。可以通过选项 CONFIG_ESP_WIFI_STA_DISCONNECTED_PM_ENABLE 配置该功能。
如果打开配置选项 CONFIG_ESP_WIFI_STA_DISCONNECTED_PM_ENABLE,则在该阶段内,RF, PHY and BB 将在空闲时被关闭,电流将会等同于 Modem-sleep 模式下的休眠电流。
配置选项 CONFIG_ESP_WIFI_STA_DISCONNECTED_PM_ENABLE 默认情况下将会被打开,共存模式下被 Menuconfig 强制打开。
非连接模块功耗管理
非连接模块指的是一些不依赖于 Wi-Fi 连接的 Wi-Fi 模块,例如 ESP-NOW,DPP,FTM。这些模块从 esp_wifi_start() 开始工作至 esp_wifi_stop() 结束。
目前,ESP-NOW 以 station 模式工作时,既支持在连接状态下休眠,也支持在非连接状态下休眠。
非连接模块发包
对于任何非连接模块,在开启了休眠的任何时间点都可以发包,不需要进行任何额外的配置。
此外,esp_wifi_80211_tx() 也在休眠时被支持。
非连接模块收包
对于非连接模块,在开启休眠时如果需要进行收包,需要配置两个参数,分别为 Window 和 Interval。
在每个 Interval 开始时,RF, PHY and BB 将会被打开并保持 Window 的时间。非连接模块可以在此时间内收包。
Interval
全局只有一个 Interval 参数,所有非连接模块共享它。其数值由 API
esp_wifi_set_connectionless_interval()配置,单位为毫秒。Interval 的默认值为 ESP_WIFI_CONNECTIONLESS_INTERVAL_DEFAULT_MODE 。
在 Interval 开始时,将会给出 WIFI_EVENT_CONNECTIONLESS_MODULE_WAKE_INTERVAL_START 事件,由于 Window 将在此时开始,可以在此事件内布置发包动作。
在连接状态下,Interval 开始的时间点将会与 TBTT 时间点对齐。
Window
每个非连接模块在启动后都有其自身的 Window 参数,休眠模块将取所有模块 Window 的最大值运作。
其数值由 API
module_name_set_wake_window()配置,单位为毫秒。模块 Window 的默认值为最大值。
Interval  | 
|||
  | 
1 - maximum  | 
||
Window  | 
0  | 
not used  | 
|
1 - maximum  | 
default mode  | 
used periodically (Window < Interval) / used all time (Window ≥ Interval)  | 
|
默认模式
当 Interval 参数被配置为 ESP_WIFI_CONNECTIONLESS_INTERVAL_DEFAULT_MODE ,且有非零的 Window 参数时,非连接模块功耗管理将会按默认模式运行。
在没有与非 Wi-Fi 协议共存时,RF、PHY 和 BB 将会在默认模式下被一直打开。
在与非 Wi-Fi 协议共存时,RF、PHY 和 BB 资源被共存模块分时划给 Wi-Fi 非连接模块和非 Wi-Fi 协议使用。在默认模式下,Wi-Fi 非连接模块被允许周期性使用 RF、PHY 和 BB,并且具有稳定性能。
推荐在与非 Wi-Fi 协议共存时将非连接模块功耗管理配置为默认模式。
ESP32-C2 Wi-Fi 吞吐量
下表是我们在 Espressif 实验室和屏蔽箱中获得的最佳吞吐量结果。
Wi-Fi 80211 数据包发送
esp_wifi_80211_tx() API 可用于:
发送 beacon、probe request、probe response 和 action 帧。
发送非 QoS 数据帧。
不能用于发送加密或 QoS 帧。
使用 esp_wifi_80211_tx() 的前提条件
Wi-Fi 模式为 station 模式,AP 模式,或 station/AP 共存模式。
API esp_wifi_set_promiscuous(true) 或
esp_wifi_start(),或者二者都返回ESP_OK。这是为确保在调用函数esp_wifi_80211_tx()前,Wi-Fi 硬件已经初始化。对于 ESP32-C2,esp_wifi_set_promiscuous(true) 和esp_wifi_start()都可以触发 Wi-Fi 硬件初始化。提供正确的
esp_wifi_80211_tx()参数。
传输速率
默认传输速率为 1 Mbps。
可以通过函数
esp_wifi_config_80211_tx_rate()设置任意速率。可以通过函数
esp_wifi_set_bandwidth()设置任意带宽。
在不同情况下需要避免的副作用
理论上,如果不考虑 API 对 Wi-Fi 驱动程序或其他 station 或 AP 的副作用,可以通过空中发送一个原始的 802.11 数据包,包括任何目的地址的 MAC、任何源地址的 MAC、任何 BSSID、或任何其他类型的数据包。但是,一个具有强健、有用的应用程序应该避免这种副作用。下表针对如何避免 esp_wifi_80211_tx() 的副作用提供了一些提示或建议。
场景  | 
描述  | 
|---|---|
无 Wi-Fi 连接  | 
在这种情况下,因为没有 Wi-Fi 连接,Wi-Fi 驱动程序不会受到副作用影响。如果  理论上,MAC 地址可以是任何地址。但是,这样可能会影响其他使用相同 MAC/BSSID 的 station/AP。 例如,AP 模式下,应用程序调用函数  为了避免上述副作用,我们建议: 
 上述建议仅供避免副作用,在有充分理由的情况下可以忽略。  | 
有 Wi-Fi 连接  | 
当 Wi-Fi 已连接,且序列由应用程序控制,应用程序可能会影响整个 Wi-Fi 连接的序列控制。 因此,en_sys_seq 要为 true,否则将返回  “无 Wi-Fi 连接”情况下的 MAC 地址建议也适用于此情况。 如果 Wi-Fi 模式是 station 模式,MAC 的地址 1 是 station 所连 AP 的 MAC,地址 2 是 station 接口的 MAC,那么就称数据包是从 station 发送到 AP。另一方面,如果 Wi-Fi 模式是 AP 模式,且 MAC 地址 1 是该 AP 所连 station 的 MAC,地址 2 是 AP 接口的 MAC,那么就称数据包是从 AP 发送到 station。为避免与 Wi-Fi 连接冲突,可采用以下检查方法: 
 如果任何检查失败,将返回   | 
Wi-Fi Sniffer 模式
Wi-Fi Sniffer 模式可以通过 esp_wifi_set_promiscuous() 使能。如果使能 Sniffer 模式, 可以 向应用程序转储以下数据包。
802.11 管理帧
802.11 数据帧,包括 MPDU、AMPDU、AMSDU 等
802.11 MIMO 帧,Sniffer 模式仅转储 MIMO 帧的长度。
802.11 控制帧
802.11 CRC 错误帧
不可以 向应用程序转储以下数据包。
802.11 其它错误帧
对于 Sniffer 模式 可以 转储的帧,应用程序可以另外使用 esp_wifi_set_promiscuous_filter() 和 esp_wifi_set_promiscuous_ctrl_filter() 决定筛选哪些特定类型的数据包。应用程序默认筛选所有 802.11 数据和管理帧。
可以在 WIFI_MODE_NULL、WIFI_MODE_STA、WIFI_MODE_AP、WIFI_MODE_APSTA 等 Wi-Fi 模式下使能 Wi-Fi Sniffer 模式。也就是说,当 station 连接到 AP,或者 AP 有 Wi-Fi 连接时,就可以使能。请注意,Sniffer 模式对 station/AP Wi-Fi 连接的吞吐量有 很大影响。通常,除非有特别原因,当 station/AP Wi-Fi 连接出现大量流量,不应使能。
该模式下还应注意回调函数 wifi_promiscuous_cb_t 的使用。该回调将直接在 Wi-Fi 驱动程序任务中进行,所以如果应用程序需处理大量过滤的数据包,建议在回调中向应用程序任务发布一个事件,把真正的工作推迟到应用程序任务中完成。
Wi-Fi 多根天线
下图描述 Wi-Fi 多根天线的选择过程:
                __________
               |Enabled   |
            ___|Antenna 0 |\\                                              _________
               |__________| \\        GPIO[0] <----> antenna_select[0] ---|         | --- antenna 0
RX/TX ___                    \\____\  GPIO[1] <----> antenna_select[1] ---| Antenna | --- antenna 1
         \      __________   //    /  GPIO[2] <----> antenna_select[2] ---| Switch  | ...  ...
          \ ___|Enabled   | //        GPIO[3] <----> antenna_select[3] ---|_________| --- antenna 15
           \   |Antenna 1 |//
               |__________|
ESP32-C2 通过外部天线开关,最多支持 16 根天线。天线开关最多可由四个地址管脚控制 - antenna_select[0:3]。向 antenna_select[0:3] 输入不同的值,以选择不同的天线。例如,输入值 '0b1011' 表示选中天线 11。antenna_select[3:0] 的默认值为 "0b0000",表示默认选择了天线 0。
四个高电平有效 antenna_select 管脚有多达四个 GPIO 连接。ESP32-C2 可以通过控制 GPIO[0:3] 选择天线。API esp_wifi_set_ant_gpio() 用于配置 antenna_selects 连接哪些 GPIO。如果 GPIO[x] 连接到 antenna_select[x],gpio_config->gpio_cfg[x].gpio_select 应设置为 1,且要提供 gpio_config->gpio_cfg[x].gpio_num 的值。
天线开关的具体实现不同,antenna_select[0:3] 的输入值中可能存在非法值,即 ESP32-C2 通过外部天线开关支持的天线数可能小于 16 根。例如,ESP32-WROOM-DA 使用 RTC6603SP 作为天线开关,仅支持 2 根天线。两个天线选择输入管脚为高电平有效,连接到两个 GPIO。'0b01' 表示选中天线 0,'0b10' 表示选中天线 1。输入值 '0b00' 和 '0b11' 为非法值。
尽管最多支持 16 根天线,发送和接收数据时,最多仅能同时使能两根天线。API esp_wifi_set_ant() 用于配置使能哪些天线。
使能天线后,选择算法的过程同样可由 esp_wifi_set_ant() 配置。接收/发送数据源的天线模式可以是 WIFI_ANT_MODE_ANT0、WIFI_ANT_MODE_ANT1 或 WIFI_ANT_MODE_AUTO。如果天线模式为 WIFI_ANT_MODE_ANT0,使能的天线 0 用于接收/发送数据。如果天线模式为 WIFI_ANT_MODE_ANT1,使能天线 1 用于接收/发送数据。否则,Wi-Fi 会自动选择使能天线中信号较好的天线。
如果接收数据的天线模式为 WIFI_ANT_MODE_AUTO,还需要设置默认天线模式。只有在满足某些条件时,接收数据天线才会切换,例如,如果 RSSI 低于 -65 dBm,或另一根天线信号更好。如果条件不满足,接收数据使用默认天线。如果默认天线模式为 WIFI_ANT_MODE_ANT1,则使能的天线 1 是默认接收数据天线,否则是使能的天线 0。
有一些限制情况需要考虑:
因为发送数据天线基于 WIFI_ANT_MODE_AUTO 类型的接收数据天线选择算法,只有接收数据的天线模式为 WIFI_ANT_MODE_AUTO 时,发送数据天线才能设置为 WIFI_ANT_MODE_AUTO。
接收或者发送天线模式配置为 WIFI_ANT_MODE_AUTO 时,只要存在 RF 信号的恶化,很容易触发天线切换。如果射频信号不稳定,天线会频繁切换,使得总的射频性能无法达到预期效果。
目前,Bluetooth® 不支持多根天线功能,请不要使用与多根天线有关的 API。
推荐在以下场景中使用多根天线:
应用程序可以始终选择指定的天线,也可以执行自身天线选择算法,如根据应用程序收集的信息来选择天线模式等。请参考 IDF 示例 examples/wifi/antenna/README.md 来设计天线选择算法。
接收/发送数据的天线模式均配置为 WIFI_ANT_MODE_ANT0 或 WIFI_ANT_MODE_ANT1。
Wi-Fi 多根天线配置
通常,可以执行以下步骤来配置多根天线:
配置 antenna_selects 连接哪些 GPIOs,例如,如果支持四根天线,且 GPIO20/GPIO21 连接到 antenna_select[0]/antenna_select[1],配置如下所示:
wifi_ant_gpio_config_t ant_gpio_config = {
    .gpio_cfg[0] = { .gpio_select = 1, .gpio_num = 20 },
    .gpio_cfg[1] = { .gpio_select = 1, .gpio_num = 21 }
};
配置使能哪些天线、以及接收/发送数据如何使用使能的天线,例如,如果使能了天线 1 和天线 3,接收数据需要自动选择较好的天线,并将天线 1 作为默认天线,发送数据始终选择天线 3。配置如下所示:
wifi_ant_config_t config = {
    .rx_ant_mode = WIFI_ANT_MODE_AUTO,
    .rx_ant_default = WIFI_ANT_ANT0,
    .tx_ant_mode = WIFI_ANT_MODE_ANT1,
    .enabled_ant0 = 1,
    .enabled_ant1 = 3
};
Wi-Fi HT20/40
ESP32-C2 仅支持 Wi-Fi 带宽 HT20,不支持 Wi-Fi 带宽 HT40 或 HT20/40 共存。
Wi-Fi QoS
ESP32-C2 支持 WFA Wi-Fi QoS 认证所要求的所有必备功能。
Wi-Fi 协议中定义了四个 AC(访问类别),每个 AC 有各自的优先级访问 Wi-Fi 信道。此外,还定义了映射规则以映射其他协议的 QoS 优先级,例如 802.11D 或 TCP/IP 到 Wi-Fi AC。
下表描述 ESP32-C2 中 IP 优先级如何映射到 Wi-Fi AC,还指明此 AC 是否支持 AMPDU。该表按优先级降序排列,即 AC_VO 拥有最高优先级。
IP 优先级  | 
Wi-Fi AC  | 
是否支持 AMPDU  | 
|---|---|---|
6, 7  | 
AC_VO (Voice)  | 
否  | 
4, 5  | 
AC_VI (Video)  | 
是  | 
3, 0  | 
AC_BE (Best Effort)  | 
是  | 
1, 2  | 
AC_BK (Background)  | 
是  | 
应用程序可以通过套接字选项 IP_TOS 配置 IP 优先级使用 QoS 功能。下面是使套接字使用 VI 队列的示例:
const int ip_precedence_vi = 4;
const int ip_precedence_offset = 5;
int priority = (ip_precedence_vi << ip_precedence_offset);
setsockopt(socket_id, IPPROTO_IP, IP_TOS, &priority, sizeof(priority));
理论上,高优先级的 AC 比低优先级 AC 具有更好的性能,但并非总是如此,下面是一些关于如何使用 Wi-Fi QoS 的建议:
可以把一些真正重要的应用程序流量放到 AC_VO 队列中。避免通过 AC_VO 队列发送大流量。一方面,AC_VO 队列不支持 AMPDU,如果流量很大,性能不会优于其他队列。另一方面,可能会影响同样使用 AC_VO 队列的管理帧。
避免使用 AMPDU 支持的、两个以上的不同优先级,比如 socket A 使用优先级 0,socket B 使用优先级 1,socket C 使用优先级 2。因为可能需要更多的内存,不是好的设计。具体来说,Wi-Fi 驱动程序可能会为每个优先级生成一个 Block Ack 会话,如果设置了 Block Ack 会话,则需要更多内存。
Wi-Fi AMSDU
ESP32-C2 支持接收 AMSDU。
Wi-Fi 分片
WPS 注册
在 Wi-Fi 模式 WIFI_MODE_STA 或 WIFI_MODE_APSTA 下,ESP32-C2 支持 WPS 注册功能。目前,ESP32-C2 支持的 WPS enrollee 类型有 PBC 和 PIN。
Wi-Fi 缓冲区使用情况
本节只介绍动态缓冲区配置。
缓冲区配置的重要性
为了获得一个具有强健、高性能的系统,我们需要非常谨慎地考虑内存的使用或配置情况,因为:
ESP32-C2 的可用内存有限。
目前,LwIP 和 Wi-Fi 驱动程序中默认的缓冲区类型是“动态”,意味着 LwIP 和 Wi-Fi 都与应用程序共享内存。程序员应该时刻牢记这一点,否则将面临如“堆内存耗尽”等的内存问题。
“堆耗尽”情况非常危险,会导致 ESP32-C2 出现“未定义行为”。因此,应该为应用程序预留足够的堆内存,防止耗尽。
Wi-Fi 的吞吐量很大程度上取决于与内存相关的配置,如 TCP 窗口大小、Wi-Fi 接收/发送数据动态缓冲区数量等。
ESP32-C2 LwIP/Wi-Fi 可能使用的堆内存峰值取决于许多因素,例如应用程序可能拥有的最大 TCP/UDP 连接等。
在考虑内存配置时,应用程序所需的总内存也是一个重要因素。
由于这些原因,不存在一个适合所有应用程序的配置。相反,我们必须为每个不同的应用程序考虑不同的内存配置。
动态与静态缓冲区
Wi-Fi 驱动程序中默认的缓存类型是“动态”。大多数情况下,动态缓冲区可以极大地节省内存。但是因为应用程序需要考虑 Wi-Fi 的内存使用情况,会给应用程序编程造成一定的难度。
lwIP 还在 TCP/IP 层分配缓冲区,这种缓冲区分配也是动态的。具体内容,见 lwIP 文档内存使用和性能部分。
Wi-Fi 动态缓冲区峰值
Wi-Fi 驱动程序支持多种类型的缓冲区(参考 Wi-Fi 缓冲区配置 )。但本节只介绍 Wi-Fi 动态缓冲的使用方法 Wi-Fi 使用的堆内存峰值是 Wi-Fi 驱动程序 理论上消耗的最大内存。通常,该内存峰值取决于:
\(b_{rx}\) 配置的动态接收数据缓冲区数
\(b_{tx}\) 配置的动态发送数据缓冲区数
\(m_{rx}\) Wi-Fi 驱动程序可以接收的最大数据包
\(m_{tx}\) Wi-Fi 驱动程序可以发送的最大数据包
因此,Wi-Fi 驱动程序消耗的内存峰值(\(p\))可以用下面的公式计算:
一般情况下,不需要关心动态发送数据长缓冲区和超长缓冲区,因为它们是管理帧,对系统的影响很小。
如何提高 Wi-Fi 性能
ESP32-C2 Wi-Fi 的性能受许多参数的影响,各参数之间存在相互制约。如果配置地合理,不仅可以提高性能,还可以增加应用程序的可用内存,提高稳定性。
在本节中,我们将简单介绍 Wi-Fi/LWIP 协议栈的工作模式,并说明各个参数的作用。我们将推荐几种配置等级,你可以根据使用场景选择合适的等级。
协议栈工作模式
ESP32-C2 数据路径
ESP32-C2 协议栈分为四层,分别为应用层、LWIP 层、Wi-Fi 层和硬件层。
在接收过程中,硬件将接收到的数据包放入 DMA 缓冲区,然后依次传送到 Wi-Fi 的接收数据缓冲区、LWIP 的接收数据缓冲区进行相关协议处理,最后传送到应用层。Wi-Fi 的接收数据缓冲区和 LWIP 的接收数据缓冲区默认共享同一个缓冲区。也就是说,Wi-Fi 默认将数据包转发到 LWIP 作为参考。
在发送过程中,应用程序首先将要发送的消息复制到 LWIP 层的发送数据缓冲区,进行 TCP/IP 封装。然后将消息发送到 Wi-Fi 层的发送数据缓冲区进行 MAC 封装,最后等待发送。
参数
适当增加上述缓冲区的大小或数量,可以提高 Wi-Fi 性能,但同时,会减少应用程序的可用内存。下面我们将介绍你需要配置的参数:
接收数据方向:
- CONFIG_ESP_WIFI_STATIC_RX_BUFFER_NUM
 该参数表示硬件层的 DMA 缓冲区数量。提高该参数将增加发送方的一次性接收吞吐量,从而提高 Wi-Fi 协议栈处理突发流量的能力。
- CONFIG_ESP_WIFI_DYNAMIC_RX_BUFFER_NUM
 该参数表示 Wi-Fi 层中接收数据缓冲区的数量。提高该参数可以增强数据包的接收性能。该参数需要与 LWIP 层的接收数据缓冲区大小相匹配。
- CONFIG_ESP_WIFI_RX_BA_WIN
 该参数表示接收端 AMPDU BA 窗口的大小,应配置为 CONFIG_ESP_WIFI_STATIC_RX_BUFFER_NUM 和 CONFIG_ESP_WIFI_DYNAMIC_RX_BUFFER_NUM 的二倍数值中较小的数值。
- CONFIG_LWIP_TCP_WND_DEFAULT
 该参数表示 LWIP 层用于每个 TCP 流的的接收数据缓冲区大小,应配置为 WIFI_DYNAMIC_RX_BUFFER_NUM (KB) 的值,从而实现高稳定性能。同时,在有多个流的情况下,应相应降低该参数值。
发送数据方向:
- CONFIG_ESP_WIFI_TX_BUFFER
 该参数表示发送数据缓冲区的类型,建议配置为动态缓冲区,该配置可以充分利用内存。
- CONFIG_ESP_WIFI_DYNAMIC_TX_BUFFER_NUM
 该参数表示 Wi-Fi 层发送数据缓冲区数量。提高该参数可以增强数据包发送的性能。该参数值需要与 LWIP 层的发送数据缓冲区大小相匹配。
- CONFIG_LWIP_TCP_SND_BUF_DEFAULT
 该参数表示 LWIP 层用于每个 TCP 流的的发送数据缓冲区大小,应配置为 WIFI_DYNAMIC_TX_BUFFER_NUM (KB) 的值,从而实现高稳定性能。在有多个流的情况下,应相应降低该参数值。
通过在 IRAM 中放置代码优化吞吐量:
备注
上述的缓冲区大小固定为 1.6 KB。
如何配置参数
ESP32-C2 的内存由协议栈和应用程序共享。
在这里,我们给出了几种配置等级。在大多数情况下,应根据应用程序所占用内存的大小,选择合适的等级进行参数配置。
下表中未提及的参数应设置为默认值。
等级  | 
Iperf  | 
默认  | 
最小  | 
|---|---|---|---|
可用内存 (KB)  | 
37  | 
56  | 
84  | 
WIFI_STATIC_RX_BUFFER_NUM  | 
14  | 
7  | 
3  | 
WIFI_DYNAMIC_RX_BUFFER_NUM  | 
18  | 
14  | 
6  | 
WIFI_DYNAMIC_TX_BUFFER_NUM  | 
18  | 
14  | 
6  | 
WIFI_RX_BA_WIN  | 
16  | 
12  | 
6  | 
TCP_SND_BUF_DEFAULT (KB)  | 
18  | 
14  | 
6  | 
TCP_WND_DEFAULT (KB)  | 
18  | 
14  | 
6  | 
LWIP_IRAM_OPTIMIZATION  | 
13  | 
13  | 
0  | 
TCP 发送数据吞吐量 (Mbit/s)  | 
21.6  | 
21.4  | 
14.3  | 
TCP 接收数据吞吐量 (Mbit/s)  | 
19.1  | 
17.9  | 
12.4  | 
UDP 发送数据吞吐量 (Mbit/s)  | 
26.4  | 
26.3  | 
25.0  | 
UDP 接收数据吞吐量 (Mbit/s)  | 
32.3  | 
31.5  | 
27.7  | 
备注
以上结果使用红米 RM2100 路由器,在屏蔽箱中进行单流测试得出。 ESP32-C2 的 CPU 为单核,频率为 120 MHz,flash 为 QIO 模式,频率为 60 MHz。


