设备发现

[English]

本文档为低功耗蓝牙 (Bluetooth LE) 入门教程其二,旨在对低功耗蓝牙设备发现过程进行简要介绍,包括广播与扫描相关的基本概念。随后,本教程会结合 NimBLE_Beacon 例程,基于 NimBLE 主机层协议栈,对低功耗蓝牙广播的代码实现进行介绍。

学习目标

  • 学习广播的基本概念

  • 学习扫描的基本概念

  • 学习 NimBLE_Beacon 例程的代码结构

广播 (Advertising) 与扫描 (Scanning) 是低功耗蓝牙设备在进入连接前在设备发现 (Device Discovery) 阶段的工作状态。下面,我们先了解与广播有关的基本概念。

广播的基本概念

广播是设备通过蓝牙天线,向外发送广播数据包的过程。由于广播者在广播时并不知道环境中是否存在接收方,也不知道接收方会在什么时候启动天线,所以需要周期性地发送广播数据包,直到有设备响应。在上述过程中,对于广播者来说存在以下几个问题,让我们一起来思考一下

  1. 向哪里发送广播数据包? (Where?)

  2. 发送广播数据包的周期取多久? (When?)

  3. 广播数据包里包含哪些信息? (What?)

向哪里发送广播数据包?

蓝牙的无线电频段

第一个问题指向的是,广播数据包应发送到哪一无线电频段。这个回答由蓝牙核心规范给出,答案是 2.4 GHz ISM 频段。2.4 GHz ISM 频段是一个全球可用的免费无线电频段,不被任何国家以军事用途等理由管控,也无需向任何组织支付许可费用,因此该频段的可用性极高,且没有任何使用成本。不过,这也意味着 2.4 GHz ISM 频段非常拥挤,可能会与其他无线通信协议发生数据冲突,如 2.4 GHz WiFi。

蓝牙信道

与经典蓝牙相同,蓝牙技术联盟为了解决数据冲突的问题,在低功耗蓝牙上也应用了自适应跳频技术 (Adaptive Frequency Hopping, AFH) ,该技术可以判断 RF 信道的拥挤程度,通过跳频避开拥挤的 RF 信道,以提高通信质量。不过低功耗蓝牙与经典蓝牙的不同之处在于,所使用的 2.4 GHz ISM 频段被划分为 40 个 2 MHz 带宽的射频 (Radio Frequency, RF) 信道,中心频率范围为 2402 MHz - 2480 MHz ,而经典蓝牙则是将这一频段划分为 79 个 1MHz 带宽的 RF 信道。

在蓝牙核心规范 4.2 (Bluetooth Core Specification 4.2) 中, RF 信道分为两种类型,如下

类型

数量

编号

作用

广播信道 (Advertising Channel)

3

37-39

用于发送广播数据包和扫描响应数据包

数据信道 (Data Channel)

37

0-36

用于发送数据通道数据包

广播者在广播时,会在 37-39 这三个广播信道中进行广播数据包的发送。在三个广播信道的广播数据包均发送完毕后,可以认为一次广播结束,广播者会在下一次广播时刻到来时重复上述过程。

扩展广播特性

蓝牙核心规范 4.2 中,广播数据包允许搭载最多 31 字节广播数据,这无疑限制了广播的功能。为了提高广播的可用性,蓝牙 5.0 标准引入了 扩展广播 (Extended Advertising) 特性,这一特性将广播数据包分为

类型

简称

单包最大广播数据字节数

最大广播数据字节数

主广播数据包 (Primary Advertising Packet)

Legacy ADV

31

31

扩展广播数据包 (Extended Advertising Packet)

Extended ADV

254

1650

扩展广播数据包由 ADV_EXT_INDAUX_ADV_IND 组成,分别在主广播信道 (Primary Advertising Channel) 和次广播信道 (Secondary Advertising Channel) 上传输。其中,主广播信道对应于信道 37-39 ,次广播信道对应于信道 0-36 。由于接收方总是在主广播信道中接收广播数据,因此发送方在发送扩展广播数据包时,应在主广播信道中发送 ADV_EXT_IND ,在次广播信道中发送 AUX_ADV_IND ,并在 ADV_EXT_IND 中指示 AUX_ADV_IND 所在的次广播信道;通过这种机制,接收方能够在接收到主广播信道的 ADV_EXT_IND 以后,根据指示到指定的次广播信道去接收 AUX_ADV_IND ,从而得到完整的扩展广播数据包。

类型

信道

作用

主广播信道 (Primary Advertising Channel)

37-39

用于传输扩展广播数据包的 ADV_EXT_IND

次广播信道 (Secondary Advertising Channel)

0-36

用于传输扩展广播数据包的 AUX_ADV_IND

发送广播数据包的周期取多久?

广播间隔

对于第二个问题,即发送广播数据包的周期怎么取,蓝牙标准中也给出了一个明确的参数定义,即广播间隔 (Advertising Interval)。广播间隔可取的范围为 20 ms 到 10.24 s ,取值步长为 0.625 ms。

广播间隔的取值决定了广播者的可发现性 (Discoverability) 以及设备功耗。当广播间隔取得太长时,广播数据包被接收方接收到的概率就会变得很低,此时广播者的可发现性就会变差。同时,广播间隔也不宜取得太短,因此频繁发送广播数据需要消耗更多的电量。所以,广播者需要在可发现性和能耗之间进行取舍,根据应用场景的需求选择最合适的广播间隔。

值得一提的是,如果在同一空间中存在两个广播间隔相同的广播者,那么有概率出现重复性的撞包 (Packet Collision) 现象,即两个广播者总是在同一时刻向同一信道发送广播数据。由于广播是一个只发不收的过程,广播者无法得知是否发生了广播撞包。为了降低上述问题的发生概率,广播者应在每一次广播事件后添加 0-10 ms 的随机时延。

广播数据包里包含哪些信息?

广播数据包结构

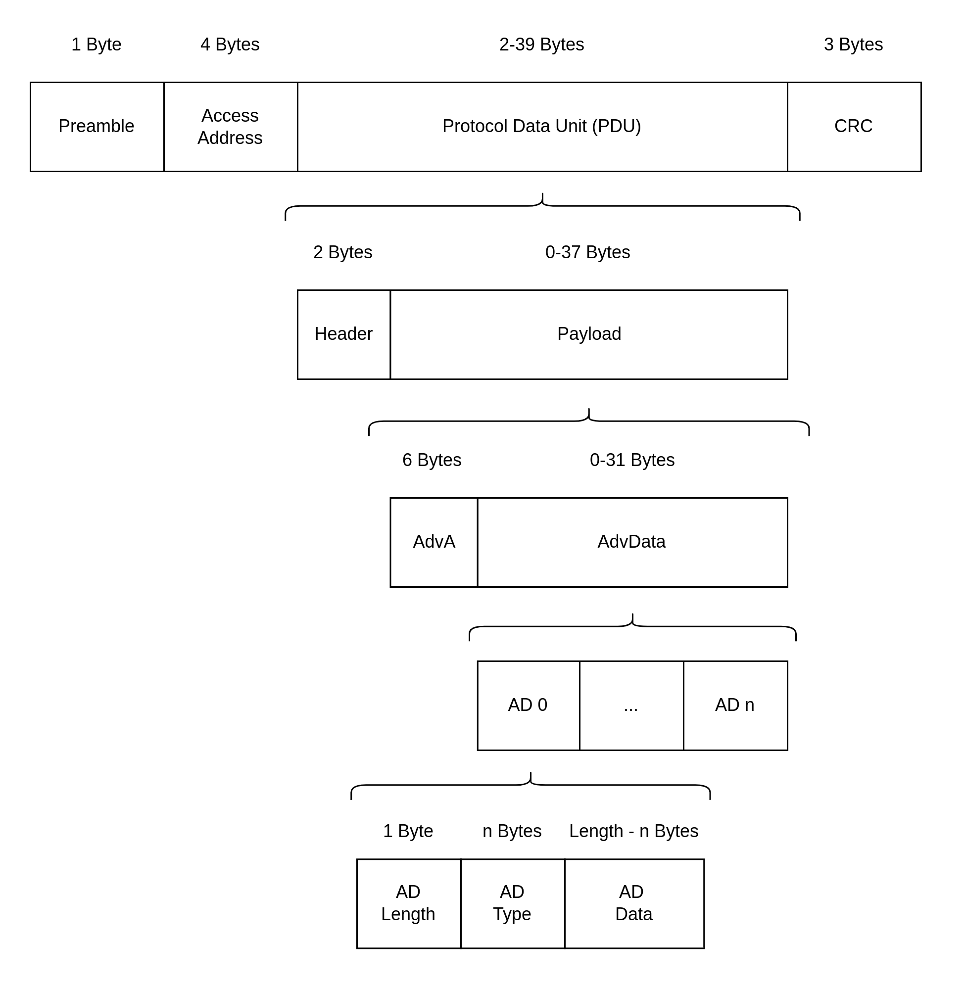
对于第三个问题,即广播数据包内含有什么信息,在蓝牙核心规范 4.2 中给出了广播数据包的格式定义,如下图所示

广播数据包结构

蓝牙核心规范 4.2 广播数据包结构

看起来非常复杂,让我们来逐层分解。广播数据包的最外层包含四个部分,分别是

序号

名称

字节数

功能

1

预置码 (Preamble)

1

特殊的比特序列,用于设备时钟同步

2

访问地址 (Access Address)

4

标记广播数据包的地址

3

协议数据单元 (Protocol Data Unit, PDU)

2-39

有效数据的存放区域

4

循环冗余校验和 (Cyclic Redundancy Check, CRC)

3

用于循环冗余校验

广播数据包是蓝牙数据包的一种类型,由 PDU 类型决定。下面我们将对 PDU 展开详细的介绍

PDU

PDU 段为有效数据存放的区域,其结构如下

序号

名称

字节数

1

头 (Header)

2

2

有效负载 (Payload)

0-37

PDU 头

PDU 头中含有较多信息,可以分为以下六个部分

序号

名称

比特位数

备注

1

PDU 类型 (PDU Type)

4

2

保留位 (Reserved for Future Use, RFU)

1

3

通道选择位 (Channel Selection Bit, ChSel)

1

标记广播者是否支持 LE Channel Selection Algorithm #2 通道选择算法

4

发送地址类型 (Tx Address, TxAdd)

1

0/1 分别表示公共地址/随机地址

5

接收地址类型 (Rx Address, RxAdd)

1

0/1 分别表示公共地址/随机地址

6

有效负载长度 (Payload Length)

8

PDU 类型位反映了设备的广播行为。在蓝牙标准中,共有以下三对广播行为

  • 可连接 (Connectable)不可连接 (Non-connectable)
    • 是否接受其他设备的连接请求

  • 可扫描 (Scannable)不可扫描 (Non-scannable)
    • 是否接受其他设备的扫描请求

  • 不定向 (Undirected)定向 (Directed)
    • 是否发送广播数据至指定设备

上述广播行为可以组合成以下四种常见的广播类型,对应四种不同的 PDU 类型

可连接?

可扫描?

不定向?

PDU 类型

作用

ADV_IND

最常见的广播类型

ADV_DIRECT_IND

常用于已知设备重连

ADV_NONCONN_IND

作为信标设备,仅向外发送广播数据

ADV_SCAN_IND

作为信标设备,一般用于广播数据包长度不足的情况,此时可以通过扫描响应向外发送额外的数据

PDU 有效负载

PDU 有效负载也分为两部分

序号

名称

字节数

备注

1

广播地址 (Advertisement Address, AdvA)

6

广播设备的 48 位蓝牙地址

2

广播数据 (Advertisement Data, AdvData)

0-31

由若干广播数据结构 (Advertisement Data Structure) 组成

先看广播地址,即蓝牙地址,可以分为

类型

说明

公共地址 (Public Address)

全球范围内独一无二的固定设备地址,厂商必须为此到 IEEE 组织注册并缴纳一定费用

随机地址 (Random Address)

随机生成的地址

随机地址又根据用途分为两类

类型

说明

随机静态地址 (Random Static Address)

可以随固件固化于设备,也可以在设备启动时随机生成,但在设备运行过程中不得变更;常作为公共地址的平替

随机私有地址 (Random Private Address)

可在设备运行过程中周期性变更,避免被其他设备追踪

若使用随机私有地址的设备要与其他受信任的设备通信,则应使用身份解析秘钥 (Identity Resolving Key, IRK) 生成随机地址,此时其他持有相同 IRK 的设备可以解析并得到设备的真实地址。此时,随机私有地址又可以分为两类

类型

说明

可解析随机私有地址 (Resolvable Random Private Address)

可通过 IRK 解析得到设备真实地址

不可解析随机私有地址 (Non-resolvable Random Private Address)

完全随机的地址,仅用于防止设备被追踪,非常少用

然后看广播数据。一个广播数据结构的格式定义如下

序号

名称

字节数

备注

1

数据长度 (AD Length)

1

2

数据类型 (AD Type)

n

大部分数据类型占用 1 字节

3

数据 (AD Data)

(AD Length - n)

广播流程

使用公共地址进行广播

使用公共地址进行广播时,需要将 esp_ble_adv_params_t 成员 own_addr_type 设置为 BLE_ADDR_TYPE_PUBLIC。广播流程图如下 (点击图片放大):

广播流程图——使用公共地址

使用可解析随机私有地址进行广播

使用可解析随机私有地址进行广播时,底层协议栈在可解析随机私有地址超时时更新广播地址,默认超时设置为 15 分钟。可解析随机私有地址的超时时间可以通过 menuconfig 中的 BT_BLE_RPA_TIMEOUT 选项进行配置。需要将 esp_ble_adv_params_t 成员 own_addr_type 设置为 BLE_ADDR_TYPE_RPA_PUBLICBLE_ADDR_TYPE_RPA_RANDOM。广播流程图如下 (点击图片放大):

广播流程图——使用可解析随机私有地址

备注

当使用可解析随机私有地址进行广播时,需要等待 esp_ble_gap_config_local_privacy 事件返回后,才能开始广播,并且需要将广播参数里的 own_addr_type 类型设置为 BLE_ADDR_TYPE_RPA_PUBLICBLE_ADDR_TYPE_RPA_RANDOM

要使用 BLE_ADDR_TYPE_RPA_RANDOM 地址类型,必须首先通过 API esp_ble_gap_set_rand_addr 设置一个随机静态地址。如果使用 BLE_ADDR_TYPE_RPA_PUBLIC,则无需设置地址。

BLE_ADDR_TYPE_RPA_PUBLIC 的操作如下:控制器基于解析列表中的本地身份解析密钥 (IRK) 生成可解析随机私有地址 (RPA)。如果解析列表缺乏匹配条目,则使用公共地址。

对于 BLE_ADDR_TYPE_RPA_RANDOM,如果解析列表中没有匹配的条目,则使用随机静态地址。

使用随机静态地址进行广播

与使用可解析随机私有地址进行广播一样,使用随机静态地址进行广播也需要将 esp_ble_adv_params_t 成员 own_addr_type 设置为 BLE_ADDR_TYPE_RANDOM。广播流程图如下 (点击图片放大):

广播流程图——使用随机静态地址

扫描的基本概念

在广播章节,我们通过回答与广播过程相关的三个问题,了解了广播的相关基本概念。事实上,扫描过程中也存在类似的三个问题,让我们一起思考一下

  1. 到什么地方去扫描? (Where?)

  2. 多久扫描一次?一次扫描多久? (When?)

  3. 扫描的过程中需要做什么? (What?)

第一个问题已经在广播的介绍中说明了。对于蓝牙 4.2 设备来说,广播者只会在广播信道,即编号为 37-39 的三个信道发送广播数据;对于蓝牙 5.0 设备来说,如果广播者启用了扩展广播特性,则会在主广播信道发送 ADV_EXT_IND ,在次广播信道发送 AUX_ADV_IND ,并在 ADV_EXT_IND 指示 AUX_ADV_IND 所在的次广播信道。所以相应地,对于蓝牙 4.2 设备来说,扫描者只需在广播信道接收广播数据包即可。对于蓝牙 5.0 设备来说,扫描者应在主广播信道接收主广播数据包和扩展广播数据包的 ADV_EXT_IND ; 若扫描者接收到了 ADV_EXT_IND ,且 ADV_EXT_IND 指示了一个次广播信道,那么还需要到对应的次广播信道去接收 AUX_ADV_IND ,以获取完整的扩展广播数据包。

扫描窗口与扫描间隔

第二个问题分别指向扫描窗口 (Scan Window) 和 扫描间隔 (Scan Interval) 概念。

  • 扫描窗口:扫描者在同一个 RF 信道持续接收蓝牙数据包的持续时间,例如扫描窗口参数设定为 50 ms 时,扫描者在每个 RF 信道都会不间断地扫描 50 ms。

  • 扫描间隔:相邻两个扫描窗口开始时刻之间的时间间隔,所以扫描间隔必然大于等于扫描窗口。

下图在时间轴上展示了扫描者的广播数据包接收过程,其中扫描者的扫描间隔为 100 ms ,扫描窗口为 50 ms ;广播者的广播间隔为 50 ms ,广播数据包的发送时长仅起到示意作用。可以看到,第一个扫描窗口对应 37 信道,此时扫描者恰好接收到了广播者第一次在 37 信道发送的广播数据包,以此类推。

广播与扫描时序示意

广播与扫描时序示意图

扫描请求与扫描响应

从目前的介绍来看,似乎广播过程中广播者只发不收,扫描过程中扫描者只收不发。事实上,扫描行为分为以下两种

  • 被动扫描 (Passive Scanning)
    • 扫描者只接收广播数据包

  • 主动扫描 (Active Scanning)
    • 扫描者在接收广播数据包以后,还向可扫描广播者发送扫描请求 (Scan Request)

可扫描广播者在接收到扫描请求之后,会广播扫描响应 (Scan Response) 数据包,以向感兴趣的扫描者发送更多的广播信息。扫描响应数据包的结构与广播数据包完全一致,区别在于 PDU 头中的 PDU 类型不同。

在广播者处于可扫描广播模式、扫描者处于主动扫描模式的场景下,广播者和扫描者的数据发送时序变得更加复杂。对于扫描者来说,在扫描窗口结束后会短暂进入 TX 模式,向外发送扫描请求,随后马上进入 RX 模式以接收可能的扫描响应;对于广播者来说,每一次广播结束后都会短暂进入 RX 模式以接收可能的扫描请求,并在接收到扫描请求后进入 TX 模式,发送扫描响应。

扫描请求的接收与扫描响应的发送

扫描请求的接收与扫描响应的发送

例程实践

在掌握了广播与扫描的相关知识以后,接下来让我们结合 NimBLE_Beacon 例程代码,学习如何使用 NimBLE 协议栈构建一个简单的 Beacon 设备,对学到的知识进行实践。

前提条件

  1. 一块 ESP32-C61 开发板

  2. ESP-IDF 开发环境

  3. 在手机上安装 nRF Connect for Mobile 应用程序

若你尚未完成 ESP-IDF 开发环境的配置,请参考 IDF 快速入门

动手试试

构建与烧录

本教程对应的参考例程为 NimBLE_Beacon

你可以通过以下命令进入例程目录

$ cd <ESP-IDF Path>/examples/bluetooth/ble_get_started/nimble/NimBLE_Beacon

注意,请将 <ESP-IDF Path> 替换为你本地的 ESP-IDF 文件夹路径。随后,你可以通过 VSCode 或其他你常用的 IDE 打开 NimBLE_Beacon 工程。以 VSCode 为例,你可以在使用命令行进入例程目录后,通过以下命令打开工程

$ code .

随后,在命令行中进入 ESP-IDF 环境,完成芯片设定

$ idf.py set-target <chip-name>

你应该能看到以下命令行

...
-- Configuring done
-- Generating done
-- Build files have been written to ...

等提示结束,这说明芯片设定完成。接下来,连接开发板至电脑,随后运行以下命令,构建固件并烧录至开发板,同时监听 ESP32-C61 开发板的串口输出

$ idf.py flash monitor

你应该能看到以下命令行

...
main_task: Returned from app_main()

等提示结束。

查看 Beacon 设备信息

打开手机上的 nRF Connect for Mobile 程序,在 SCANNER 标签页中下拉刷新,找到 NimBLE_Beacon 设备,如下图所示

NimBLE Beacon

找到 NimBLE Beacon 设备

若设备列表较长,建议以 NimBLE 为关键字进行设备名过滤,快速找到 NimBLE_Beacon 设备。

观察到 NimBLE Beacon 设备下带有丰富的设备信息,甚至还带有乐鑫的网址(这就是信标广告功能的体现)。点击右下角的 RAW 按钮,可以看到广播数据包的原始信息,如下

ADV Packet Raw Data

广播数据包原始信息

Details 表格即广播数据包和扫描响应数据包中的所有广播数据结构,可以整理如下

名称

长度

类型

原始数据

解析值

标志位

2 Bytes

0x01

0x06

General Discoverable, BR/EDR Not Supported

完整设备名称

14 Bytes

0x09

0x4E696D424C455F426561636F6E

NimBLE_Beacon

发送功率等级

2 Bytes

0x0A

0x09

9 dBm

设备外观

3 Bytes

0x19

0x0002

通用标签

LE 角色

2 Bytes

0x1C

0x00

仅支持外设设备

设备地址

8 Bytes

0x1B

0x46F506BDF5F000

F0:F5:BD:06:F5:46

URI

17 Bytes

0x24

0x172F2F6573707265737369662E636F6D

https://espressif.com

值得一提的是,前五项广播数据结构长度之和为 28 字节,此时广播数据包仅空余 3 字节,无法继续装载后续的两项广播数据结构。所以后两项广播数据结构必须装填至扫描响应数据包。

你可能还注意到,对应于设备外观的 Raw Data 为 0x0002,而代码中对 Generic Tag 的定义是 0x0200;还有,设备地址的 Raw Data 除了最后一个字节 0x00 以外,似乎与实际地址完全颠倒。这是因为,低功耗蓝牙的空中数据包遵循小端 (Little Endian) 传输的顺序,所以低字节的数据反而会在靠前的位置。

另外,注意到 nRF Connect for Mobile 程序并没有为我们提供 CONNECT 按钮以连接至此设备。这符合我们的预期,因为 Beacon 设备本来就应该是不可连接的。下面,让我们深入代码细节,看看这样的一个 Beacon 设备是怎样实现的。

代码详解

工程结构综述

NimBLE_Beacon 的根目录大致分为以下几部分

  • README*.md
    • 工程的说明文档

  • sdkconfig.defaults*
    • 不同芯片对应开发板的默认配置

  • CMakeLists.txt
    • 用于引入 ESP-IDF 构建环境

  • main
    • 工程主文件夹,含本工程的源码、头文件以及构建配置

程序行为综述

在深入代码细节前,我们先对程序的行为有一个宏观的认识。

第一步,我们会对程序中使用到的各个模块进行初始化,主要包括 NVS Flash、NimBLE 主机层协议栈以及 GAP 服务的初始化。

第二步,在 NimBLE 主机层协议栈与蓝牙控制器完成同步时,我们先确认蓝牙地址可用,然后发起不定向、不可连接、可扫描的广播。

之后持续处于广播状态,直到设备重启。

入口函数

与其他工程一样,应用程序的入口函数为 main/main.c 文件中的 app_main 函数,我们一般在这个函数中进行各模块的初始化。本例中,我们主要做以下几件事情

  1. 初始化 NVS Flash 与 NimBLE 主机层协议栈

  2. 初始化 GAP 服务

  3. 启动 NimBLE 主机层的 FreeRTOS 线程

ESP32-C61 的蓝牙协议栈使用 NVS Flash 存储相关配置,所以在初始化蓝牙协议栈之前,必须调用 nvs_flash_init API 以初始化 NVS Flash ,某些情况下需要调用 nvs_flash_erase API 对 NVS Flash 进行擦除后再初始化。

void app_main(void) {
    ...

    /* NVS flash initialization */
    ret = nvs_flash_init();
    if (ret == ESP_ERR_NVS_NO_FREE_PAGES ||
        ret == ESP_ERR_NVS_NEW_VERSION_FOUND) {
        ESP_ERROR_CHECK(nvs_flash_erase());
        ret = nvs_flash_init();
    }
    if (ret != ESP_OK) {
        ESP_LOGE(TAG, "failed to initialize nvs flash, error code: %d ", ret);
        return;
    }

    ...
}

随后,可以调用 nimble_port_init API 以初始化 NimBLE 主机层协议栈。

void app_main(void) {
    ...

    /* NimBLE host stack initialization */
    ret = nimble_port_init();
    if (ret != ESP_OK) {
        ESP_LOGE(TAG, "failed to initialize nimble stack, error code: %d ",
                ret);
        return;
    }

    ...
}

然后,我们调用 gap.c 文件中定义的 gap_init 函数,初始化 GAP 服务,并设定设备名称与外观。

void app_main(void) {
    ...

    /* GAP service initialization */
    rc = gap_init();
    if (rc != 0) {
        ESP_LOGE(TAG, "failed to initialize GAP service, error code: %d", rc);
        return;
    }

    ...
}

接下来,设定 NimBLE 主机层协议栈的配置,这里主要涉及到一些回调函数的设定,包括协议栈重置时刻的回调、完成同步时刻的回调等,然后保存配置。

static void nimble_host_config_init(void) {
    /* Set host callbacks */
    ble_hs_cfg.reset_cb = on_stack_reset;
    ble_hs_cfg.sync_cb = on_stack_sync;
    ble_hs_cfg.store_status_cb = ble_store_util_status_rr;

    /* Store host configuration */
    ble_store_config_init();
}

void app_main(void) {
    ...

    /* NimBLE host configuration initialization */
    nimble_host_config_init();

    ...
}

最后,启动 NimBLE 主机层的 FreeRTOS 线程。

static void nimble_host_task(void *param) {
    /* Task entry log */
    ESP_LOGI(TAG, "nimble host task has been started!");

    /* This function won't return until nimble_port_stop() is executed */
    nimble_port_run();

    /* Clean up at exit */
    vTaskDelete(NULL);
}

void app_main(void) {
    ...

    /* Start NimBLE host task thread and return */
    xTaskCreate(nimble_host_task, "NimBLE Host", 4*1024, NULL, 5, NULL);

    ...
}

开始广播

使用 NimBLE 主机层协议栈进行应用开发时的编程模型为事件驱动编程 (Event-driven Programming)。

例如,在 NimBLE 主机层协议栈与蓝牙控制器完成同步以后,将会触发同步完成事件,调用 ble_hs_cfg.sync_cb 函数。在回调函数设定时,我们令该函数指针指向 on_stack_sync 函数,所以这是同步完成时实际被调用的函数。

on_stack_sync 函数中,我们调用 adv_init 函数,进行广播操作的初始化。在 adv_init 中,我们先调用 ble_hs_util_ensure_addr API ,确认设备存在可用的蓝牙地址;随后,调用 ble_hs_id_infer_auto API ,获取最优的蓝牙地址类型。

static void on_stack_sync(void) {
    /* On stack sync, do advertising initialization */
    adv_init();
}

void adv_init(void) {
    ...

    /* Make sure we have proper BT identity address set */
    rc = ble_hs_util_ensure_addr(0);
    if (rc != 0) {
        ESP_LOGE(TAG, "device does not have any available bt address!");
        return;
    }

    /* Figure out BT address to use while advertising */
    rc = ble_hs_id_infer_auto(0, &own_addr_type);
    if (rc != 0) {
        ESP_LOGE(TAG, "failed to infer address type, error code: %d", rc);
        return;
    }

    ...
}

接下来,将蓝牙地址数据从 NimBLE 协议栈的内存空间拷贝到本地的 addr_val 数组中,等待后续调用。

void adv_init(void) {
    ...

    /* Copy device address to addr_val */
    rc = ble_hs_id_copy_addr(own_addr_type, addr_val, NULL);
    if (rc != 0) {
        ESP_LOGE(TAG, "failed to copy device address, error code: %d", rc);
        return;
    }
    format_addr(addr_str, addr_val);
    ESP_LOGI(TAG, "device address: %s", addr_str);

    ...
}

最后,调用 start_advertising 函数发起广播。在 start_advertising 函数中,我们先将广播标志位、完整设备名、发射功率、设备外观和 LE 角色等广播数据结构填充到广播数据包中,如下

static void start_advertising(void) {
    /* Local variables */
    int rc = 0;
    const char *name;
    struct ble_hs_adv_fields adv_fields = {0};

    ...

    /* Set advertising flags */
    adv_fields.flags = BLE_HS_ADV_F_DISC_GEN | BLE_HS_ADV_F_BREDR_UNSUP;

    /* Set device name */
    name = ble_svc_gap_device_name();
    adv_fields.name = (uint8_t *)name;
    adv_fields.name_len = strlen(name);
    adv_fields.name_is_complete = 1;

    /* Set device tx power */
    adv_fields.tx_pwr_lvl = BLE_HS_ADV_TX_PWR_LVL_AUTO;
    adv_fields.tx_pwr_lvl_is_present = 1;

    /* Set device appearance */
    adv_fields.appearance = BLE_GAP_APPEARANCE_GENERIC_TAG;
    adv_fields.appearance_is_present = 1;

    /* Set device LE role */
    adv_fields.le_role = BLE_GAP_LE_ROLE_PERIPHERAL;
    adv_fields.le_role_is_present = 1;

    /* Set advertiement fields */
    rc = ble_gap_adv_set_fields(&adv_fields);
    if (rc != 0) {
        ESP_LOGE(TAG, "failed to set advertising data, error code: %d", rc);
        return;
    }

    ...
}

ble_hs_adv_fields 结构体预定义了一些常用的广播数据类型。我们可以在完成数据设置后,通过令对应的 is_present 字段为 1 ,或将对应的长度字段 len 设定为非零值,以启用对应的广播数据结构。例如在上述代码中,我们通过 adv_fields.tx_pwr_lvl = BLE_HS_ADV_TX_PWR_LVL_AUTO; 来配置设备发送功率,然后通过 adv_fields.tx_pwr_lvl_is_present = 1; 以启用该广播数据结构;若仅配置设备发送功率而不对相应的 is_present 字段置位,则该广播数据结构无效。同理,我们通过 adv_fields.name = (uint8_t *)name; 配置设备名,然后通过 adv_fields.name_len = strlen(name); 配置设备名的长度,从而将设备名这一广播数据结构添加到广播数据包中;若仅配置设备名而不配置设备名的长度,则该广播数据结构无效。

最后,调用 ble_gap_adv_set_fields API ,完成广播数据包的广播数据结构设定。

同理,我们可以将设备地址与 URI 填充到扫描响应数据包中,如下

static void start_advertising(void) {
    ...

    struct ble_hs_adv_fields rsp_fields = {0};

    ...

    /* Set device address */
    rsp_fields.device_addr = addr_val;
    rsp_fields.device_addr_type = own_addr_type;
    rsp_fields.device_addr_is_present = 1;

    /* Set URI */
    rsp_fields.uri = esp_uri;
    rsp_fields.uri_len = sizeof(esp_uri);

    /* Set scan response fields */
    rc = ble_gap_adv_rsp_set_fields(&rsp_fields);
    if (rc != 0) {
        ESP_LOGE(TAG, "failed to set scan response data, error code: %d", rc);
        return;
    }

    ...
}

最后,设置广播参数,并通过调用 ble_gap_adv_start API 发起广播。

static void start_advertising(void) {
    ...

    struct ble_gap_adv_params adv_params = {0};

    ...

    /* Set non-connetable and general discoverable mode to be a beacon */
    adv_params.conn_mode = BLE_GAP_CONN_MODE_NON;
    adv_params.disc_mode = BLE_GAP_DISC_MODE_GEN;

    /* Start advertising */
    rc = ble_gap_adv_start(own_addr_type, NULL, BLE_HS_FOREVER, &adv_params,
                        NULL, NULL);
    if (rc != 0) {
        ESP_LOGE(TAG, "failed to start advertising, error code: %d", rc);
        return;
    }
    ESP_LOGI(TAG, "advertising started!");
}

总结

通过本教程,你了解了广播和扫描的基本概念,并通过 NimBLE_Beacon 例程掌握了使用 NimBLE 主机层协议栈构建低功耗蓝牙 Beacon 设备的方法。

你可以尝试对例程中的数据进行修改,并在 nRF Connect for Mobile 调试工具中查看修改结果。例如,你可以尝试修改 adv_fieldsrsp_fields 结构体,以修改被填充的广播数据结构,或者交换广播数据包和扫描响应数据包中的广播数据结构。但需要注意的一点是,广播数据包和扫描响应数据包的广播数据上限为 31 字节,若设定的广播数据结构大小超过该限值,调用 ble_gap_adv_start API 将会失败。


此文档对您有帮助吗?