应用层跟踪库

[English]

概述

ESP-IDF 中提供了应用层跟踪功能,用于分析应用程序的行为。这一功能在相应的库中实现,可以通过 menuconfig 开启。此功能允许用户在程序运行开销很小的前提下,通过 JTAG、UART 或 USB 接口在主机和 ESP32-P4 之间传输任意数据。用户也可同时使用 JTAG 和 UART 接口。UART 接口主要用于连接 SEGGER SystemView 工具(参见 SystemView)。

开发人员可以使用这一功能库将应用程序的运行状态发送给主机,在运行时接收来自主机的命令或者其他类型的信息。该库的主要使用场景有:

  1. 收集来自特定应用程序的数据。具体请参阅 特定应用程序的跟踪

  2. 记录到主机的轻量级日志。具体请参阅 记录日志到主机

  3. 系统行为分析。具体请参阅 基于 SEGGER SystemView 的系统行为分析

  4. 获取源代码覆盖率。具体请参阅 Gcov(源代码覆盖率)

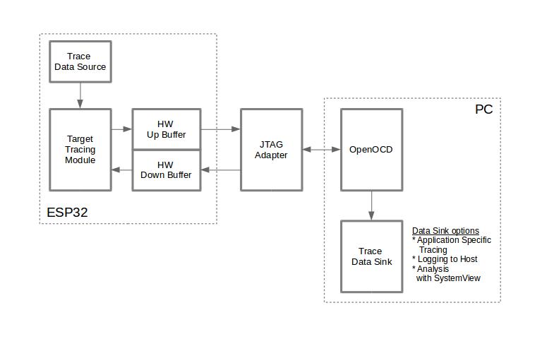
使用 JTAG 接口的跟踪组件工作示意图如下所示:

Tracing Components when Working Over JTAG

使用 JTAG 接口的跟踪组件

运行模式

该库支持两种运行模式:

后验模式: 后验模式为默认模式,该模式不需要和主机进行交互。在这种模式下,跟踪模块不会检查主机是否已经从 HW UP BUFFER 缓冲区读走所有数据,而是直接使用新数据覆盖旧数据。如果用户仅对最新的跟踪数据感兴趣,例如想要分析程序在崩溃之前的行为,则推荐使用该模式。主机可以稍后根据用户的请求来读取数据,例如在使用 JTAG 接口的情况下,通过特殊的 OpenOCD 命令进行读取。

流模式: 当主机连接到 ESP32-P4 时,跟踪模块会进入此模式。在这种模式下,跟踪模块在新数据写入 HW UP BUFFER 之前会检查其中是否有足够的空间,并在必要的时候等待主机读取数据并释放足够的内存。最大等待时间是由用户传递给相应 API 函数的超时时间参数决定的。因此当应用程序尝试使用有限的最大等待时间值来将数据写入跟踪缓冲区时,这些数据可能会被丢弃。尤其需要注意的是,如果在对时效要求严格的代码中(如中断处理函数、操作系统调度等)指定了无限的超时时间,将会导致系统故障。

配置选项与依赖项

使用此功能需要在主机端和目标端进行以下配置:

  1. 主机端: 应用程序跟踪通过 JTAG 来完成,因此需要在主机上安装并运行 OpenOCD。详细信息请参阅 JTAG 调试

  2. 目标端: 在 menuconfig 中开启应用程序跟踪功能。重要提示: 须首先通过 Component config > ESP Trace Configuration > Trace transport 并选择 ESP-IDF apptrace 启用应用程序跟踪。之后,可以在 Component config > ESP Trace Configuration > Application Level Tracing 中进行详细配置,例如配置跟踪数据的传输目标。对于 UART 接口,需定义端口号、波特率、TX 和 RX 管脚及其他相关参数。当选择任何跟踪库(例如 SEGGER SystemView)时,这些配置也将同步用于该库。

备注

为了实现更高的数据速率并降低丢包率,建议优化 JTAG 的时钟频率,使其达到能够稳定运行的最大值。详细信息请参阅 优化 JTAG 的速度

以下为前述未提及的另外几个 menuconfig 选项:

  1. Threshold for flushing last trace data to host on panic (CONFIG_APPTRACE_POSTMORTEM_FLUSH_THRESH)。使用 JTAG 接口时,此选项是必选项。在该模式下,跟踪数据以 16 KB 数据块的形式暴露给主机。在后验模式中,一个块被填充后会被暴露给主机,同时之前的块不再可用。也就是说,跟踪数据以 16 KB 的粒度进行覆盖。发生 Panic 时,当前输入块的最新数据将会被暴露给主机,主机可以读取数据以进行后续分析。如果系统发生 Panic 时,仍有少量数据还没来得及暴露给主机,那么之前收集的 16 KB 数据将丢失,主机只能获取少部分的最新跟踪数据,从而可能无法诊断问题。此 menuconfig 选项有助于避免此类情况,它可以控制发生 Panic 时刷新数据的阈值。例如,用户可以设置需要不少于 512 字节的最新跟踪数据,如果在发生 Panic 时待处理的数据少于 512 字节,则数据不会被刷新,也不会覆盖之前的 16 KB 数据。该选项仅在后验模式和使用 JTAG 工作时可发挥作用。

  2. Timeout for flushing last trace data to host on panic (CONFIG_APPTRACE_ONPANIC_HOST_FLUSH_TMO)。该选项仅在流模式下才可发挥作用,它可用于控制跟踪模块在发生 Panic 时等待主机读取最新数据的最长时间。

  3. Internal Sync Lock (CONFIG_APPTRACE_LOCK_ENABLE)。启用此选项可使用锁保护跟踪缓冲区的写入操作,防止多个任务并发生成跟踪数据时发生数据损坏。

  4. UART RX/TX ring buffer size (CONFIG_APPTRACE_UART_TX_BUFF_SIZE)。缓冲区的大小取决于通过 UART 传输的数据量。

  5. UART TX message size (CONFIG_APPTRACE_UART_TX_MSG_SIZE)。要传输的单条消息的最大尺寸。

如何使用此库

该库提供了用于在主机和 ESP32-P4 之间传输任意数据的 API。在 menuconfig 中启用该库后,应用程序跟踪模块会在系统启动期间使用 menuconfig 配置自动初始化。随后用户可以调用相应的 API 来发送、接收或者刷新数据。

用户可选择通过实现弱回调函数 esp_apptrace_get_user_params() 来覆盖默认配置。该函数仅在未选择任何跟踪库时生效,此时,仅应用层跟踪库(app_trace 组件)独立运行。否则,系统将调用 esp_trace_get_user_params() 来覆盖默认配置。

快速入门

  1. 独立使用应用层跟踪 API

    在 menuconfig 中禁用跟踪库并启用应用层跟踪传输:

    • Component config > ESP Trace Configuration > Trace library:选择 None

    • Component config > ESP Trace Configuration > Trace transport:选择 ESP-IDF apptrace

    也可在 sdkconfig.defaults 中设置以下选项以强制启用独立模式:

    CONFIG_ESP_TRACE_ENABLE=y
    CONFIG_ESP_TRACE_LIB_NONE=y
    CONFIG_ESP_TRACE_TRANSPORT_APPTRACE=y
    

    通过上述任一方式启用独立应用层跟踪传输后,即可在 Component config > ESP Trace Configuration > Application Level Tracing 中配置目标传输。

  2. 通过 esp_apptrace_get_user_params() 进行运行时配置

    • 如果在 Kconfig 中选择 All (runtime selection) (即 APPTRACE_DEST_ALL),可通过回调函数在运行时切换 JTAG 和 UART 并调整其参数。

    • 如果在 Kconfig 中选定单一目标(JTAG 或 UART),回调函数可在运行时覆盖该目标的参数,但无法切换目标类型。

备注

应用程序跟踪也可作为 esp_trace 库的传输适配器。在这种情况下,应用层跟踪库不会被直接使用,而是通过已选择的 esp_trace 库及其 API 间接使用。

备注

以下代码示例适用于应用层跟踪库独立运行(未绑定任何跟踪库)的场景。

特定应用程序的跟踪

通常,用户需要决定在每个方向上待传输数据的类型以及如何解析(处理)这些数据。要想在目标和主机之间传输数据,则需执行以下几个步骤:

  1. 配置: 应用程序跟踪会在系统启动期间使用 menuconfig 配置自动初始化。如需在运行时覆盖默认配置(例如使用自定义的 UART 引脚),可实现 esp_apptrace_get_user_params() 回调函数:

    #include "esp_app_trace.h"
    
    esp_apptrace_config_t *esp_apptrace_get_user_params(void)
    {
        esp_apptrace_config_t config = APPTRACE_CONFIG_DEFAULT();
    
        // 根据需要自定义配置
        // 例如,使用不同的 UART 引脚:
        config.dest_cfg.uart.tx_pin_num = GPIO_NUM_17;
        config.dest_cfg.uart.rx_pin_num = GPIO_NUM_16;
    
        return config;
    }
    

    备注

    此回调函数为可选项。仅当需要覆盖 menuconfig 设置时才需实现。对于大多数使用场景,通过 menuconfig 配置即可满足需求。

  2. 在目标设备端,用户需实现将跟踪数据写入主机的算法。下方代码片段展示了实现示例。

    #include "esp_app_trace.h"
    ...
    char buf[] = "Hello World!";
    esp_err_t res = esp_apptrace_write(buf, strlen(buf), ESP_APPTRACE_TMO_INFINITE);
    if (res != ESP_OK) {
        ESP_LOGE(TAG, "Failed to write data to host!");
        return res;
    }
    

    函数 esp_apptrace_write() 通过 memcpy 将用户数据复制到内部缓冲区。在某些情况下,使用 esp_apptrace_buffer_get()esp_apptrace_buffer_put() 函数可能是更优的选择。这两个函数允许开发者自行分配缓冲区并填充数据。以下代码片段展示了具体实现方法。

    #include "esp_app_trace.h"
    ...
    int number = 10;
    char *ptr = (char *)esp_apptrace_buffer_get(32, 100/*tmo in us*/);
    if (ptr == NULL) {
        ESP_LOGE(TAG, "Failed to get buffer!");
        return ESP_FAIL;
    }
    sprintf(ptr, "Here is the number %d", number);
    esp_err_t res = esp_apptrace_buffer_put(ptr, 100/*tmo in us*/);
    if (res != ESP_OK) {
        /* in case of error host tracing tool (e.g. OpenOCD) will report incomplete user buffer */
        ESP_LOGE(TAG, "Failed to put buffer!");
        return res;
    }
    

    另外,根据实际项目的需要,用户可能希望从主机接收数据。下面的代码片段展示了如何执行此操作。

    #include "esp_app_trace.h"
    ...
    char buf[32];
    char down_buf[32];
    size_t sz = sizeof(buf);
    
    /* config down buffer */
    esp_err_t res = esp_apptrace_down_buffer_config(down_buf, sizeof(down_buf));
    if (res != ESP_OK) {
        ESP_LOGE(TAG, "Failed to config down buffer!");
        return res;
    }
    /* check for incoming data and read them if any */
    res = esp_apptrace_read(buf, &sz, 0/*do not wait*/);
    if (res != ESP_OK) {
        ESP_LOGE(TAG, "Failed to read data from host!");
        return res;
    }
    if (sz > 0) {
        /* we have data, process them */
        ...
    }
    

    函数 esp_apptrace_read() 通过 memcpy 将主机数据复制到用户缓冲区。在某些情况下,使用 esp_apptrace_down_buffer_get()esp_apptrace_down_buffer_put() 函数可能是更优的选择。这两个函数允许开发者直接占用读取缓冲区的数据块并进行原地处理。以下代码片段展示了具体实现方法。

    #include "esp_app_trace.h"
    ...
    char down_buf[32];
    uint32_t *number;
    size_t sz = 32;
    
    /* config down buffer */
    esp_err_t res = esp_apptrace_down_buffer_config(down_buf, sizeof(down_buf));
    if (res != ESP_OK) {
        ESP_LOGE(TAG, "Failed to config down buffer!");
        return res;
    }
    char *ptr = (char *)esp_apptrace_down_buffer_get(&sz, 100/*tmo in us*/);
    if (ptr == NULL) {
        ESP_LOGE(TAG, "Failed to get buffer!");
        return ESP_FAIL;
    }
    if (sz > 4) {
        number = (uint32_t *)ptr;
        printf("Here is the number %d", *number);
    } else {
        printf("No data");
    }
    res = esp_apptrace_down_buffer_put(ptr, 100/*tmo in us*/);
    if (res != ESP_OK) {
        /* in case of error host tracing tool (e.g. OpenOCD) will report incomplete user buffer */
        ESP_LOGE(TAG, "Failed to put buffer!");
        return res;
    }
    
  3. 下一步是编译应用程序的镜像,并将其下载到目标板上。这一步可以参考文档 构建并烧写

  4. 运行 OpenOCD(参见 JTAG 调试)。

  5. 连接到 OpenOCD 的 telnet 服务器。用户可在终端执行命令 telnet <oocd_host> 4444。如果用户是在运行 OpenOCD 的同一台机器上打开 telnet 会话,可以使用 localhost 替换上面命令中的 <oocd_host>

  6. 使用特殊的 OpenOCD 命令开始收集待跟踪的命令。此命令将传输跟踪数据并将其重定向到指定的文件或套接字。相关命令的说明,请参阅 OpenOCD 应用程序跟踪命令

  7. 最后,处理接收到的数据。由于数据格式由用户自己定义,本文档中省略数据处理的具体流程。数据处理的范例可以参考位于 $IDF_PATH/tools/esp_app_trace 下的 Python 脚本 apptrace_proc.py (用于功能测试)和 logtrace_proc.py (请参阅 记录日志到主机 章节中的详细信息)。

OpenOCD 应用程序跟踪命令

HW UP BUFFER 在用户数据块之间共享,并且会代替 API 调用者(在任务或者中断上下文中)填充分配到的内存。在多线程环境中,正在填充缓冲区的任务/中断可能会被另一个高优先级的任务/中断抢占,因此主机可能会读取到还未准备好的用户数据。对此,跟踪模块在所有用户数据块之前添加一个数据头,其中包含有分配的用户缓冲区的大小(2 字节)和实际写入的数据长度(2 字节),也就是说数据头总共长 4 字节。负责读取跟踪数据的 OpenOCD 命令在读取到不完整的用户数据块时会报错,但是无论如何,它都会将整个用户数据块(包括还未填充的区域)的内容放到输出文件中。

下文介绍了如何使用 OpenOCD 应用程序跟踪命令。

备注

目前,OpenOCD 还不支持将任意用户数据发送到目标的命令。

命令用法:

esp apptrace [start <options>] | [stop] | [status] | [dump <cores_num> <outfile>]

子命令:

start

开始跟踪(连续流模式)。

stop

停止跟踪。

status

获取跟踪状态。

dump

转储所有后验模式的数据。

Start 子命令的语法:

start <outfile> [poll_period [trace_size [stop_tmo [wait4halt [skip_size]]]]

outfile

用于保存来自两个 CPU 的数据文件的路径,该参数需要具有以下格式: file://path/to/file

poll_period

轮询跟踪数据的周期(单位:毫秒),如果大于 0 则以非阻塞模式运行。默认为 1 毫秒。

trace_size

最多要收集的数据量(单位:字节),接收到指定数量的数据后将会停止跟踪。默认为 -1(禁用跟踪大小停止触发器)。

stop_tmo

空闲超时(单位:秒),如果指定的时间段内都没有数据就会停止跟踪。默认为 -1(禁用跟踪超时停止触发器)。还可以将其设置为比目标跟踪命令之间的最长暂停值更长的值(可选)。

wait4halt

如果设置为 0 则立即开始跟踪,否则命令会先等待目标停止(复位、打断点等),然后对其进行自动恢复并开始跟踪。默认值为 0。

skip_size

开始时要跳过的字节数,默认为 0。

备注

如果 poll_period 为 0,则在跟踪停止之前,OpenOCD 的 telnet 命令将不可用。必须通过复位电路板或者在 OpenOCD 的窗口中(非 telnet 会话窗口)使用快捷键 Ctrl+C。另一种选择是设置 trace_size 并等待,当收集到指定数据量时,跟踪会自动停止。

命令使用示例:

  1. 将 2048 个字节的跟踪数据收集到 trace.log 文件中,该文件将保存在 openocd-esp32 目录中。

    esp apptrace start file://trace.log 1 2048 5 0 0
    

    跟踪数据会被检索并以非阻塞的模式保存到文件中,如果收集满 2048 字节的数据或者在 5 秒内都没有新的数据,那么该过程就会停止。

    备注

    在将数据提供给 OpenOCD 之前,会对其进行缓冲。如果看到 “Data timeout!” 的消息,则表示目标可能在超时之前没有向 OpenOCD 发送足够的数据以清空缓冲区。要解决这个问题,可以增加超时时间或者使用函数 esp_apptrace_flush() 以特定间隔刷新数据。

  2. 在非阻塞模式下无限地检索跟踪数据。

    esp apptrace start file://trace.log 1 -1 -1 0 0
    

    对收集数据的大小没有限制,也不设置超时时间。要停止此过程,可以在 OpenOCD 的 telnet 会话窗口中发送 esp apptrace stop 命令,或者在 OpenOCD 窗口中使用快捷键 Ctrl+C。

  3. 检索跟踪数据并无限期保存。

    esp apptrace start file://trace.log 0 -1 -1 0 0
    

    在跟踪停止之前,OpenOCD 的 telnet 会话窗口将不可用。要停止跟踪,请在 OpenOCD 的窗口中使用快捷键 Ctrl+C。

  4. 等待目标停止,然后恢复目标的操作并开始检索数据。当收集满 2048 字节的数据后就停止:

    esp apptrace start file://trace.log 0 2048 -1 1 0
    

    想要复位后立即开始跟踪,请使用 OpenOCD 的 reset halt 命令。

记录日志到主机

记录日志到主机是 ESP-IDF 中一个非常实用的功能:通过应用层跟踪库将日志保存到主机端。某种程度上,这也算是一种半主机 (semihosting) 机制,相较于调用 ESP_LOGx 将待打印的字符串发送到 UART 的日志记录方式,此功能将大部分工作转移到了主机端,从而减少了本地工作量。

ESP-IDF 的日志库会默认使用类 vprintf 的函数将格式化的字符串输出到专用的 UART,一般来说涉及以下几个步骤:

  1. 解析格式字符串以获取每个参数的类型。

  2. 根据其类型,将每个参数都转换为字符串。

  3. 格式字符串与转换后的参数一起发送到 UART。

虽然可以对类 vprintf 函数进行一定程度的优化,但由于在任何情况下都必须执行上述步骤,并且每个步骤都会消耗一定的时间(尤其是步骤 3),所以经常会发生以下这种情况:向程序中添加额外的打印信息以诊断问题,却改变了应用程序的行为,使得问题无法复现。在最严重的情况下,程序无法正常工作,最终导致报错甚至挂起。

想要解决此类问题,可以使用更高的波特率或者其他更快的接口,并将字符串格式化的工作转移到主机端。

通过应用层跟踪库的 esp_apptrace_vprintf 函数,可以将日志信息发送到主机,该函数不执行格式字符串和参数的完全解析,而仅仅计算传递参数的数量,并将它们与格式字符串地址一起发送给主机。主机端会通过一个特殊的 Python 脚本来处理并打印接收到的日志数据。

局限

目前通过 JTAG 实现记录日志还存在以下几点局限:

  1. 不支持使用 ESP_EARLY_LOGx 宏进行跟踪。

  2. 不支持大小超过 4 字节的 printf 参数(例如 doubleuint64_t)。

  3. 仅支持 .rodata 段中的格式字符串和参数。

  4. 最多支持 256 个 printf 参数。

如何使用

为了使用跟踪模块来记录日志,用户需要执行以下步骤:

  1. 在 menuconfig 中开启应用程序跟踪功能。须首先通过 Component config > ESP Trace Configuration > Trace transport 并选择 ESP-IDF apptrace 启用应用程序跟踪。之后,可以在 Component config > ESP Trace Configuration > Application Level Tracing 中进行详细配置。

  2. 在目标端,需要安装特殊的类 vprintf 函数 esp_apptrace_vprintf(),该函数负责将日志数据发送给主机,使用方法为 esp_log_set_vprintf(esp_apptrace_vprintf);。如需将日志数据再次重定向给 UART,请使用 esp_log_set_vprintf(vprintf);

  3. 按照 特定应用程序的跟踪 章节中的第 4-6 步进行操作(OpenOCD 设置和跟踪数据收集)。

  4. 打印接收到的日志记录,请在终端运行以下命令:$IDF_PATH/tools/esp_app_trace/logtrace_proc.py /path/to/trace/file /path/to/program/elf/file

Log Trace Processor 命令选项

命令用法:

logtrace_proc.py [-h] [--no-errors] <trace_file> <elf_file>

位置参数(必要):

trace_file

日志跟踪文件的路径。

elf_file

程序 ELF 文件的路径。

可选参数:

-h, --help

显示此帮助信息并退出。

--no-errors, -n

不打印错误信息。

基于 SEGGER SystemView 的系统行为分析

ESP-IDF 中另一个基于应用层跟踪库的实用功能是系统级跟踪,它会生成与 SEGGER SystemView 工具 相兼容的跟踪信息。SEGGER SystemView 是一款实时记录和可视化工具,用来分析应用程序运行时的行为,可通过 UART 接口实时查看事件。

如何使用

SystemView 功能由托管组件 espressif/esp_sysview 提供。完成以下步骤后才会显示 SystemView 配置菜单:

  1. idf_component.yml 中添加组件依赖:

    dependencies:
      espressif/esp_sysview: ^1
    
  2. 在 menuconfig 中选择外部库:Component config > ESP Trace Configuration > Trace library > External library from component registry

之后,可通过 Component config > SEGGER SystemView Configuration 配置 SystemView。完整的最新使用指南,请参阅 esp_sysview README

此配置菜单还包含以下选项:

  1. ESP32-P4 用作 SystemView 时间戳源的定时器选择:(CONFIG_ESP_TRACE_TIMESTAMP_SOURCE)用于选择 SystemView 事件的时间戳源。在单核模式下,时间戳由以最大频率运行的 ESP32-P4 内部周期计数器生成。(CONFIG_ESP_DEFAULT_CPU_FREQ_MHZ)在双核模式下,使用外部定时器生成时间戳,其频率为 CPU 频率的 1/2。

  2. 可以单独启用或禁用的 SystemView 事件集合 (CONFIG_SEGGER_SYSVIEW_EVT_XXX):

    • Trace Buffer Overflow Event

    • ISR Enter Event

    • ISR Exit Event

    • ISR Exit to Scheduler Event

    • Task Start Execution Event

    • Task Stop Execution Event

    • Task Start Ready State Event

    • Task Stop Ready State Event

    • Task Create Event

    • Task Terminate Event

    • System Idle Event

    • Timer Enter Event

    • Timer Exit Event

ESP-IDF 中已经包含了所有用于生成兼容 SystemView 跟踪信息的代码。

  1. 想要通过 UART 接口进行实时跟踪,请首先在 Component config > ESP Trace Configuration > Application Level Tracing 中选择 UART 作为目标传输方式。然后在 Component config > ESP Trace Configuration > SEGGER SystemView 中选择 Pro 或 App CPU。

OpenOCD SystemView 跟踪命令选项

命令用法:

esp sysview [start <options>] | [stop] | [status]

子命令:

start

开启跟踪(连续流模式)。

stop

停止跟踪。

status

获取跟踪状态。

Start 子命令语法:

start <outfile1> [outfile2] [poll_period [trace_size [stop_tmo]]]

outfile1

保存 PRO CPU 数据的文件路径。此参数需要具有如下格式:file://path/to/file

outfile2

保存 APP CPU 数据的文件路径。此参数需要具有如下格式:file://path/to/file

poll_period

跟踪数据的轮询周期(单位:毫秒)。如果该值大于 0,则命令以非阻塞的模式运行。默认为 1 毫秒。

trace_size

最多要收集的数据量(单位:字节)。当收到指定数量的数据后,将停止跟踪。默认值是 -1(禁用跟踪大小停止触发器)。

stop_tmo

空闲超时(单位:秒)。如果指定的时间内没有数据,将停止跟踪。默认值是 -1(禁用跟踪超时停止触发器)。

备注

如果 poll_period 为 0,则在跟踪停止之前,OpenOCD 的 telnet 命令行将不可用。你需要复位板卡,或者在 OpenOCD 的窗口(非 telnet 会话窗口)输入 Ctrl+C 命令,手动停止跟踪。另一个办法是设置 trace_size,等到收集满指定数量的数据后自动停止跟踪。

命令使用示例:

  1. 将 SystemView 跟踪数据收集到文件 pro-cpu.SVDatpro-cpu.SVDat 中。这些文件会被保存在 openocd-esp32 目录中。

    esp sysview start file://pro-cpu.SVDat file://app-cpu.SVDat
    

    跟踪数据被检索并以非阻塞的方式保存。要停止此过程,需要在 OpenOCD 的 telnet 会话窗口输入 esp sysview stop 命令,也可以在 OpenOCD 窗口中按下快捷键 Ctrl+C。

  2. 检索跟踪数据并无限保存。

    esp32 sysview start file://pro-cpu.SVDat file://app-cpu.SVDat 0 -1 -1
    

    OpenOCD 的 telnet 命令行在跟踪停止前会无法使用,要停止跟踪,请在 OpenOCD 窗口使用 Ctrl+C 快捷键。

多核 SystemView 跟踪命令

对于支持多核跟踪的 SystemView 3.60 及更高版本,请使用 esp sysview_mcore 命令。此命令与 esp sysview 相同,但使用官方 SEGGER SystemView 多核格式。所有核心的跟踪数据都保存在同一文件中,可在 SEGGER SystemView v3.60 或更高版本中打开。

命令使用示例:

esp sysview_mcore start file://heap_log_mcore.SVDat

有关详细的命令语法和选项,请参考前文所述的 esp sysview 命令,因为 esp sysview_mcore 支持相同的参数。

数据可视化

收集到跟踪数据后,用户可以使用特殊的工具对结果进行可视化并分析程序行为。

多核跟踪

SystemView 3.60 及更高版本支持多核心进行跟踪。对于多核跟踪,使用 esp sysview_mcore 命令可以生成与 SystemView 多核格式兼容的单个文件:

esp sysview_mcore start file://heap_log_mcore.SVDat

此命令将创建一个单独的跟踪文件,可以直接加载到 SystemView 3.60+ 中进行多核可视化。

注意: SystemView 3.60 之前的版本不支持多核跟踪。对于旧版本,当使用 JTAG 接口跟踪双核模式下的 ESP32-P4 时会生成两个文件:一个用于 PRO CPU,另一个用于 APP CPU。用户可将每个文件载入不同的工具实例。使用 UART 进行跟踪时,在 menuconfig 中选择外部库后,用户可以选择 Component config > SEGGER SystemView Configuration 来指定需要跟踪的 CPU(Pro 或 App)。

对于旧版本的 SystemView,在不同的实例中分别分析每个核的数据可能较为不便。另一个选择是使用名为 Impulse 的 Eclipse 插件,该插件可同时加载多个跟踪文件,实现在同一视图中检查来自两个核心的事件。与 SystemView 免费版相比,此插件还不受 100 万事件数量的限制。

关于如何安装、配置 Impulse 并使用它来可视化来自单个核心的跟踪数据,请参阅 官方教程

备注

ESP-IDF 使用自己的 SystemView FreeRTOS 事件 ID 映射,因此用户需要将 $SYSVIEW_INSTALL_DIR/Description/SYSVIEW_FreeRTOS.txt 替换成 $IDF_PATH/tools/esp_app_trace/SYSVIEW_FreeRTOS.txt。在使用上述链接配置 SystemView 序列化程序时,也应该使用该特定文件的内容。

配置 Impulse 实现双核跟踪

在安装好 Impulse 插件并确保 Impulse 能够在单独的选项卡中成功加载每个核心的跟踪文件后,用户可以添加特殊的 Multi Adapter 端口并将这两个文件加载到一个视图中。为此,用户需要在 Eclipse 中执行以下操作:

  1. 打开 Signal Ports 视图,前往 Windows > Show View > Other 菜单,在 Impulse 文件夹中找到 Signal Ports 视图并双击。

  2. Signal Ports 视图中,右键 Ports 并选择 Add,然后选择 New Multi Adapter Port

  3. 在打开的对话框中按下 add 按钮,选择 New Pipe/File

  4. 在打开的对话框中选择 SystemView Serializer 并设置 PRO CPU 跟踪文件的路径,按下 OK 保存设置。

  5. 对 APP CPU 的跟踪文件重复步骤 3 和 4。

  6. 双击创建的端口,会打开此端口的视图。

  7. 单击 Start/Stop Streaming 按钮,数据将会被加载。

  8. 使用 Zoom OutZoom InZoom Fit 按钮来查看数据。

  9. 有关设置测量光标和其他的功能,请参阅 Impulse 官方文档

备注

如果你在可视化方面遇到了问题(未显示数据或者缩放操作异常),可以尝试删除当前的信号层次结构,再双击必要的文件或端口。Eclipse 会请求创建新的信号层次结构。

Gcov(源代码覆盖率)

在 ESP-IDF 项目中,可以借助 espressif/esp_gcov 托管组件使用 gcov 进行代码覆盖率分析。


此文档对您有帮助吗?